GM Service Manual Online
For 1990-2009 cars only

Mirror Face Replacement - Outside Electrochromatic DDO

Removal Procedure


    Object Number: 284162  Size: MH
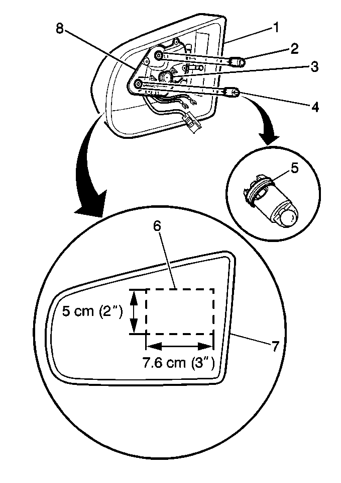
  1. Remove the mirror and plastic backing plate (7) by pulling the assembly out of the mirror housing (1).
  2. Verify that the springs (5) on the actuator shafts are not pushed down on the shafts.
  3. Ensure that the springs (5) are seated in the grooves.
  4. Disconnect the electrical connectors.

Installation Procedure


    Object Number: 284162  Size: MH
  1. Snap the actuator shafts into the power drive unit (8).
  2. Connect the electrical connectors.
  3. Rotate the actuator shafts in order to align the ears with the corresponding slots in the back side of the mirror face (7).
  4. Align the swivel (3) on the power drive unit (8) to the pivot points on the mirror backing plate.
  5. To avoid damaging electrochromatic mirrors, yellowing and/or silver delamination, pressure must not be applied to the center of the mirror. Place a 6 x 9 cm (2 x 3 in) block of wood in the indicated target area. This will distribute pressure evenly.
  6. Hold the block against the mirror face while you perform the following procedures:
  7. 6.1. Push in on the block (6) until you hear a snap.
    6.2. Tilt the mirror (7) toward the upper actuator shaft (2). Apply pressure until the ratchet sound stops.
    6.3. Tilt the mirror (7) toward the outside of the actuator shaft (4).
    6.4. Apply pressure on the block until the ratchet sound stops.
  8. Inspect the mirror for the proper operation. If the mirror is not operating properly, inspect the actuator shaft alignments again.