GM Service Manual Online
For 1990-2009 cars only
Makes
🢒
Cadillac
🢒
2000
🢒
Eldorado
🢒
Body and Accessories
🢒
Seats
🢒 Power Seats Schematics
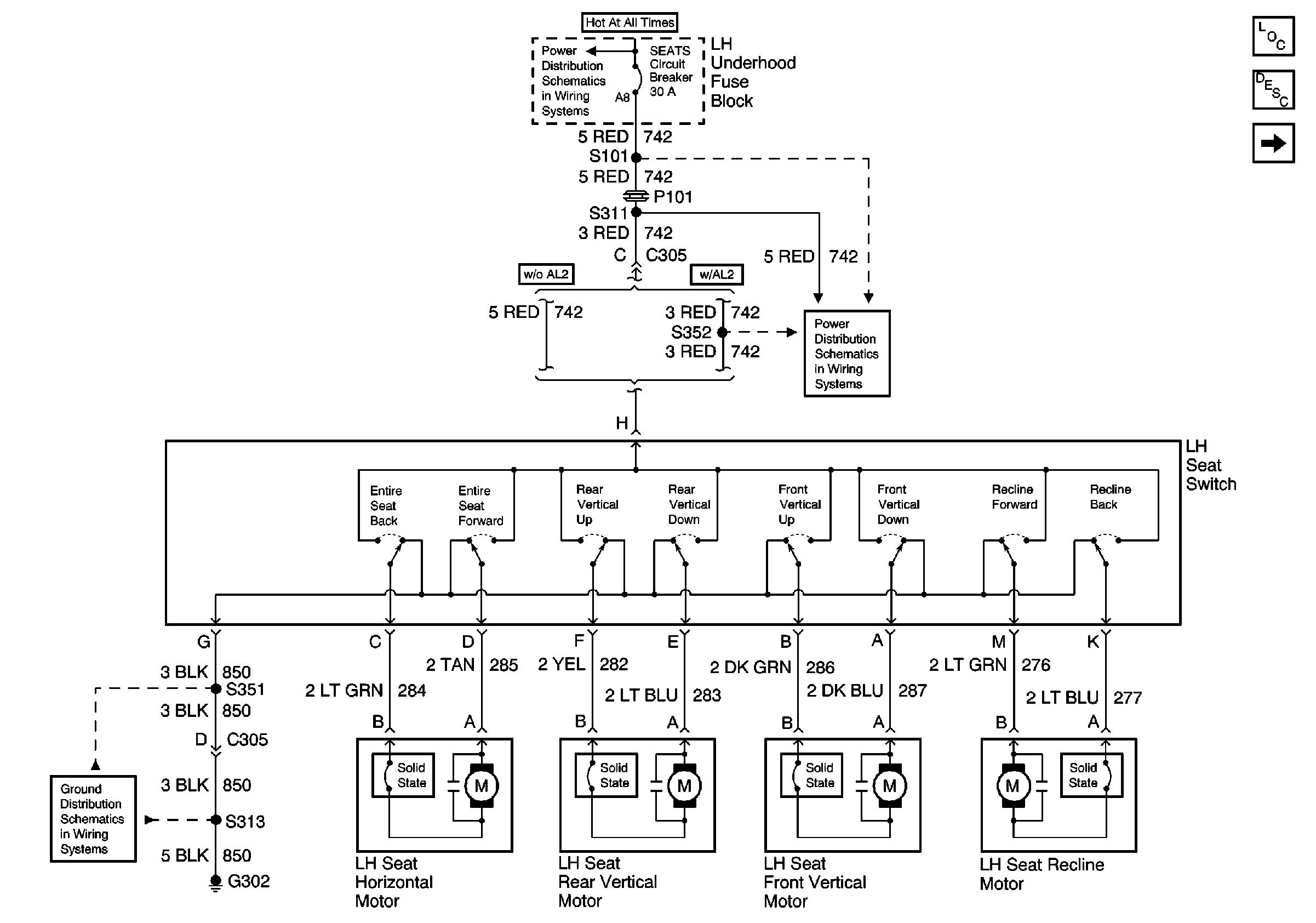
Left Power Seat w/o A45
Power Seat Systems Components
Power Seats Circuit Description
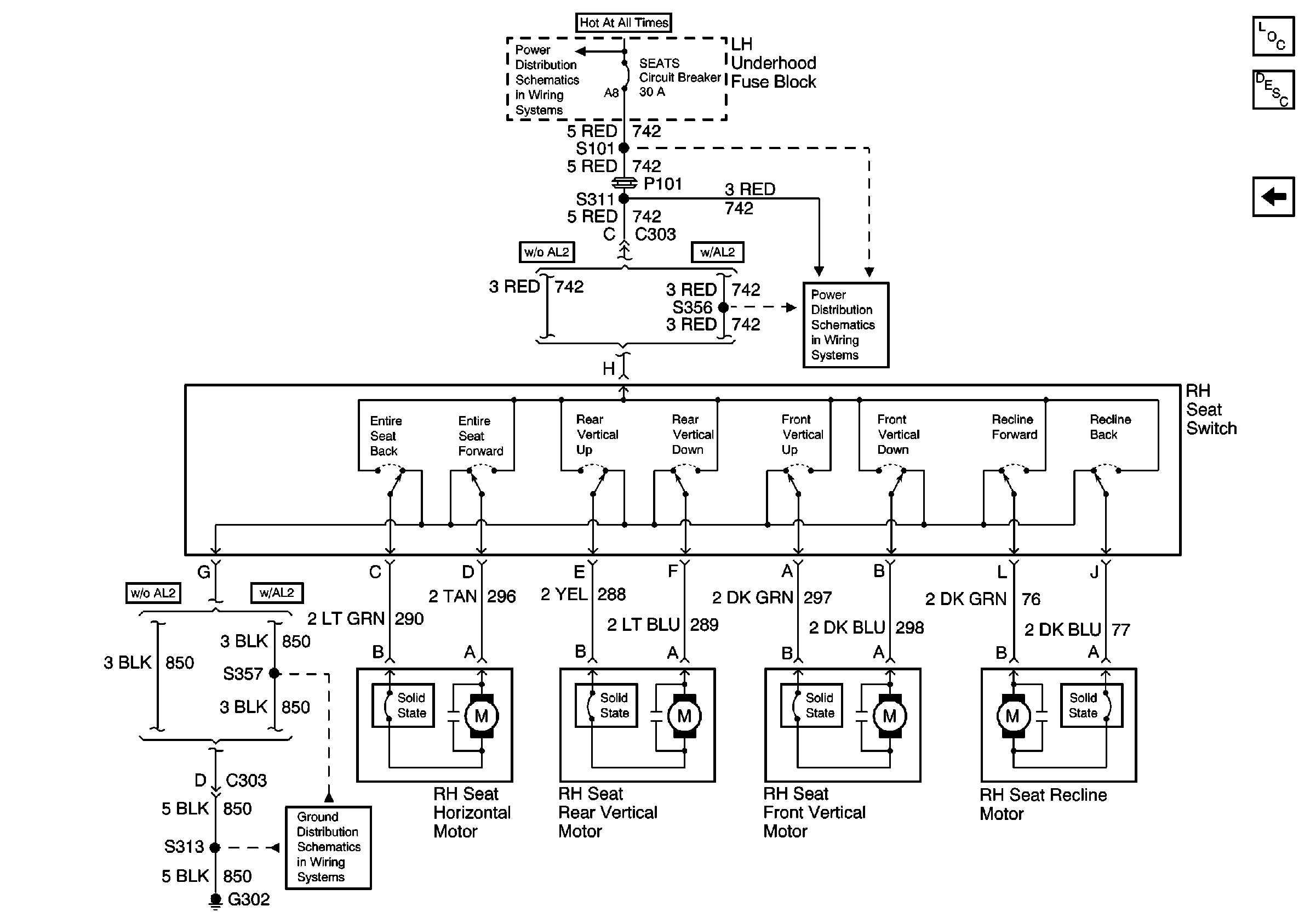
Right Power Seat
SEATS Circuit Breaker
SEATS Circuit Breaker
G302 (1 of 2)
Right Power Seat
Power Seat Systems Components
Power Seats Circuit Description
Left Power Seat w/o A45
SEATS Circuit Breaker
SEATS Circuit Breaker
G302 (1 of 2)