GM Service Manual Online
For 1990-2009 cars only
Makes
🢒
Cadillac
🢒
2000
🢒
Eldorado
🢒
Body and Accessories
🢒
Frame and Underbody
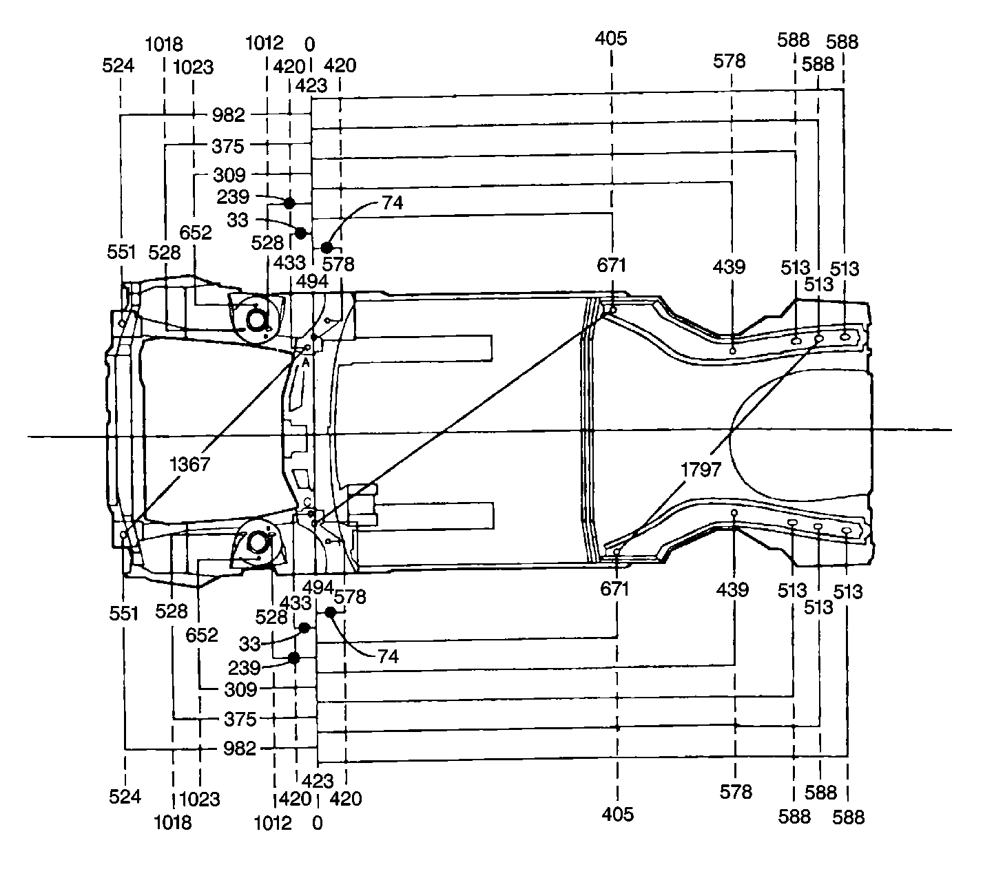
🢒 Dimensions - Frame
Dimensions - Frame Underbody
Dimensions - Frame Top View