GM Service Manual Online
For 1990-2009 cars only
Makes
🢒
Cadillac
🢒
2000
🢒
Eldorado
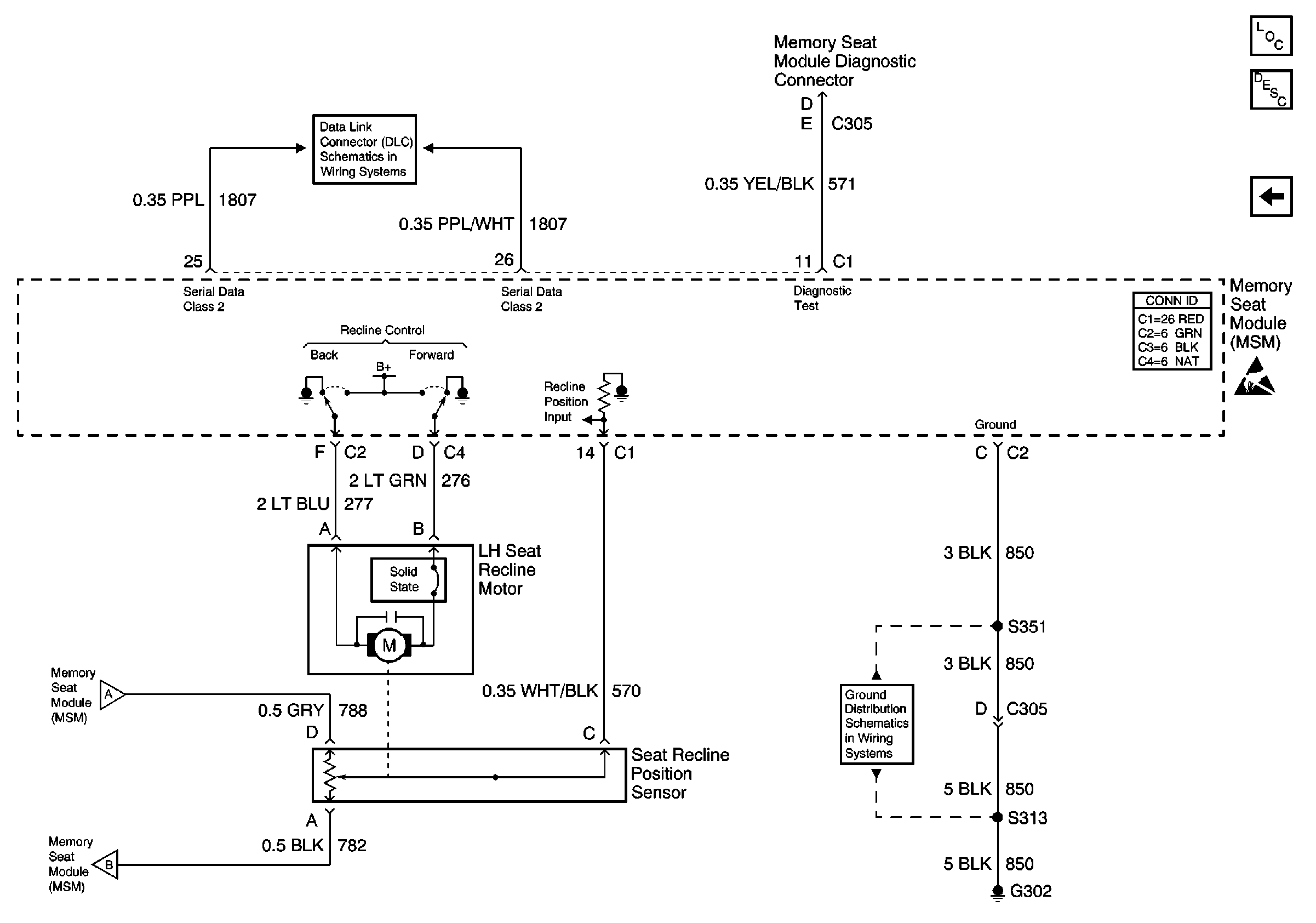
🢒 Memory Seat Module, Seat Recline Position Sensor and Motor
Memory Seat Module, Seat Recline Position Sensor and Motor
Memory Seat Module, Seat Recline Position Sensor and Motor
Power Seat Systems Components
Memory Seat Circuit Description
Seat Front Vertical, Seat Rear Vertical, and Seat Horizontal POSiTion Sensors and Motors
Class 2 (2 of 2)
Power Seat Connector End Views
Handling ESD Sensitive Parts Notice
G302 (1 of 2)
Seat Front Vertical, Seat Rear Vertical, and Seat Horizontal POSiTion Sensors and Motors
Seat Front Vertical, Seat Rear Vertical, and Seat Horizontal POSiTion Sensors and Motors