GM Service Manual Online
For 1990-2009 cars only
Makes
🢒
Cadillac
🢒
2000
🢒
Eldorado
🢒 Outside Power Mirrors (W/A45)
Outside Power Mirrors (W/A45)
Outside Power Mirrors (W/A45)
Power Door Systems Components
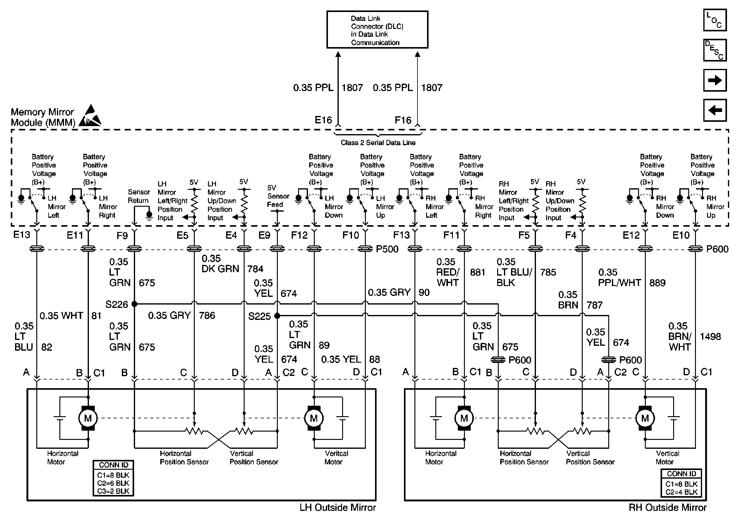
Outside Mirrors Circuit Description
Heated Mirrors
Power Mirror Switch (W/A45)
Class 2 (2 of 2)
Handling ESD Sensitive Parts Notice
Power Door Systems Connector End Views
Power Door Systems Connector End Views