GM Service Manual Online
For 1990-2009 cars only

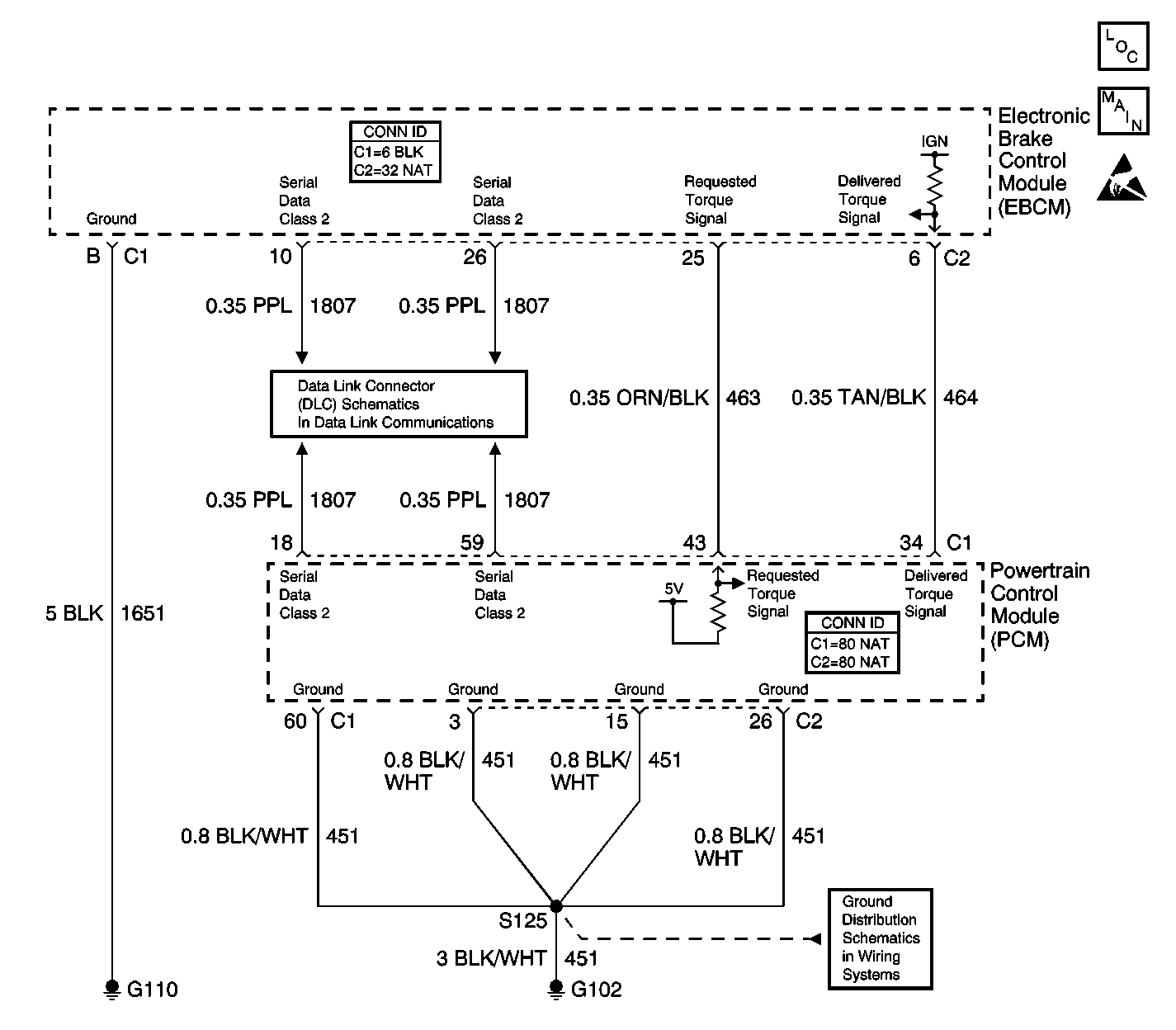
Object Number: 592768  Size: LF
ABS Components
Suspension Inputs, Class 2, Traction Control, and Variable Effort SteEring
Handling ESD Sensitive Parts Notice
Power, Ground, and Class 2 (1 of 2)
G102

Circuit Description

The EBCM and the PCM simultaneously control the traction control. The PCM sends a Delivered Torque message via a pulse width modulated (PWM) signal to the EBCM. The duty cycle of the signal is used to determine how much engine torque the PCM is delivering. Normal values are between 10 and 90 percent duty cycle. The signal should be at low values (around 10 percent) at idle and higher values under driving conditions. The EBCM supplies the pull up voltage that the PCM switches to ground to create the signal.

Conditions for Running the DTC

The ignition is ON.

Conditions for Setting the DTC

One of the following conditions occurs:

    • The delivered torque PWM signal is less than 5 percent duty cycle or greater than 95 percent duty cycle.
    • The EBCM does not receive a delivered torque PWM signal for a period of 7 seconds.

Action Taken When the DTC Sets

    • The EBCM disables the TCS for the duration of the ignition cycle.
    • The TRACTION CONTROL indicator turns ON.
    • The ABS remains functional.

Conditions for Clearing the DTC

    • The condition for the DTC is no longer present (the DTC is not current) and you used the scan tool Clear DTC function.
    • The condition for the DTC is no longer present (the DTC is not current) and you used the On-Board Diagnostics Clear DTC function.
    • The EBCM automatically clears the history DTC when a current DTC is not detected in 50 consecutive drive cycles.

Diagnostic Aids

The following conditions can cause this concern:

    • An open in the delivered torque circuit.
    • An short to ground or voltage in the delivered torque circuit.
    • A wiring problem, terminal corrosion, or poor connection in the delivered torque circuit.
    • A communication frequency problem.
    • A communication duty cycle problem.
    • The EBCM is not receiving information from the PCM.
    • Loose or corroded EBCM ground or PCM ground.

Test Description

The numbers below refer to the step numbers on the diagnostic table.

  1. This step uses the scan tool to determine whether the delivered torque signal has a valid duty cycle.

  2. This step measures whether the delivered torque signal has a valid duty cycle.

  3. This step measures whether the delivered torque signal has a valid frequency.

Step

Action

Value(s)

Yes

No

1

Did you perform the ABS Diagnostic System Check?

--

Go to Step 2

Go to Diagnostic System Check - ABS

2

Inspect the EBCM ground and PCM ground, making sure each ground is clean and torqued to the proper specification. Refer to Circuit Testing and Wiring Repairs in Wiring Systems.

Did you find and correct the condition?

--

Go to Step 13

Go to Step 3

3

  1. Install a scan tool.
  2. Start the engine.
  3. With the scan tool, observe the Delivered Torque parameter in the Delco/Bosch ABS/TCS ICCS (if equipped) data list.

Does the scan tool display within the specified range?

5-95%

Go to Testing for Intermittent Conditions and Poor Connections in Wiring Systems

Go to Step 4

4

  1. Turn OFF the ignition.
  2. Disconnect the EBCM harness connector.
  3. Install the J 39700 universal breakout box using the J 39700-25 cable adapter to the EBCM harness connector and the EBCM connector.
  4. Start the engine.
  5. Measure the DC duty cycle at the J 39700 universal pinout box between the delivered torque signal circuit and a good ground.

Does the duty cycle measure within the specified range?

5-95%

Go to Step 5

Go to Step 6

5

Measure the DC Hz at the J 39700 universal pinout box between the delivered torque signal circuit and a good ground.

Does the frequency measure within the specified range?

121-134 Hz

Go to Step 10

Go to Step 9

6

  1. Turn OFF the ignition.
  2. Disconnect the powertrain control module (PCM) harness connector.
  3. Turn ON the ignition, with the engine OFF.
  4. Measure the voltage from the delivered torque signal circuit to a good ground.

Does the voltage measure near the specified value?

B+

Go to Step 7

Go to Step 8

7

  1. Turn OFF the ignition.
  2. Disconnect the J 39700-25 cable adapter from the EBCM connector.
  3. Test the delivered torque signal circuit for a short to voltage. Refer to Circuit Testing and Wiring Repairs in Wiring Systems.

Did you find and correct the condition?

--

Go to Step 13

Go to Step 9

8

  1. Turn OFF the ignition.
  2. Disconnect the J 39700-25 cable adapter from the EBCM connector.
  3. Test the delivered torque signal circuit for the following conditions:
  4. • An open
    • A short to ground
    • A high resistance

Refer to Circuit Testing and Wiring Repairs in Wiring Systems.

Did you find and correct the condition?

--

Go to Step 13

Go to Step 10

9

Inspect for poor connections the harness connector of the PCM. Refer to Testing for Intermittent Conditions and Poor Connections and Connector Repairs in Wiring Systems.

Did you find and correct the condition?

--

Go to Step 13

Go to Step 11

10

Inspect for poor connections the harness connector of the EBCM. Refer to Testing for Intermittent Conditions and Poor Connections and Connector Repairs in Wiring Systems.

Did you find and correct the condition?

--

Go to Step 13

Go to Step 12

11

Important: The replacement PCM must be programmed.

Replace the PCM. Refer to Powertrain Control Module Replacement/Programming in Engine Controls - 4.6L.

Did you find and correct the condition?

--

Go to Step 13

--

12

Replace the EBCM. Refer to Electronic Brake Control Module Replacement .

Did you complete the repair?

--

Go to Step 13

--

13

  1. Use the scan tool in order to clear the DTCs.
  2. Operate the vehicle within the Conditions for Running the DTC as specified in the supporting text.

Does the DTC reset?

--

Go to Step 2

System OK