GM Service Manual Online
For 1990-2009 cars only

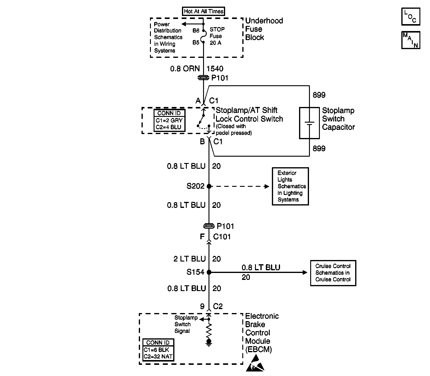
Object Number: 592769  Size: LF
ABS Components
PWR, GND, Stoplamp Switch, Solenoid Valves, and Pump Motor
Handling ESD Sensitive Parts Notice
LAMPS and IGN 1 Fuses
Turn Signal Flasher, Hazard Flasher, and Stoplamp/AT Shift Lock CONTrOL Switch
Cruise Control Module

Circuit Description

The EBCM uses this stoplamp switch circuit for various performance measures within ABS/TCS/VSES. The EBCM detects an open circuit in non-ABS braking. This DTC sets when the EBCM does not detect closure of the brake switch while the car is decelerating at level that indicates the brakes are applied. Several deceleration events without detection of a closed brake switch are required before this DTC is set.

Conditions for Running the DTC

The ABS conditions and the braking conditions are normal.

Conditions for Setting the DTC

The stoplamp switch remains open for 3 deceleration cycles.

Action Taken When the DTC Sets

    • The EBCM disables the TCS for the duration of the ignition cycle.
    • The TRACTION CONTROL indicator turns ON.
    • The ABS remains functional.

Conditions for Clearing the DTC

    • The condition for the DTC is no longer present (the DTC is not current) and you used the scan tool Clear DTC function.
    • The condition for the DTC is no longer present (the DTC is not current) and you used the On-Board Diagnostics Clear DTC function.
    • The EBCM automatically clears the history DTC when a current DTC is not detected in 50 consecutive drive cycles.

Diagnostic Aids

    • Diagnose any wheel speed sensor DTCs before continuing with the diagnosis of the DTC.
    • A deceleration cycle consists of the following sequence:
        1. The vehicle speed is greater than 24 km/h (15 mph).
        2. The vehicle decelerates more than 8 km/h/second (5 mph/second) for 2 seconds.
        3. The vehicle speed decelerates to less than 16 km/h (10 mph).
    • Verify proper stop lamp switch operation using the data list of the scan tool. As the brake is applied, the data list displays the stop lamp switch on within 2.54 cm (1 in) of travel.
    • Possible causes of this DTC are the following conditions:
       - An open stop lamp switch
       - The stop lamp switch is misadjusted
       - An open fuse
       - Circuit has a wiring problem, terminal corrosion, or poor connections
       - Erratic wheel speeds

Test Description

The numbers below refer to the step numbers on the diagnostic table.

  1. Tests the circuit for a change in states.

  2. Tests for proper operation of the circuit by bypassing the stoplamp/AT shift lock control switch. If the fuse in the jumper opens when you perform this test, the signal circuit of the stoplamp/AT shift lock control switch is shorted to ground.

Step

Action

Value(s)

Yes

No

1

Did you perform the ABS Diagnostic System Check?

--

Go to Step 2

Go to Diagnostic System Check - ABS

2

Press the brake pedal.

Do the brake lamps turn ON?

--

Go to Step 3

Go to Step 7

3

  1. Install a scan tool.
  2. Turn ON the ignition, with the engine OFF.
  3. With the scan tool, observe the Brake Light Switch parameter in the Delco/Bosch ABS/TCS ICCS (if equipped).
  4. Press the brake pedal.

Does the Brake Light Switch parameter change state?

--

Go to Diagnostic Aids

Go to Step 4

4

  1. Turn OFF the ignition.
  2. Inspect the stoplamp/AT shift lock control switch and adjust and/or calibrate if needed. Refer to Stop Lamp Switch Adjustment in Hydraulic Brakes.

Did you find and correct the condition?

--

Go to Step 14

Go to Step 5

5

  1. Turn OFF the ignition.
  2. Disconnect the stoplamp/AT shift lock control switch connector.
  3. Connect a 3 amp fused jumper wire between the battery feed of the stoplamp/AT shift lock control switch and the signal circuit of the stoplamp/AT shift lock control switch.
  4. Turn ON the ignition, with the engine OFF.
  5. With the scan tool, observe the Brake Switch - ABS Input parameter.

Does the scan tool display Applied?

--

Go to Step 11

Go to Step 6

6

Test the signal circuit of the stoplamp/AT shift lock control switch for an open between the EBCM and the splice of the stoplamp switch signal circuit. Refer to Circuit Testing and Wiring Repairs in Wiring Systems.

Did you find and correct the condition?

--

Go to Step 14

Go to Step 10

7

Test the battery feed circuit of the stoplamp/AT shift lock control switch for a short to ground or an open. Refer to Circuit Testing and Wiring Repairs in Wiring Systems.

Did you find and correct the condition?

--

Go to Step 14

Go to Step 8

8

Test the signal circuit of the stoplamp/AT shift lock control switch for an open between the stoplamp/AT shift lock control switch and the splice of the stoplamp switch signal circuit. Refer to Circuit Testing and Wiring Repairs in Wiring Systems.

Did you find and correct the condition?

--

Go to Step 14

Go to Step 9

9

Test the signal circuit of the stoplamp/AT shift lock control switch for a short to ground. Refer to Circuit Testing and Wiring Repairs in Wiring Systems.

Did you find and correct the condition?

--

Go to Step 14

Go to Step 10

10

Inspect for poor connections at the harness connector of the EBCM. Refer to Testing for Intermittent Conditions and Poor Connections and Connector Repairs in Wiring Systems.

Did you find and correct the condition?

--

Go to Step 14

Go to Step 12

11

Inspect for poor connections at the harness connector of the stoplamp/AT shift lock control switch. Refer to Testing for Intermittent Conditions and Poor Connections and Connector Repairs in Wiring Systems.

Did you find and correct the condition?

--

Go to Step 14

Go to Step 13

12

Replace the EBCM. Refer to Electronic Brake Control Module Replacement .

Did you complete the replacement?

--

Go to Step 14

--

13

Replace the stoplamp/AT shift lock control switch. Refer to Stop Lamp Switch Replacement in Hydraulic Brakes.

Did you complete the replacement?

--

Go to Step 14

--

14

  1. Use the scan tool in order to clear the DTCs.
  2. Operate the vehicle within the Conditions for Running the DTC as specified in the supporting text.

Does the DTC reset?

--

Go to Step 2

System OK