GM Service Manual Online
For 1990-2009 cars only

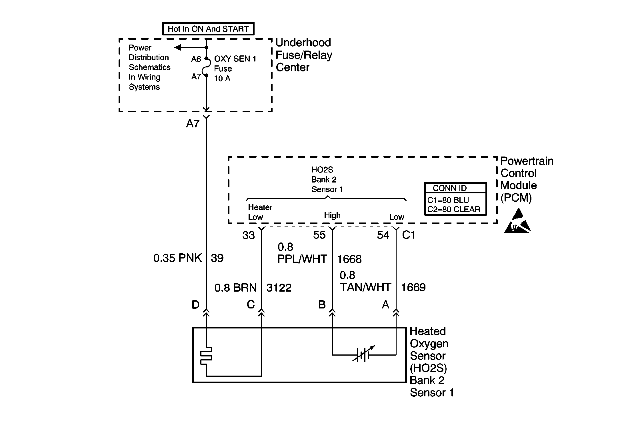
Object Number: 602217  Size: MF
Engine Controls Component Views
Heated Oxygen Sensors
OBD II Symbol Description Notice
Handling ESD Sensitive Parts Notice

Circuit Description

The heated oxygen sensor (HO2S) is a sensor used to detect oxygen-content in the exhaust. The PCM supplies the sensor with a signal circuit and a ground circuit. The PCM supplies a bias voltage between the circuits. The sensor varies the voltage based on the oxygen content in the exhaust. When the exhaust stream is lean (more oxygen), the sensor produces a low voltage signal. When the exhaust stream is rich (less oxygen), the sensor produces a high voltage signal.

The PCM monitors the HO2S sensor activity to determine a time ratio for the lean to rich and rich to lean switches. A lean to rich switch occurs when the HO2S signal voltage changes from less than 325 mV to more than 625 mV. A rich to lean switch occurs when the HO2S signal voltage switches from more than 625 mV to less than 325 mV. The PCM counts the number of lean to rich and rich to lean switches for 100 seconds. The PCM records the amount of time required to complete all transitions. With this information, the PCM determines an average transition time for the lean to rich switches, and the rich to lean switches. By dividing the rich to lean time by the lean to rich time, the PCM determines an average transition time ratio. If the PCM detects an average transition time ratio for HO2S Bank 2 Sensor 1 that is out of range, DTC P1154 will set.

Conditions for Running the DTC

    • No misfire, Injector, MAF, TP, EVAP, IAT, MAP, ECT, AIR (if equipped), HO2S Bank 2, sensor DTC's set
    • DTC P0155 not set
    • DTC P1153 not set
    • EGR flow diagnostic test inactive
    • Catalyst diagnostic test inactive
    • AIR diagnostic test inactive
    • Closed loop fuel enabled
    • System voltage between 9 and 18 volts
    • Engine running more than 3 minutes
    • Engine coolant temperature more than 75°C (167°F)
    • Engine speed between 1200 and 2800 RPM
    • MAF between 15.0 and 35.0 gps
    • TP more than 3 percent
    • Transmission not in Park, Reverse or Neutral
    • Above conditions met for 3.0 seconds

Conditions for Setting the DTC

The ratio of average transition times is more than 3.9 or less than 0.50.

Action Taken When the DTC Sets

    • The PCM illuminates the malfunction indicator lamp (MIL) during the second consecutive trip in which the diagnostic test runs and fails.
    • The PCM stores the conditions present when the DTC set as Freeze Frame/Failure Records data.

Conditions for Clearing the MIL/DTC

    • The PCM will turn the MIL OFF after the third consecutive trip in which the diagnostic runs and passes.
    • The history DTC will clear after 40 consecutive warm-up cycles have occurred without a malfunction.
    • The DTC can be cleared by using the scan tool Clear DTC Information function.

Diagnostic Aids

If the condition is intermittent, refer to Intermittent Conditions in Symptoms.

Test Description

The numbers below refer to the step numbers on the diagnostic table.

  1. Testing if other possible causes of this DTC have already been diagnosed.

  2. Diagnose other DTCs first because they may be the cause of this DTC setting.

  3. With the engine running warm, coolant at least 85°C (185°F) and at fast idle, the oxygen sensor voltage should rapidly swing above 0.60 volt and below 0.30 volt.

  4. Testing if the oxygen sensor voltage is swinging between rich and lean very slowly, or not at all.

  5. Testing for causes of oxygen sensor failure. If the sensor is replaced without finding the cause of contamination, premature failure of the new sensor may result.

Step

Action

Value(s)

Yes

No

1

Did you perform the Powertrain On Board Diagnostic (OBD) System Check?

--

Go to Step 2

Go to Powertrain On Board Diagnostic (OBD) System Check

2

Were you sent here from another DTC?

--

Go to Step 4

Go to Step 3

3

Are any other DTCs set?

--

Go to Diagnostic Trouble Code (DTC) List/Type

Go to Step 4

4

  1. Start the engine.
  2. Operate the vehicle until the engine reached normal operating temperature.
  3. View both the Engine Speed and the Bank 2 Sensor 1 display.
  4. Operate engine at 2000 RPM for two minutes.

Does the HO2S voltage rapidly swing above and below the range specified?

325-625 mV

Go to Step 5

Go to Step 6

5

With engine running at 2000 RPM, observe the scan tool display Loop Status.

Does the display indicate Closed?

--

Go to Diagnostic Aids

Go to Step 9

6

Does the HO2S voltage remain between the specified values longer than it swings outside this range?

325-625 mV

Go to Step 9

Go to Step 7

7

  1. Test for poor connections at the PCM. Refer to Testing for Intermittent Conditions and Poor Connections in Wiring Systems.
  2. If a condition is found, repair as necessary. Refer to Wiring Repairs in Wiring Systems.

Did you find and correct the condition?

--

Go to Step 10

Go to Step 8

8

  1. Test for poor connections at the HO2S. Refer to Testing for Intermittent Conditions and Poor Connections in Wiring Systems.
  2. If a condition is found, repair as necessary. Refer to Wiring Repairs in Wiring Systems.

Did you find and correct the condition?

--

Go to Step 10

Go to Step 9

9

Important: Before replacing the oxygen sensor, the cause of contamination must be found and corrected. Test for the following items:

  1. Incorrect/contaminated fuel
  2. Incorrect gasket sealer (RTV)
  3. Over rich operation

Replace HO2S. Refer to Heated Oxygen Sensor Replacement - Bank 2 .

Is the action complete?

--

Go to Step 10

--

10

  1. Review and record the scan tool Fail Records Data.
  2. Clear the DTCs.
  3. Operate the vehicle within the parameters listed in the Conditions For Running the DTC.
  4. With the scan tool, monitor the Specific DTC Information for DTC P1154 until the test runs.

Does the scan tool indicate that DTC P1154 passed?

--

System OK

Go to Step 2