GM Service Manual Online
For 1990-2009 cars only

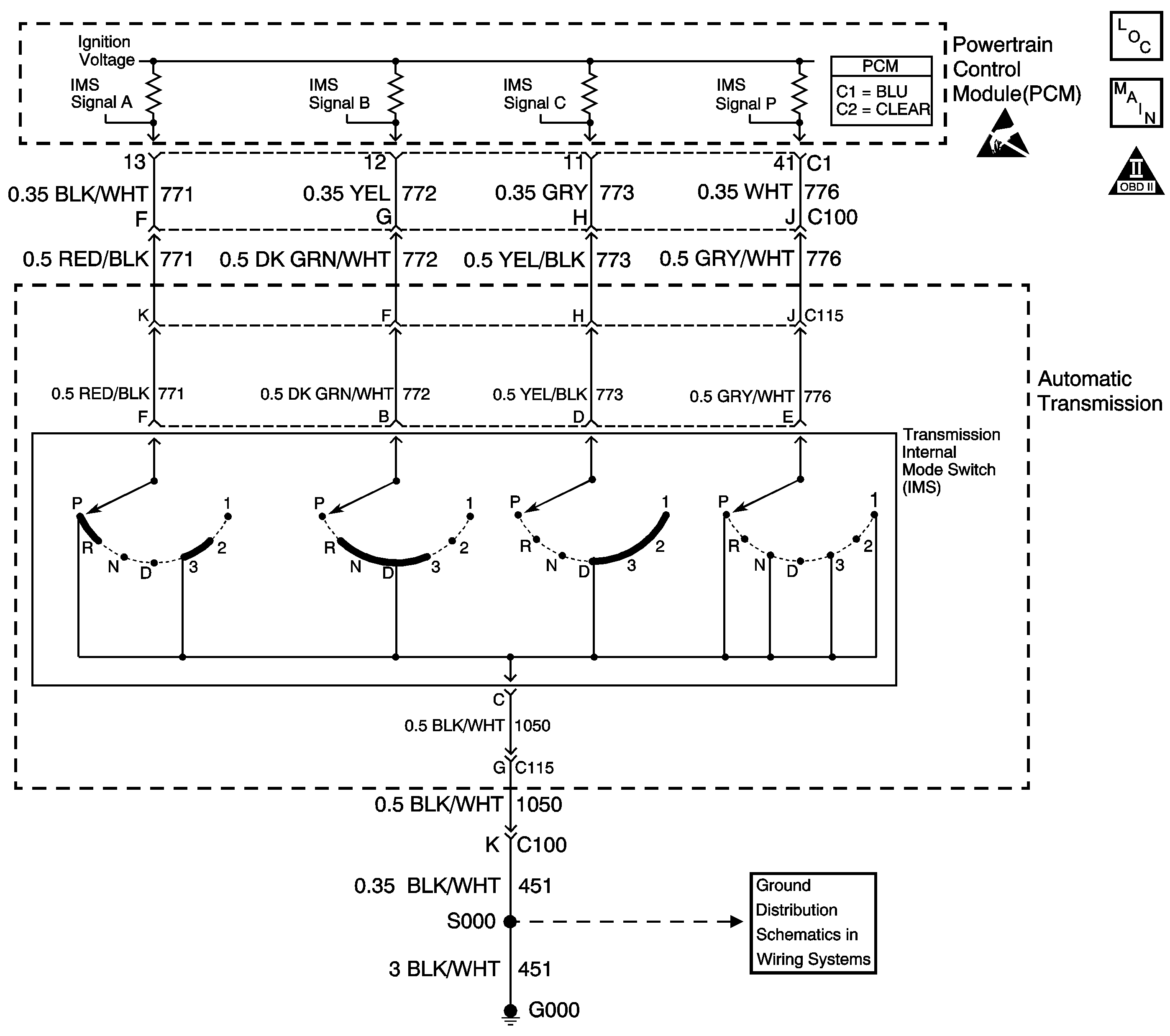
Object Number: 596853  Size: LF
Automatic Transmission Components
Automatic Transmission Controls Schematics
OBD II Symbol Description Notice
Handling ESD Sensitive Parts Notice

Circuit Description

The transmission internal mode switch (IMS) is a sliding contact switch attached to the lower control valve body, within the transmission. The manual valve link assembly then connects the IMS to the manual valve. The four inputs to the PCM from the IMS indicate which position is selected by the transmission selector lever. This information is used for engine controls as well as determining the transmission shift patterns. The input voltage level at the PCM is high (ignition voltage) when the IMS is open and low when the switch is closed to ground. The state of each input is available for display on the scan tool. The four input parameters represented are Mode A , Mode B, Mode C and Mode P (Parity).

If the PCM detects an IMS transitional state between D4 and D3 while the vehicle is in motion, then DTC P1820 sets. DTC P1820 is a type B DTC.

Conditions for Running the DTC

    • The system voltage is 8-18 volts.
    • The engine run time is greater than 5 seconds.
    • The engine is not in fuel cut off.
    • The engine torque is 40-200 N·m(30-148 lb ft)

Conditions for Setting the DTC

    • The IMS indicates PARK for 2 seconds, then;
    • The IMS indicates a transitional state between D4 and D3 for 5 seconds.

Action Taken When the DTC Sets

    • The PCM illuminates the malfunction indicator lamp (MIL) during the second consecutive trip in which the Conditions for Setting the DTC are met.
    • The PCM commands maximum line pressure.
    • The PCM assumes a D4 shift pattern.
    • The PCM freezes transmission adapt functions.
    • The PCM records the operating conditions when the Conditions for Setting the DTC are met. The PCM stores this information as Freeze Frame and Failure Records.
    • The PCM stores DTC P1820 in PCM history during the second consecutive trip in which the Conditions for Setting the DTC are met.

Conditions for Clearing the MIL/DTC

    • The PCM turns OFF the MIL during the third consecutive trip in which the diagnostic test runs and passes.
    • A scan tool can clear the MIL/DTC.
    • The PCM clears the DTC from PCM history if the vehicle completes 40 warm-up cycles without an emission-related diagnostic fault occurring.
    • The PCM cancels the DTC default actions when the fault no longer exists and/or the ignition switch is OFF long enough in order to power down the PCM.

Diagnostic Aids

    • Inspect the connectors at the PCM, the IMS and all other circuit connecting points for an intermittent condition. Refer to Testing for Intermittent Conditions and Poor Connections in Wiring Systems.
    • Inspect the circuit wiring for an intermittent condition. Refer to Testing for Electrical Intermittents in Wiring Systems.

Test Description

The numbers below refer to the step numbers on the diagnostic table.

  1. This step determines if the fault is internal or external to the transmission.

  2. This step determines if the engine wiring harness circuit is at fault or the PCM.

  3. This step determines if the automatic transmission wiring harness is at fault or the IMS.

DTC P1820 Internal Mode Switch Circuit A Low

Step

Action

Value(s)

Yes

No

1

Did you perform the Powertrain Diagnostic System Check ?

--

Go to Step 2

Go to Powertrain On Board Diagnostic (OBD) System Check

2

  1. Install a Scan Tool .
  2. Turn ON the ignition, with the engine OFF.
  3. Important: Before clearing the DTC, use the Scan Tool in order to record the Freeze Frame and Failure Records. Using the Clear Info function erases the Freeze Frame and Failure Records from the PCM.

  4. Record the DTC Freeze Frame and Failure Records.
  5. Clear the DTC.
  6. Select IMS on the Scan Tool .
  7. Place the gear select lever in D4.

Does the Scan Tool IMS display Drive 4?

--

Go to Diagnostic Aids

Go to Step 3

3

  1. Turn OFF the ignition.
  2. Disconnect the AT inline 20-way connector (additional DTCs may set).
  3. Turn ON the ignition, with the engine OFF.
  4. Select IMS A/B/C/P on the Scan Tool .

Is signal A LOW?

--

Go to Step 4

Go to Step 5

4

Test the signal circuit A (CKT 771) of the IMS for a short to ground between the PCM connector C1 and the AT inline 20-way connector.

Refer to Circuit Testing and Wiring Repairs in Wiring Systems.

Did you find and correct the condition?

--

Go to Step 9

Go to Step 8

5

  1. Turn OFF the ignition.
  2. Reconnect the AT inline 20-way connector.
  3. Disconnect the automatic transmission wiring harness at the IMS.
  4. Turn ON the ignition, with the engine OFF.
  5. Select IMS A/B/C/P on the Scan Tool .

Is signal A LOW?

--

Go to Step 6

Go to Step 7

6

Important: The automatic transmission wiring harness consists of two separate harnesses, the Automatic Transmission Wiring Harness Assembly (GM P/N 15320475) and the Automatic Transmission Wiring Extension Harness Assembly (GM P/N 15320478). In order to avoid the unnecessary replacement of parts, determine which harness contains the fault and replace only that harness.

Replace the automatic transmission wiring harness.

Refer to Transmission Overhaul in the 4T80-E section of the Transmission Unit Repair Manual.

Did you complete the replacement?

--

Go to Step 9

--

7

Replace the transmission internal mode switch.

Refer to Transmission Overhaul in the 4T80-E section of the Transmission Unit Repair Manual.

Did you complete the replacement?

--

Go to Step 9

--

8

Replace the PCM.

Refer to Powertrain Control Module Replacement/Programming in Engine Controls.

Did you complete the replacement?

--

Go to Step 9

--

9

Perform the following procedure in order to verify the repair:

  1. Select DTC.
  2. Select Clear Info.
  3. Operate the vehicle under the following conditions:
  4. • Drive the vehicle in D4.
    • The system voltage is 8-18 volts.
    • The engine torque is 40-200 N·m (30-148 lb ft).
    • IMS signal A must be HI (ignition voltage input) for 0.025 seconds.
  5. Select Specific DTC. Enter DTC P1820.

Has the test run and passed?

--

System OK

Go to Step 1