GM Service Manual Online
For 1990-2009 cars only

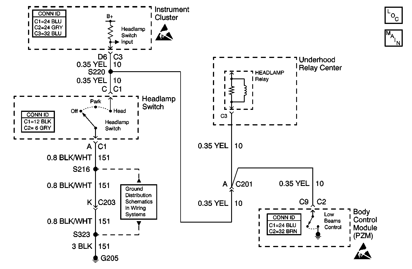
Object Number: 590342  Size: MF
Lighting Systems Components
Headlamp Switch and Headlamp Control
G205
Handling ESD Sensitive Parts Notice
Handling ESD Sensitive Parts Notice

Circuit Description

The PZM may command the low beams through a discrete output to the low beam relay. Grounding this output also grounds the headlamps input to the instrument cluster.

A short to ground is tested for under the following conditions:

    • Exterior lamp power is active.
    • Low beam output is inactive.
    • Headlamp switch is not active.
    • DTC B1970 is not active.

A short to the battery is tested for under the following conditions:

    • Exterior lamp power is active.
    • Low beam output is active.
    • DTC B1970 is not active.

Conditions for Setting the DTC

The commanded state of the low beams does not match the feedback state.

Action Taken When the DTC Sets

The PZM continues to command the state requested until the instrument cluster revokes the request.

Conditions for Clearing the DTC

The commanded state matches the feedback state.

When the measurements are requested in the diagnostic table below, use the J 39200 Digital Multimeter (DMM) with the correct terminal adapter from the J 35616 .

When a proper connection is requested, refer to Testing for Intermittent Conditions and Poor Connections in Wiring Systems.

When a wire, connector or terminal repair is requested, use the J-38125 . Refer to Wiring Repairs in Wiring Systems.

Step

Action

Value(s)

Yes

No

1

Did you perform the Lighting System Diagnostic System Check?

--

Go to Step 2

Go to Diagnostic System Check - Lighting Systems

2

  1. Connect the scan tool .
  2. Turn the ignition switch to the ON position.
  3. Turn the headlamp switch to the OFF position.
  4. Set the scan tool to BCM TEST, LIGHTS, LOW BEAM.
  5. Use a scan tool in order to switch the low beams ON then OFF.

Are the headlamps OFF?

--

Go to Step 3

Go to Step 4

3

Turn the headlamp switch ON.

Are the headlamps on?

--

Go to Step 5

Go to Step 6

4

  1. Disconnect connector C201.
  2. Use the scan tool in order to command the low beams OFF.

Are the headlamps OFF?

--

Go to Step 7

Go to Step 8

5

Cycle the ignition.

Is DTC B2472 now history?

--

Go to Step 12

Go to Step 11

6

Inspect for an open in CKT 10 (YEL) between connector C201 and the headlamp relay. Refer to Testing for Continuity in Wiring Systems.

Is CKT 10 OK?

--

Go to Step 16

Go to Step 17

7

  1. Disconnect the headlamp switch.
  2. Measure the resistance from the headlamp switch connector C1 terminal C (YEL) to connector C1 terminal A.

Is the resistance less than or equal to the specified value?

5 ohms

Go to Step 10

Go to Step 9

8

Inspect for a short to ground in CKT 10 (YEL) between Underhood Relay Center and Body Control Module (PZM). Refer to Testing for Short to Ground in Wiring Systems.

Is CKT 10 OK?

--

Go to Step 15

Go to Step 17

9

Inspect for a short to ground in CKT 10 (YEL) between Instrument Cluster, Headlamp Switch, and C201. Refer to Testing for Short to Ground in Wiring Systems.

Is CKT 10 OK?

--

Go to Step 14

Go to Step 17

10

Replace the headlamp switch. Refer to Headlamp Switch Replacement in Instrument Panel, Gauges and Console.

Is the repair complete?

--

Go to Step 18

--

11

Inspect for an open in CKT 10 (YEL). Refer to Testing for Continuity in Wiring Systems.

Is CKT 10 OK?

--

Go to Step 15

Go to Step 17

12

Repair the intermittent short to B+ in CKT 10 (YEL). Refer to Wiring Repairs in Wiring Systems.

Is the repair complete?

--

Go to Step 18

--

13

Replace the headlamp relay.

Is the repair complete?

--

Go to Step 18

--

14

Replace the IPC. Refer to Instrument Cluster Replacement in Instrument Panel, Gauges and Console.

Is the repair complete?

--

Go to Step 18

--

15

Replace the PZM. Refer to Body Control Module Replacement inBody Control Systems.

Is the repair complete?

--

Go to Step 18

--

16

Inspect for an open in CKT 352 (WHT) between the PZM connector C2 terminal C16 and the headlamp relay. Refer to Testing for Continuity in Wiring Systems.

Is CKT 352 OK?

--

Go to Step 13

Go to Step 17

17

Repair the suspect wiring. Refer to Wiring Repairs in Wiring Systems.

Is the repair complete?

--

Go to Step 18

--

18

  1. Use the scan tool in order to clear the DTCs.
  2. Operate the vehicle within the Conditions for Running the DTC as specified in the supporting text.

Does the DTC reset?

--

Go to Step 2

System OK.