GM Service Manual Online
For 1990-2009 cars only

Object Number: 593067  Size: MF
Power Seat Systems Components
Seat Front Vertical, Seat Rear Vertical, and Seat Horizontal POSiTion Sensors and Motors
SEATS Circuit Breaker
SEATS Circuit Breaker
Power Seat Connector End Views
Handling ESD Sensitive Parts Notice

Circuit Description

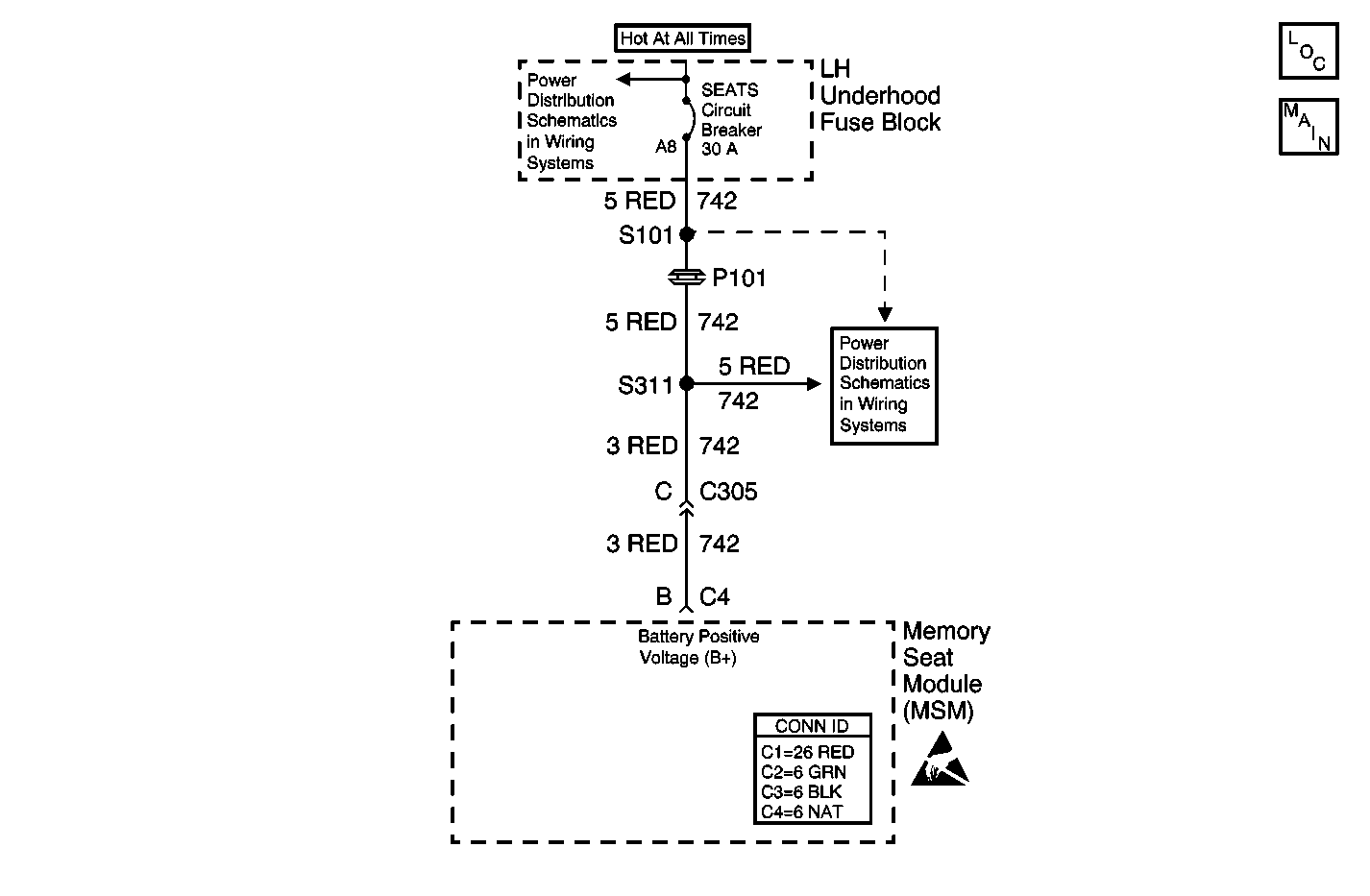
The memory seat module (MSM) is supplied battery positive voltage (B+) at connector C4 cavity B (RED) from the seats circuit breaker in the left underhood fuse block. This battery positive voltage (B+) supply powers the seat motors.

Conditions for Setting the DTC

The dirty battery positive voltage (B+) falls out of the range of 9.0-15.5 volts.

Conditions for Clearing the DTC

The dirty battery positive voltage (B+) is within a valid operating range during the last monitoring cycle.

Diagnostic Aids

  1. Test the battery for proper voltage.
  2. If the battery voltage is OK, test for an open in CKT 742 (RED) between S311 and the memory seat module (MSM).