GM Service Manual Online
For 1990-2009 cars only

Object Number: 585669  Size: MF
SIR Components
SIR Schematics
SIR Handling Caution
Handling ESD Sensitive Parts Notice
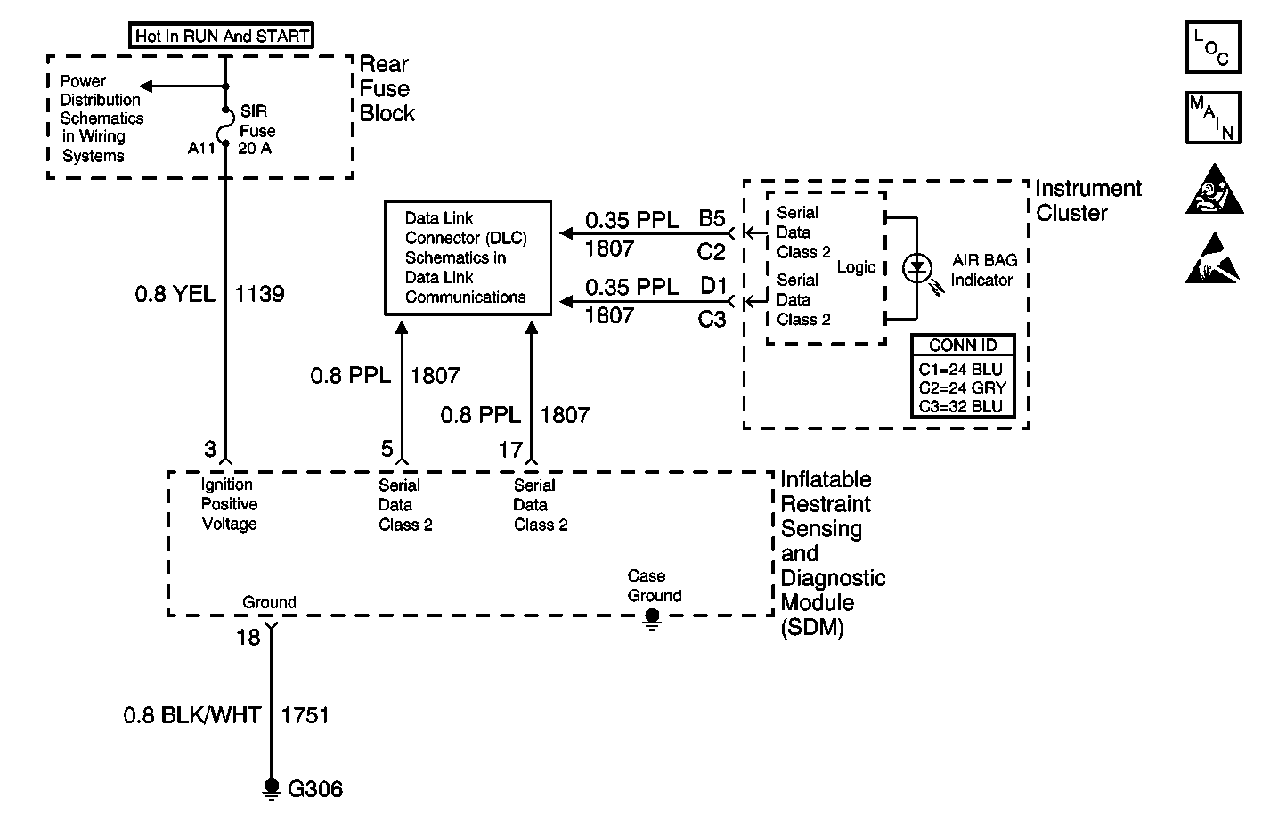
Data Link Connector Schematics
SIR, RSS, and TURN Fuses

Circuit Description

When you turn ON the ignition, the Instrument Panel Cluster (IPC) flashes the AIR BAG warning lamp 7 times. If no SIR DTCs are present, the inflatable restraint sensing and diagnostic module (SDM) then commands the IPC to turn the AIR BAG warning lamp OFF by sending a message over the Class 2 serial data line. Then the IPC returns a message to the SDM that the AIR BAG warning lamp is OFF.

Conditions for Setting the DTC

If the SDM receives the wrong response from the IPC after sending the AIR BAG warning lamp message 6 times, the SDM will set DTC B1163. A loss of State Of Health (SOH) DTC U1096 or U1255 is also set. The test for DTC B1163 is run asynchronously during continuous monitoring.

Action Taken When the DTC Sets

The SDM sets DTC B1163 and either DTC U1096 or U1255.

Conditions for Clearing the DTC

    • The ignition is turned OFF.
    • The SDM receives the correct IPC message response over the Serial Data Line Class 2.
    • You issue a scan tool CLEAR CODES command.
    • Once 250 malfunction free ignition cycles have occurred.

Diagnostic Aids

The following failures could cause a history DTC B1163 to set.

    • The lost of battery voltage or ground to the IPC when the ignition switch in the ON position.
    • An intermittent short to battery or ground in the Class 2 serial data circuits.
    • An intermittent open to battery and/or ground in the Class 2 serial data circuits.

If any of the above conditions are found refer to Testing for Intermittent Conditions and Poor Connections in Wiring Systems.

The State Of Health (SOH) DTCs will likely be set with DTC B1163 when communication is lost between the IPC and the SDM. Check that the IPC is functioning properly.

Step

Action

Value(s)

Yes

No

1

Did you perform the Diagnostic System Check?

--

Go to Step 2

Go to Diagnostic System Check - SIR

2

  1. Malfunctions within the Serial Data Line Class 2 will set this DTC. These malfunctions are addressed in the SIR Diagnostic System Check.
  2. Turn ON the ignition, with engine OFF.
  3. Clear the SIR DTCs.
  4. Request the SIR DTC Display.

Is DTC B1163 set?

--

Go to Diagnostic System Check - SIR

--