GM Service Manual Online
For 1990-2009 cars only

Tools Required

    • J 34013-B Strut Compressor
    • J 34013-38 Alignment Rod
    • J 34013-20 Damper Rod Clamp

Removal Procedure


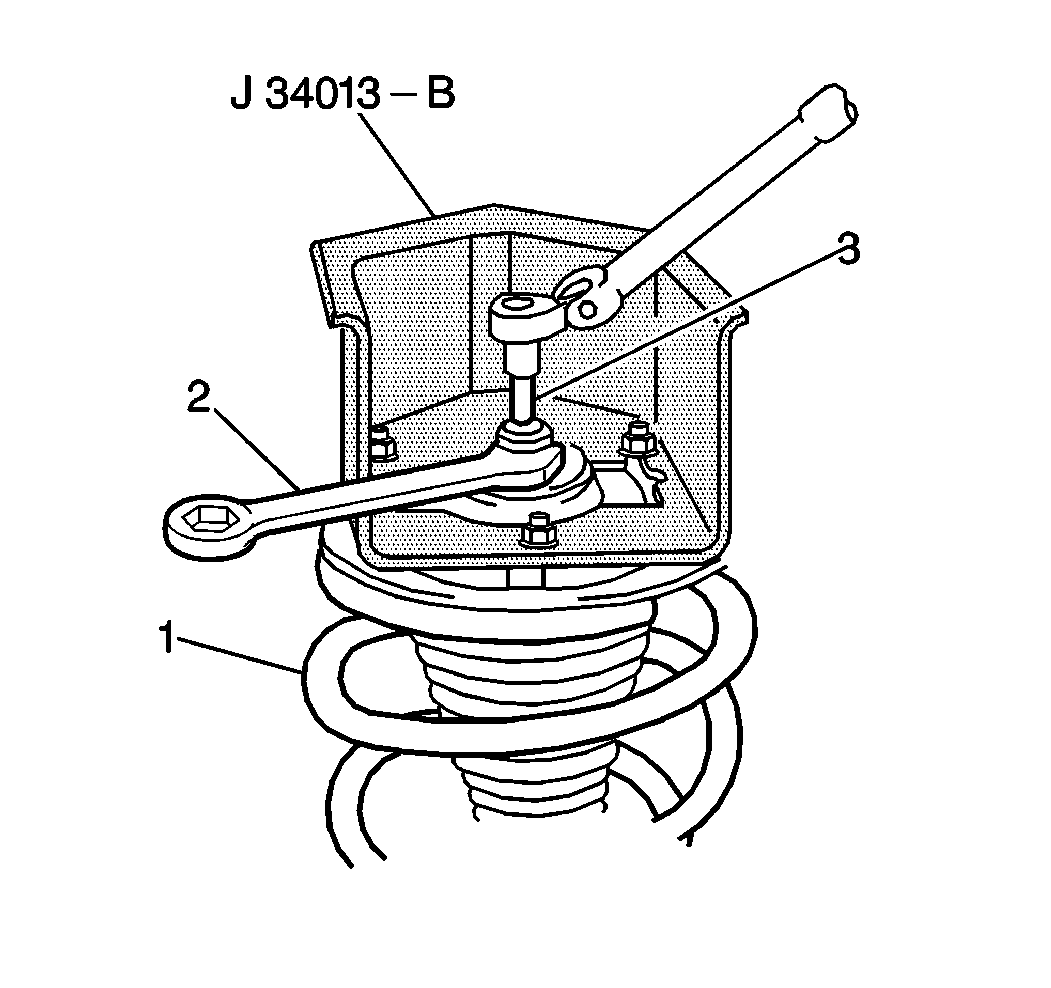
    Object Number: 143999  Size: SH

    Notice: Care should be taken to avoid chipping or cracking the spring coating when handling the front suspension coil spring. Failure to observe this notice may result in spring breakage.

    Important: Remove the strut from the vehicle in order to perform this procedure. Refer to Strut Assembly Replacement .

  1. Install J 34013-B to J 34013-20 if a wall mounted version is not available.
  2. Install the strut (1) into the J 34013-B .
  3. • Tighten the nuts (2) flush with the strut compressor.
    • Install the locking pins (4) through the strut.
  4. Turn the compressor forcing screw (3) until the spring compresses slightly.

  5. Object Number: 144001  Size: SH
  6. Use a socket (3) in order to hold the strut shaft from turning.
  7. Remove the 24 mm strut shaft nut using a 24 mm wrench (2).


    Object Number: 144005  Size: SH
  8. Install the J 34013-38 in order to help guide the strut shaft out of the assembly.

  9. Object Number: 143999  Size: SH

    Notice: Care should be taken to avoid chipping or cracking the spring coating when handling the front suspension coil spring. Failure to observe this notice may result in spring breakage.

  10. Loosen the compressor screw (3) while guiding the strut shaft (1) out of the assembly. Continue loosening the compressor screw until the strut and the spring may be removed.

Installation Procedure


    Object Number: 144008  Size: SH
  1. Install the strut in the J 34013-B with the J 34013-20 clamped on the strut shaft (1) in the strut compressor.
  2. Important: 

       • Ensure that the flat on the upper spring seat faces out from the centerline of the vehicle. When you mount the spring seat in the strut compressor, ensure that the spring seat faces in the same direction as the steering knuckle mounting flange.
       • If the bearing had been removed from the upper spring seat, install the bearing into the upper spring seat in the same orientation as it had been. Also, install the bearing in the spring seat before attaching to the strut mount.

  3. Install the spring over the strut in the correct position.
  4. Move the assembly upright in the strut compressor.
  5. Install the upper locking pin (2).

  6. Object Number: 144005  Size: SH
  7. Install the rod J 34013-38 into the strut guide strut shaft.
  8. Start turning the compressor screw clockwise on the J 34013-B , while guiding the J 34013-38 to the center strut shaft in the assembly.

  9. Object Number: 144012  Size: SH
  10. Continue to turn the compressor forcing screw (3) on the strut compressor until the strut shaft threads are visible through the top of the strut assembly.
  11. Install the washer and the nut.
  12. Notice: Use the correct fastener in the correct location. Replacement fasteners must be the correct part number for that application. Fasteners requiring replacement or fasteners requiring the use of thread locking compound or sealant are identified in the service procedure. Do not use paints, lubricants, or corrosion inhibitors on fasteners or fastener joint surfaces unless specified. These coatings affect fastener torque and joint clamping force and may damage the fastener. Use the correct tightening sequence and specifications when installing fasteners in order to avoid damage to parts and systems.

  13. Remove the clamp J 34013-20 from the strut shaft.
  14. Tighten
    Tighten the strut mount nut to 75 N·m (55 lb ft) while holding the strut shaft with the socket.

  15. Remove the strut from the strut compressor.