GM Service Manual Online
For 1990-2009 cars only

Emblem/Nameplate Replacement ESC, ETC w/TL4

Tools Required

J 25070 Heat Gun

Removal Procedure

    Important: Be careful not to damage the paint.

  1. Heat the emblem/nameplate (1) using a J 25070 . Hold the heat gun approximately 152 mm (6 in) from the surface.
  2. Apply the heat using a circular motion for about 30 seconds.
  3. Peel the emblem/nameplate from the panel using a flat-bladed plastic tool.
  4. Remove all adhesive from the body panel and the back of the emblem/nameplate using 3M® P/N 07501 or equivalent.

  5. Object Number: 604148  Size: SH
  6. Wash the affected panel with soap and water.
  7. Wipe the panel dry with a lint-free cloth.

  8. Remove all traces of adhesive from the body panel and the back of the molding. Use 3M® General Purpose Adhesive Cleaner 08984 or an equivalent.
  9. Wipe the panel with a clean lint-free cloth and an isopropyl alcohol and water (50/50 mixture) by volume.

Installation Procedure


    Object Number: 604147  Size: SH

    Important: The rear compartment lid must be in a secured position prior to the emblem/nameplate adhesion.

  1. Secure the rear compartment lid.
  2. Use a length of masking tape or magnetic strip in order to mark the location.
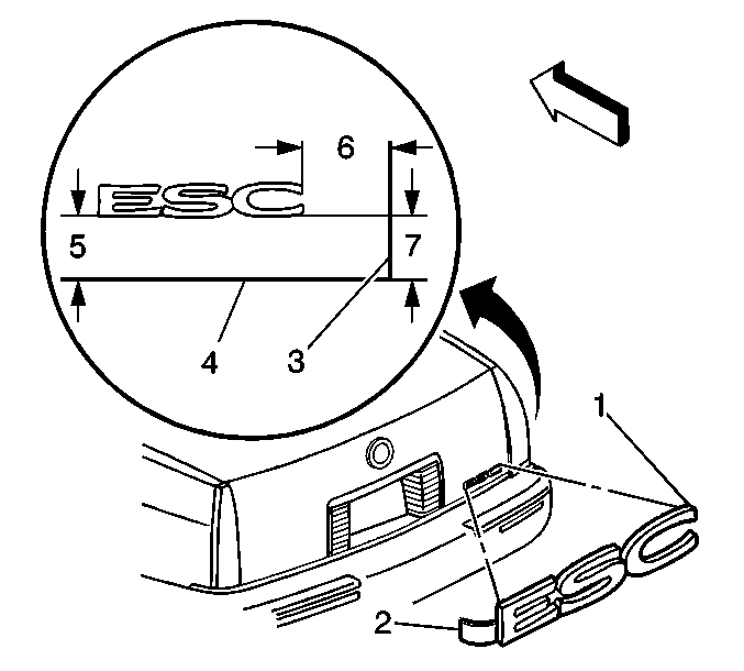
  3. Use the following dimensions in order to mark the proper position of the emblem/nameplate on the right side of the rear compartment lid:
  4. • 23.5 mm (+/- 2 mm) (5) from the horizontal edge (4)
    • 45.0 mm (+/- 2 mm) (6) from the vertical edge (3)
    • 22.8 mm (+/- 2 mm) (7) from the horizontal edge (4)
  5. If the body is below 21°C (70°F) due to shop temperature or outside temperature, warm the body panel using the J 25070 while proceeding with the next step.
  6. If needed, apply a double-coated acrylic foam tape such as 3M® Super Automotive Attachment Tape (2) or an equivalent to the emblem/nameplate:
  7. • 3M® 06380 has a white backing
    • 3M® 06377 has a black backing
    • 3M® 06382 has a gray backing

    Important: Care should be exercised not to touch the tape with your hands or allow the adhesive tape to come in contact with any dirt or foreign matter.

  8. Peel the backing (2) from the adhesive tape.
  9. Align the emblem/nameplate (1) with the previous length of masking tape or magnetic strip.
  10. Firmly press the emblem/nameplate into place for 30 seconds in order to ensure proper adhesion of the emblem/nameplate.
  11. Remove the masking tape or magnetic strip from the rear compartment lid.

Emblem/Nameplate Replacement WREATH/CREST

Tools Required

J 25070 Heat Gun

Removal Procedure

    Important: Be careful not to damage the paint.

  1. Heat the emblem/nameplate using a J 25070 . Hold the heat gun approximately 152 mm (6 in) from the surface.
  2. Apply the heat using a circular motion for about 30 seconds.
  3. Peel the emblem/nameplate from the panel using a flat-bladed plastic tool.
  4. Remove all adhesive from the body panel and the back of the emblem/nameplate using 3M® P/N 07501 or equivalent.

  5. Object Number: 604143  Size: SH
  6. Wash the affected panel with soap and water.
  7. Wipe the panel dry.

  8. Remove all traces of adhesive from the body panel and the back of the molding. Use 3M® General Purpose Adhesive Cleaner 08984 or an equivalent.
  9. Wipe the panel with a clean lint-free cloth and an isopropyl alcohol and water (50/50 mixture) by volume.

Installation Procedure

    Important: The rear compartment lid must be in a secured position prior to the emblem adhesion.

  1. Secure the rear compartment lid.

  2. Object Number: 604143  Size: SH
  3. Use a length of masking tape in order to mark an 80 mm point from the bottom of the rear compartment lid to the center of the emblem (1).
  4. If the body is below 21°C (70°F) due to shop temperature or outside temperature, warm the body panel using a J 25070 while proceeding with the next step.
  5. If needed, apply a double-coated acrylic foam tape such as 3M® Super Automotive Attachment Tape or an equivalent to the emblem:
  6. • 3M® 06380 has a white backing
    • 3M® 06377 has a black backing
    • 3M® 06382 has a gray backing

    Important: Care should be exercised not to touch the tape with your hands or allow the adhesive tape to come in contact with any dirt or foreign matter.

  7. Peel the backing from the adhesive tape.
  8. Align the emblem (1) from the bottom of the rear compartment lid to 80 mm to the centerline of the emblem as previously marked with the masking tape.
  9. Firmly press the emblem into place for 30 seconds in order to ensure proper adhesion of the emblem.
  10. Remove the masking tape.

Emblem/Nameplate Replacement BV2 32 V NORTHSTAR

Tools Required

J 25070 Heat Gun

Removal Procedure


    Object Number: 657015  Size: SH

    Important: Do NOT damage the paint.

  1. Heat the emblem/nameplate using a J 25070 . Hold the heat gun approximately 152 mm (6 in) from the surface.
  2. Apply the heat using a circular motion for about 30 seconds.
  3. Peel the emblem/nameplate (1) from the body panel (3) using a flat-bladed plastic tool.
  4. Remove all adhesive from the body panel and the back of the emblem/nameplate using 3M® P/N 07501 or equivalent.
  5. Wash the affected panel with soap and water.
  6. Wipe the panel dry.

  7. Remove all traces of adhesive from the body panel and the back of the molding. Use 3M® General Purpose Adhesive Cleaner 08984 or an equivalent.
  8. Wipe the body panel with a clean lint-free cloth and an isopropyl alcohol and water (50/50 mixture) by volume.

Installation Procedure

    Important: The rear compartment lid must be in a secured position prior to the emblem/nameplate adhesion.

  1. Secure the rear compartment lid.

  2. Object Number: 657015  Size: SH
  3. Use the following dimensions on the horizontal and vertical edge in order to position the nameplate to the left side of the rear compartment lid:
  4. • Position the emblem/nameplate 46.5 mm +/- 2 mm from the left side of the vertical edge (A)
    • Position the emblem/nameplate 24.5 mm +/- 2 mm from the left side of the horizontal edge (B)
  5. Use a length of masking tape or magnetic strip in order to ensure proper alignment.
  6. If the body is below 21°C (70°F) due to shop temperature or outside temperature, warm the body panel using the J 25070 .
  7. If needed, apply a double-coated acrylic foam tape such as 3M® Super Automotive Attachment Tape (2) or an equivalent to the emblem/nameplate:
  8. • 3M® 06380 has a white backing
    • 3M® 06377 has a black backing
    • 3M® 06382 has a gray backing

    Important: Care should be exercised not to touch the tape with your hands or allow the adhesive tape to come in contact with any dirt or foreign matter.

  9. Peel the backing (2) from the adhesive tape.
  10. Align the emblem/nameplate (1) with the length of masking tape or magnetic strip.
  11. Firmly press the emblem/nameplate (1) into place for 30 seconds in order to ensure proper adhesion of the emblem/nameplate.
  12. Remove the masking tape or magnetic strip.