GM Service Manual Online
For 1990-2009 cars only

Bumpers

The front bumper assembly consists of an impact bar that is covered with a polyurethane RIM fascia. The RIM fascia is supported by fascia guides at each side. The bumper is attached to the body through left and right 2-stage energy absorbing units.

The Eldorado rear bumper design is the same as the front bumper. The rear bumper is made of a polyurethane RIM material. The impact bar is attached to the body through left and right single-stage energy absorbing units. The lower fascia is attached to the impact bar and the rear wheelhouse areas. The lower fascia uses the body side moldings, brackets and the rear side marker lamps for support.

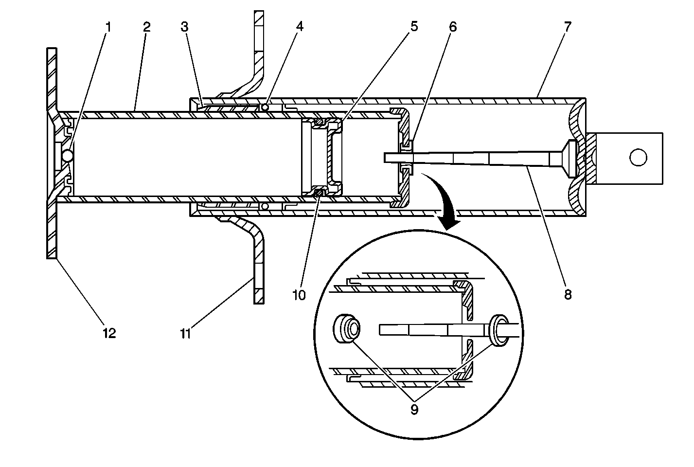
Energy Absorbing Units


Object Number: 372836  Size: MF

The bumpers are designed so that the vehicle can withstand a collision with a fixed barrier at 8 km/h (5 mph) with limited damage. After absorbing the energy of the collision, the energy absorbing (EA) units restore the bumper to the original position.

The EA device consists of the following 2 main sub-assemblies:

    • The cylinder tube assembly
    • The piston tube assembly

The cylinder tube assembly is filled with a hydraulic fluid. The cylinder tube assembly consists of the following components:

    • A frame bracket (11)
    • A cylinder tube (7)
    • A rear mounting bracket
    • A metering pin (8)

The piston tube assembly is filled with an inert gas under pressure . The piston tube assembly consists of the following components:

    • A bumper bracket (12)
    • A piston tube (2)
    • A piston
    • A piston seal (10)
    • A stop-ring (3)
    • A seal (4)
    • A breakaway orifice (9)

The orifice (9) replaces the calibrated orifice that is used in conventional single-stage energy absorbers. This plug provides the 2-stage action.

In vehicle impacts below 8 km/h (5 mph), the 2-stage energy absorber acts like a conventional single-stage absorber. As the energy absorber collapses, the hydraulic fluid in the cylinder tube (7) is forced into the piston tube (2) through an orifice in the brass blowout plug. The metering pin (8) controls the rate at which the hydraulic fluid passes through the brass plug into the piston tube (2). The controlled movement of the hydraulic fluid provides the energy absorbing action.

In vehicle impacts from 8 km/h (5 mph) to 48.2 km/h (30 mph), the brass plug is designed to blow off of the bras plug seat. This provides the second-stage action. With the plug dislodged, the hydraulic fluid passageway becomes greatly enlarged. The larger opening allows the fluid to move rapidly from the cylinder tube (7) to the piston tube (2). This provides the energy absorption at greater impulses. Due to the one time (non-repeatable) nature of the 2-stage action, examine the energy absorber after a collision in order to verify the 2-stage operation. Replace the unit after a high-speed impact.

In either stage of absorber action, the hydraulic fluid that is forced from the cylinder tube (7) into the piston tube (2) displaces the floating piston (5). This compresses the inert gas behind the floating piston (5). After impact, the pressure of the compressed gas behind the floating piston (5) forces the hydraulic fluid back into the cylinder tube (7) assembly. This extends the energy absorber to the normal position.