GM Service Manual Online
For 1990-2009 cars only
Makes
🢒
Cadillac
🢒
2001
🢒
Eldorado
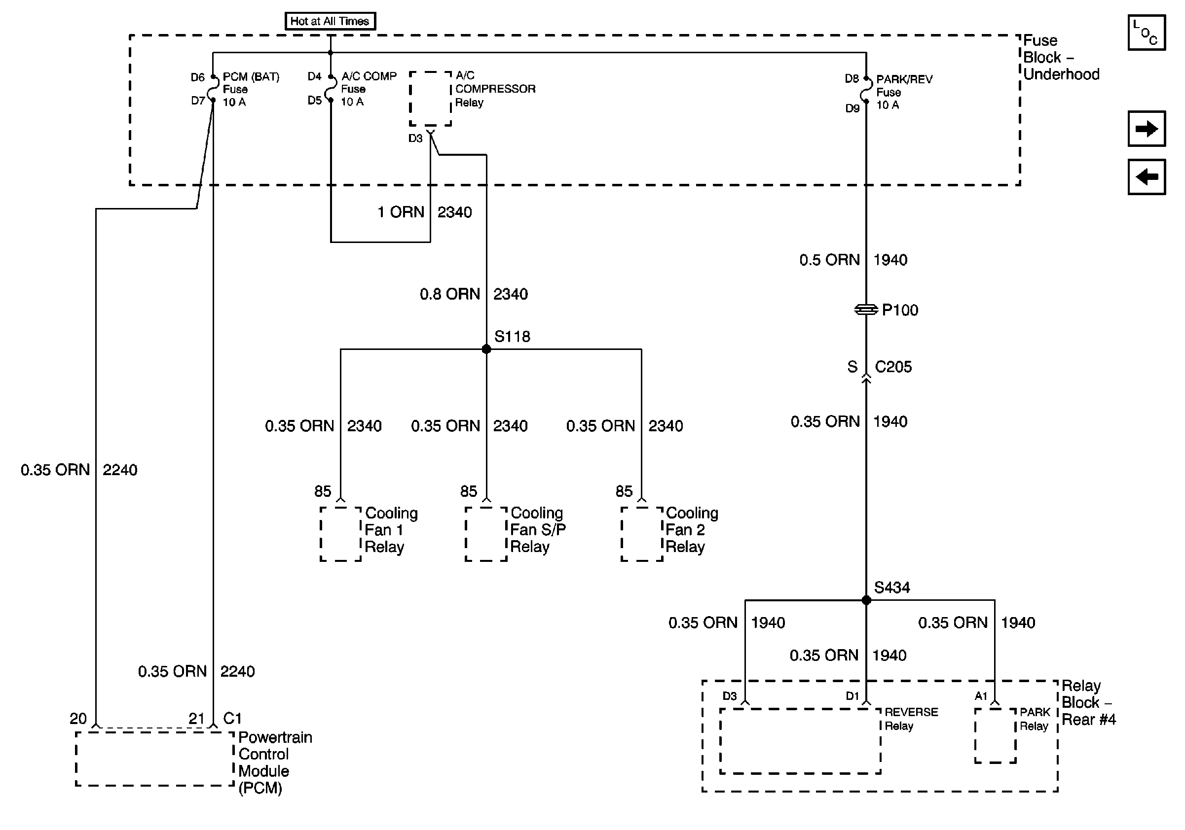
🢒 PCM (BAT), A/C COMP, PARK/REV Fuses and A/C COMPRESSOR Relay
PCM (BAT), A/C COMP, PARK/REV Fuses and A/C COMPRESSOR Relay
PCM (BAT), A/C COMP, PARK/REV Fuses and A/C COMPRESSOR Relay
Master Electrical Component List
CRUISE, DIS, and PCM (IGN) Fuses
OXY SEN 1, OXY SEN 2, FUEL PUMP, ECS Fuses and FUEL PUMP Relay