GM Service Manual Online
For 1990-2009 cars only
Makes
🢒
Cadillac
🢒
2001
🢒
Eldorado
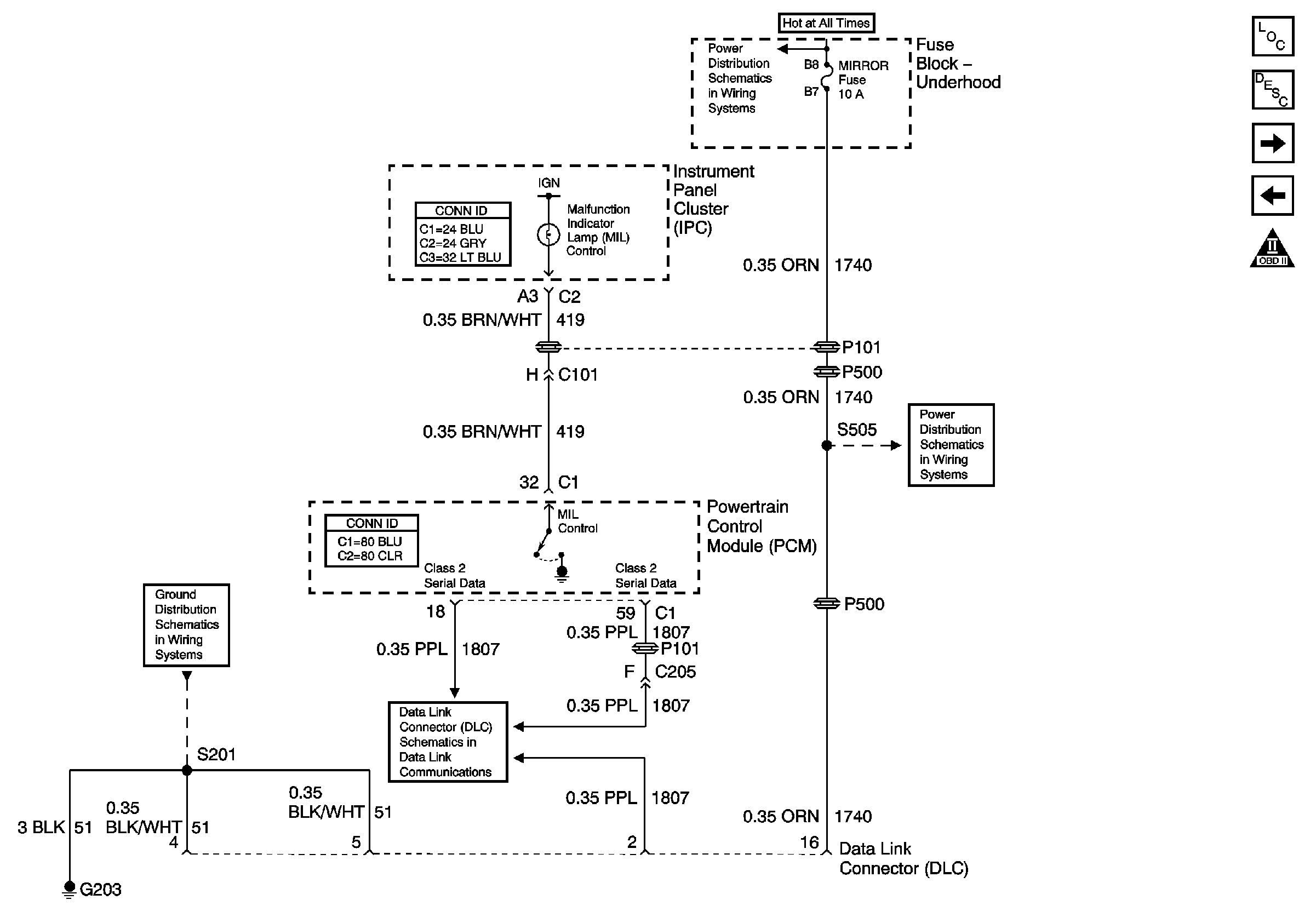
🢒 MIL Control and DLC
MIL Control and DLC
MIL Control and DLC
Master Electrical Component List
Ignition Control Module (Front Bank)
PCM Power and Grounds
OBD II Symbol Description Notice
MIRROR, DRL, and FOG Fuses
Power, Ground and Class 2 (1 of 2)
G203
LAMPS and IGN 1 Fuses