GM Service Manual Online
For 1990-2009 cars only
Makes
🢒
Cadillac
🢒
2001
🢒
Eldorado
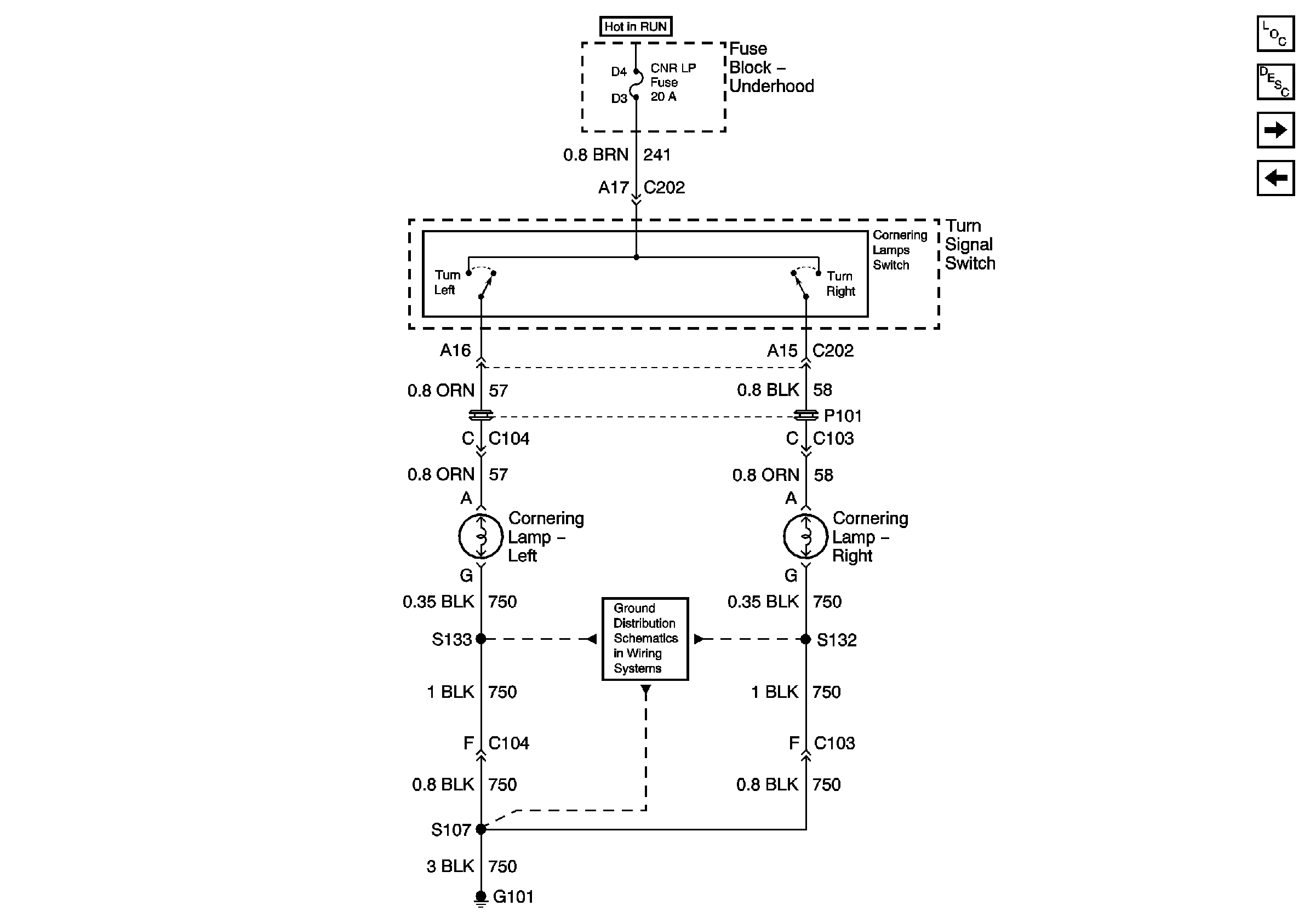
🢒 Cornering Lamps
Cornering Lamps
Cornering Lamps
Master Electrical Component List
Turn Lamps
Backup Lamps
G101