GM Service Manual Online
For 1990-2009 cars only
Makes
🢒
Cadillac
🢒
2002
🢒
Eldorado
🢒 Brake Warning System
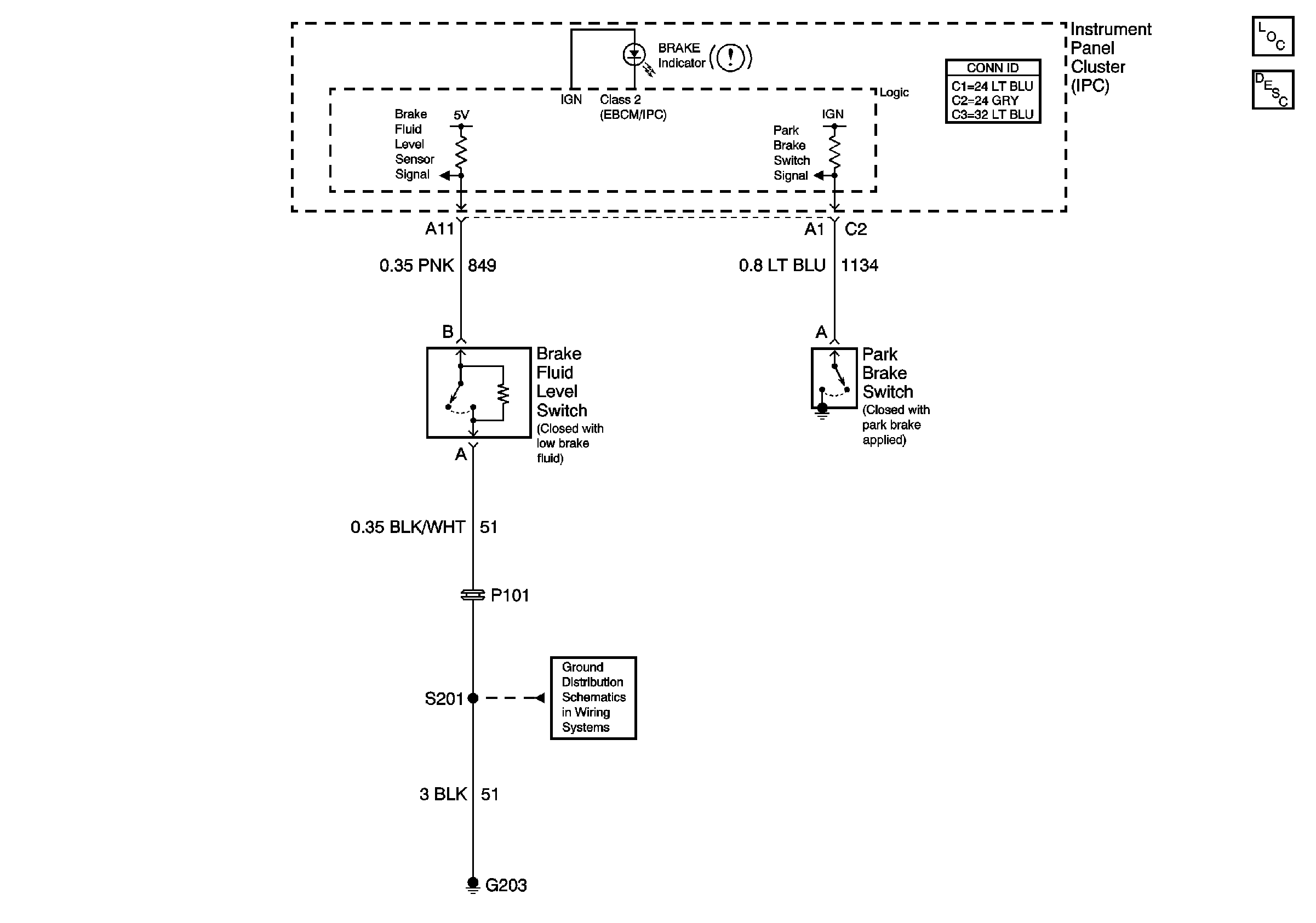
Brake Warning System
Master Electrical Component List
Brake Assist System Description and Operation
G203