GM Service Manual Online
For 1990-2009 cars only
Makes
🢒
Cadillac
🢒
2002
🢒
Eldorado
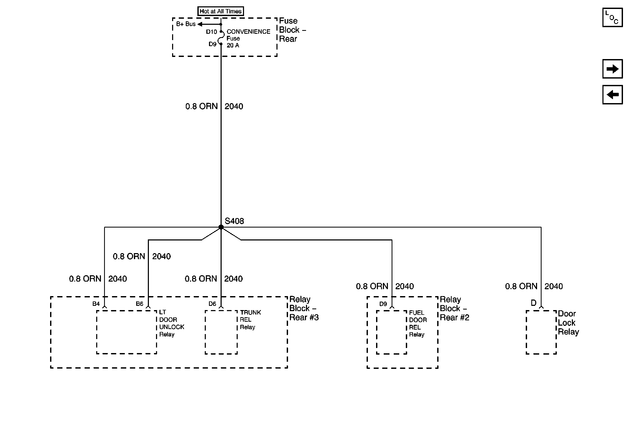
🢒 CONVENIENCE Fuse
CONVENIENCE Fuse
CONVENIENCE Fuse
Master Electrical Component List
WIPERS, ACC, and CLUSTER Fuses
CRUISE, DIS, and PCM (IGN) Fuses