GM Service Manual Online
For 1990-2009 cars only
Makes
🢒
Cadillac
🢒
2002
🢒
Eldorado
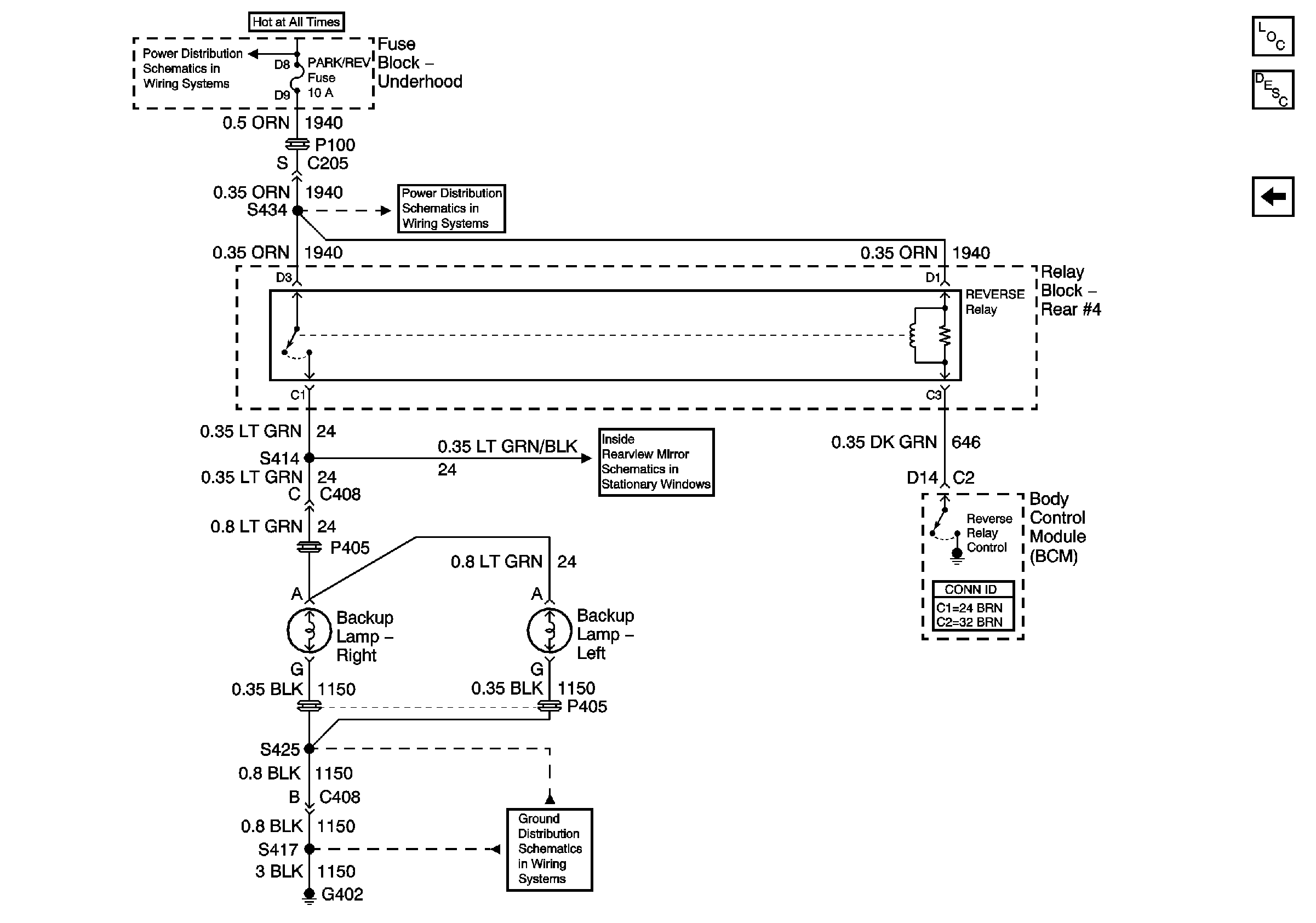
🢒 Backup Lamps
Backup Lamps
Backup Lamps
Master Electrical Component List
Exterior Lighting Systems Description and Operation
G402
Inside Rearview Mirror
PCM (BAT), A/C COMP, PARK/REV Fuses and A/C COMPRESSOR Relay
IGN 1, COOL FANS, AIR, BATT 1, and BRAKES Fuses