GM Service Manual Online
For 1990-2009 cars only

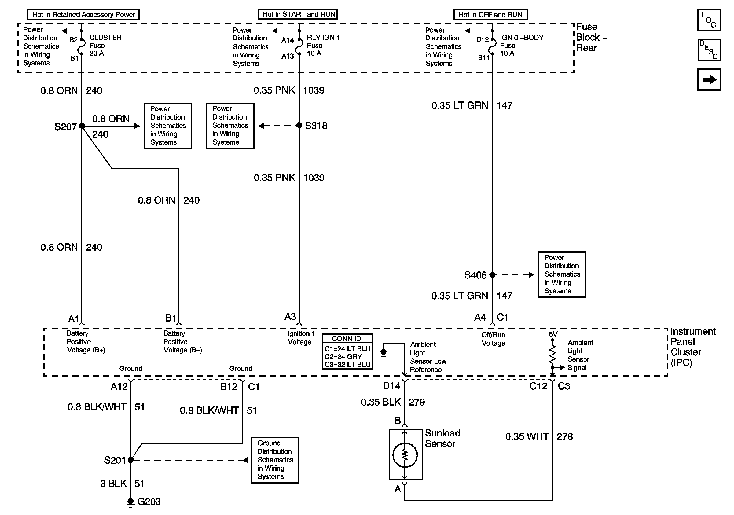
Power, Ground, and Sunload Sensor

Power, Ground, and Sunload Sensor


Object Number: 715207  Size: FS
Master Electrical Component List
Interior Lighting Systems Description and Operation
Headlamp Switch
IGN 0 BODY Fuse
G203
BODY 3 and INADVERT Fuses
WIPERS, ACC, and CLUSTER Fuses
LAMPS and IGN 1 Fuses
RLY IGN 1 Fuse
BATT 3 and Ignition Switch (1 of 2)