GM Service Manual Online
For 1990-2009 cars only
Makes
🢒
Cadillac
🢒
2002
🢒
Eldorado
🢒 Outside Rearview Mirrors w/A45
Outside Rearview Mirrors w/A45
Outside Rearview Mirrors w/A45
Master Electrical Component List
Outside Mirror Description and Operation
Heated Mirrors
Outside Rearview Mirror Switch w/A45
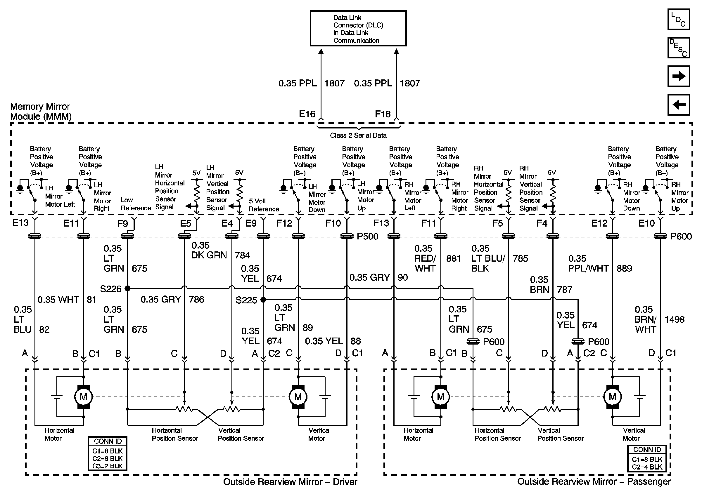
Power, Ground, and Class 2 (2 of 2)