GM Service Manual Online
For 1990-2009 cars only
Makes
🢒
Cadillac
🢒
2000
🢒
Escalade
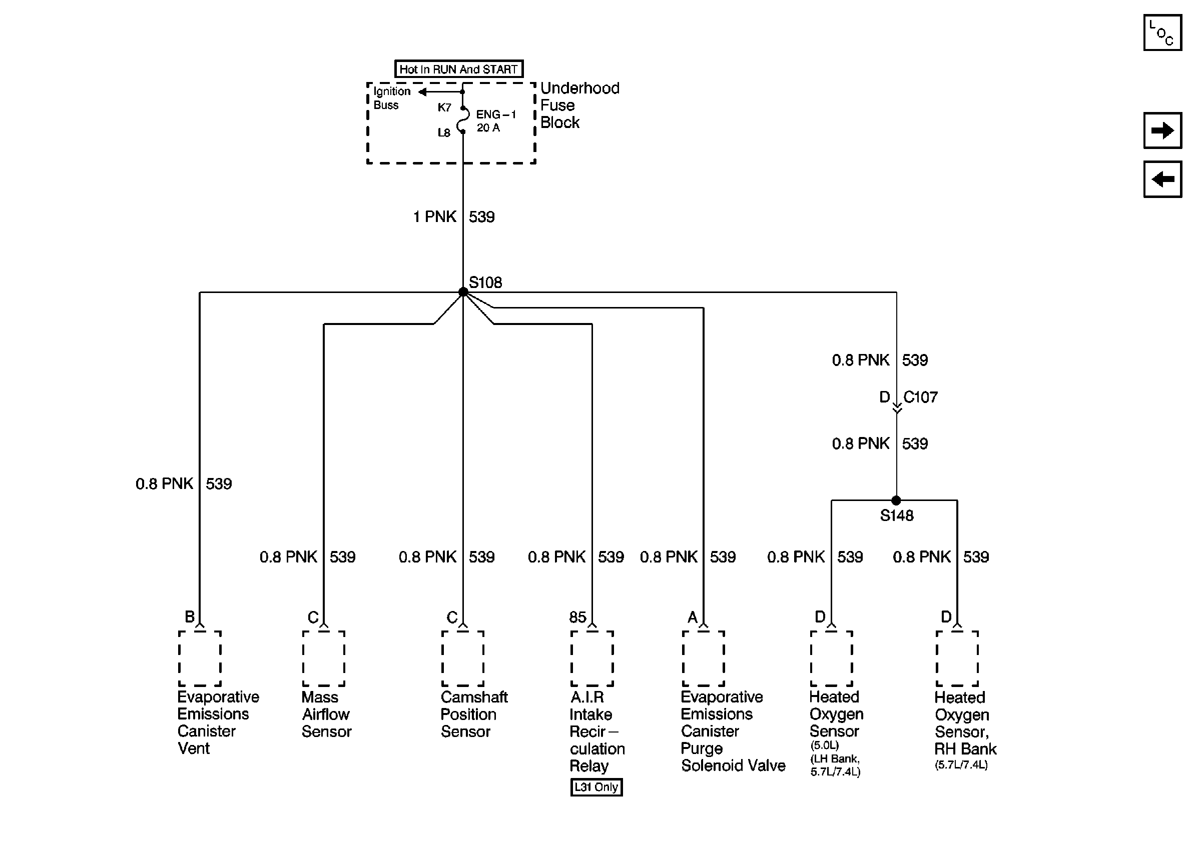
🢒 Cell 10: ENG-1 Fuse
Cell 10: ENG-1 Fuse
Cell 10: ENG-1 Fuse
Power and Grounding Components
Cell 10: ECM 1 Fuse (5.0L/5.7L)
Cell 10: IGN E Fuse
Cell 10: Battery, and Underhood Fuse Block