GM Service Manual Online
For 1990-2009 cars only
Makes
🢒
Cadillac
🢒
2000
🢒
Escalade
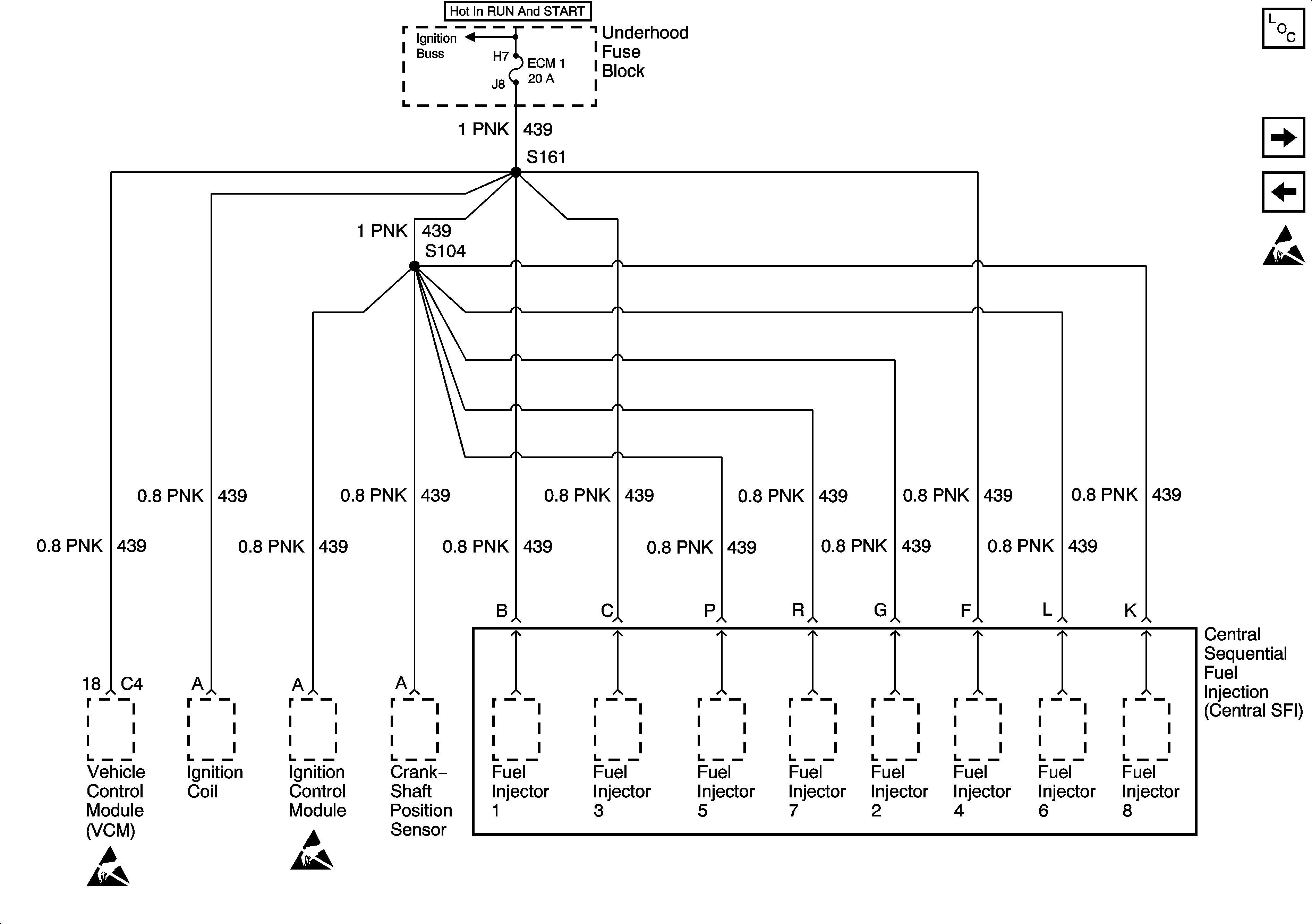
🢒 ECM 1 Fuse (5.7L)
ECM 1 Fuse (5.7L)
ECM 1 Fuse (5.7L)
Power and Grounding Components
ECM 1 Fuse (7.4L)
IGN E Fuse
Handling ESD Sensitive Parts Notice
Handling ESD Sensitive Parts Notice