GM Service Manual Online
For 1990-2009 cars only
Makes
🢒
Cadillac
🢒
2002
🢒
Escalade EXT
🢒
Engine
🢒
Engine Controls - 4.8L, 5.3L, and 6.0L
🢒 Evaporative Emissions Hose Routing Diagram
Figure
1:
EVAP System Overview
(1)
EVAP Canister Purge Solenoid
(2)
EVAP Canister
(3)
Fuel Fill Neck/Fill Cap
(4)
Rollover Valve/Fuel Tank Pressure (FTP) Sensor
(5)
Fuel Tank
(6)
EVAP Canister Vent Solenoid
(7)
Vent Hose/Pipe
(8)
EVAP Vapor Pipe
(9)
EVAP Purge Pipe
(10)
EVAP Service Port
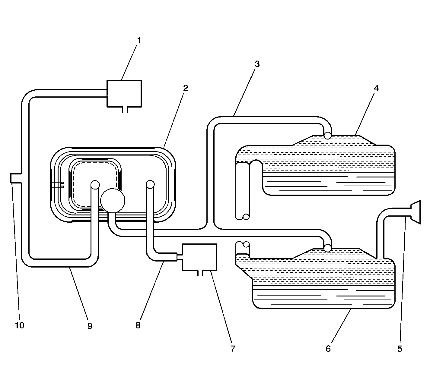
Figure
2:
EVAP Hose/Pipe Routing W/Dual Tanks and One Fill Neck
(1)
EVAP Canister Purge Valve
(2)
EVAP Canister
(3)
EVAP Vapor Pipe
(4)
Front Fuel Tank
(5)
Fuel Fill Neck
(6)
Rear Fuel Tank
(7)
EVAP Canister Vent Valve
(8)
Vent Hose/Pipe
(9)
EVAP Purge Pipe
(10)
EVAP Service Port