GM Service Manual Online
For 1990-2009 cars only
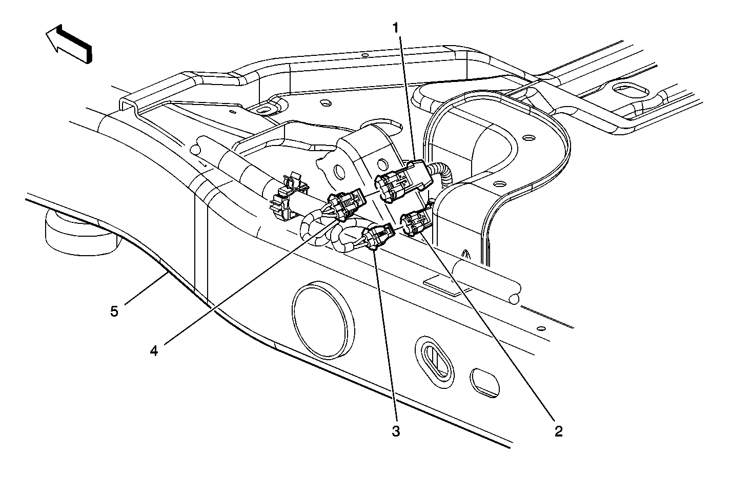
Figure 1:

Front of the Frame (RTD)


Object Number: 615810  Size: MF
(1) Shock Absorber Solenoid - LF
(2)Wheel Speed Sensor (WSS) - LF Connector - Chassis Harness Side
(3)Wheel Speed Sensor (WSS) - LF Connector
(4)Suspension Position Sensor - LF Connector - Chassis Harness Side
(5)Suspension Position Sensor - LF Connector
(6)Chassis Harness
(7)Shock Absorber Solenoid - RF
(8)Wheel Speed Sensor - RF Connector
(9)Suspension Position Sensor - RF Connector
(10)Frame
Figure 2:

Suspension Position Sensor - RF - 25 Series Suburban Only


Object Number: 615639  Size: MF
(1)Frame
(2)Suspension Position Sensor - RF Connector
(3)Suspension Position Sensor - RF Connector
Figure 3:

Real Time Damping Connector to Body Wiring Harness


Object Number: 615767  Size: MF
(1)C450 (Chassis Harness Side)
(2)C450 (Body Harness Side)
(3)Frame
Figure 4:

LR Suspension Components 1 of 2 (2500 Series)


Object Number: 615765  Size: MF
(1)Suspension Position Sensor - LR Connector
(2)Shock Absorber Solenoid - LR Connector
(3)Shock Absorber Solenoid - LR Connector - Chassis Harness Side
(4)Suspension Position Sensor - LR Connector - Chassis Harness Side
(5)Frame
Figure 5:

LR Suspension Components 2 of 2 (2500 Series)


Object Number: 623035  Size: MF
(1)Shock Absorber - LR
(2)Shock Absorber - LR Connector
(3)Frame
Figure 6:

LR Suspension Components (1500 Series)


Object Number: 615735  Size: MF
(1)Suspension Position Sensor - LR
(2)Frame
(3)Suspension Position Sensor - LR Connector
Figure 7:

RR Suspension Components (2500 Series)


Object Number: 571419  Size: LF
(1)Axle
(2)Suspension Position Sensor - RR
(3)Sensor Arm
(4) Suspension Position Sensor - RR Connector
Figure 8:

RR Corner of the Passenger Compartment Components (Suburban/Yukon XL w/Auxiliary HVAC)


Object Number: 617862  Size: MF
(1)Inner Side Body Panel
(2)Blower Motor - Auxiliary
(3)Suspension Control Module
Figure 9:

Suspension Control Module Connectors


Object Number: 623102  Size: MF
(1)Body Side Inner Panel
(2)Body Wiring Harness
(3)Connector C1 (GRY)
(4)Connector C2 (PNK)
(5)Connector C3 (BLU)