GM Service Manual Online
For 1990-2009 cars only

Brake Pressure Modulator Valve Replacement w/ JL4

Removal Procedure

Caution: Refer to Brake Fluid Irritant Caution in the Preface section.

Notice: Refer to Brake Fluid Effects on Paint and Electrical Components Notice in the Preface section.


    Object Number: 379478  Size: SH

    Important: The area around the electric hydraulic control unit (EHCU) MUST be free from loose dirt to prevent contamination of disassembled ABS components.

  1. Thoroughly wash all contaminants from around the EHCU.
  2. Disconnect the 2 electrical harness connectors from the electronic brake control module (EBCM) (1).

  3. Object Number: 787326  Size: SH
  4. Disconnect the electrical connector from the pressure accumulator switch.

  5. Object Number: 787213  Size: SH
  6. Disconnect the electrical connector from the brake fluid pressure sensor.
  7. Important: Make sure that brake lines are tagged and kept in order for proper reassembly.

  8. Disconnect the brake lines from the brake pressure modulator valve (BPMV) (2).
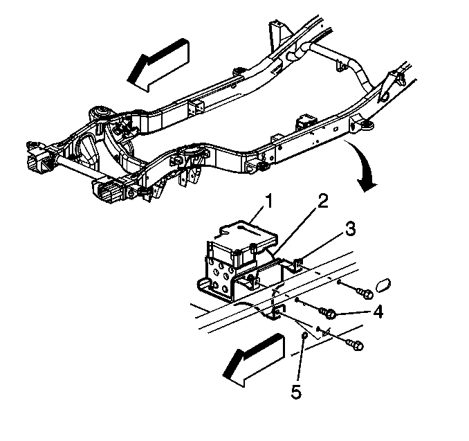
  9. Remove the bolts (4) securing the EHCU mounting bracket (3) to the frame rail (5).
  10. Remove the EHCU from the vehicle.

  11. Object Number: 379484  Size: SH
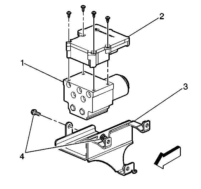
  12. Remove the bolts (4) securing the BPMV (1) to the EHCU mounting bracket (3).
  13. Remove the 4 T-25 TORX® bolts from the EBCM (2).
  14. Remove the EBCM (2) from the BPMV (1). Removal may require a light amount of force.

  15. Object Number: 787327  Size: SH
  16. Remove the accumulator switch.

  17. Object Number: 787218  Size: SH
  18. Remove the brake fluid sensor (2).
  19. Important: Do not reuse the EBCM mounting bolts. Always install new bolts.

  20. Clean the EBCM to BPMV mounting surfaces with a clean cloth.

Installation Procedure


    Object Number: 787327  Size: SH

    Notice: Use the correct fastener in the correct location. Replacement fasteners must be the correct part number for that application. Fasteners requiring replacement or fasteners requiring the use of thread locking compound or sealant are identified in the service procedure. Do not use paints, lubricants, or corrosion inhibitors on fasteners or fastener joint surfaces unless specified. These coatings affect fastener torque and joint clamping force and may damage the fastener. Use the correct tightening sequence and specifications when installing fasteners in order to avoid damage to parts and systems.

  1. Install the pressure accumulator switch to the BPMV.
  2. Tighten
    Tighten the switch to 3 N·m (30 lb in).


    Object Number: 787218  Size: SH
  3. Install the brake fluid pressure sensor (2) using a backup wrench to keep the brake fluid pressure sensor collar (1) from turning.
  4. Tighten
    Tighten the sensor to 16 N·m (12 lb ft).


    Object Number: 379484  Size: SH

    Important: Do not use RTV or any other type of sealant on the EBCM gasket or mating surfaces.

  5. Install the EBCM (2) onto BPMV (1).
  6. Install the four EBCM bolts.
  7. Important: Do not reuse the old mounting bolts. Always install new EBCM bolts with the new BPMV.

    Tighten
    Tighten the bolts to 5 N·m (39 lb in) in an X-pattern.

  8. Connect the brake fluid pressure sensor and pressure accumulator switch electrical harnesses.
  9. Install the BPMV (1) to EHCU bracket (3).
  10. Install the BPMV to bracket retaining bolts (4).
  11. Tighten
    Tighten the bolts to 9 N·m (7 lb ft).


    Object Number: 379478  Size: SH
  12. Install the EHCU to the vehicle frame (5).
  13. Install the EHCU bracket bolts.
  14. Tighten
    Tighten the EHCU bracket bolts (4) to 25 N·m (18 lb ft).

  15. Connect the 2 electrical harness connectors to the EBCM (1).
  16. Important: The brake pipes are held in place by a plastic bracket mounted to the frame. Make sure that the brake pipes stay in the correct place for proper reassembly.

  17. Install the brake pipes to the BPMV (2).
  18. Tighten
    Tighten the brake pipe fittings to 25 N·m (18 lb ft).

  19. Bleed the brake system. Refer to Hydraulic Brake System Bleeding .
  20. Bleed the brake system. Refer to Antilock Brake System Automated Bleed Procedure .

Brake Pressure Modulator Valve Replacement w/o JL4

Removal Procedure


    Object Number: 379478  Size: SH

    Important: The area around the electric hydraulic control unit (EHCU) MUST be free from loose dirt to prevent contamination of disassembled ABS components.

  1. Thoroughly wash all contaminants from around the EHCU.
  2. Disconnect the 3 electrical harness connectors from the electronic brake control module (EBCM) (1).
  3. Important: Make sure that brake lines are tagged and kept in order for proper reassembly.

  4. Disconnect the brake lines from the brake pressure modulator valve (BPMV) (2).
  5. Remove the bolts (4) securing the EHCU mounting bracket (3) to the frame rail (5).
  6. Remove the EHCU from the vehicle.

  7. Object Number: 379484  Size: SH
  8. Remove the bolts (4) securing the BPMV (1) to the EHCU mounting bracket (3) .
  9. Disconnect the 2 way ABS pump motor connector.
  10. Remove the 4 T-25 TORX® bolts from the EBCM (2).
  11. Remove the EBCM (2) from the BPMV (1). Removal may require a light amount of force.
  12. Important: Do not reuse the EBCM mounting bolts. Always install new bolts.

  13. Clean the EBCM to BPMV mounting surfaces with a clean cloth.

Installation Procedure


    Object Number: 379484  Size: SH

    Important: Do not use RTV or any other type of sealant on the EBCM gasket or mating surfaces.

  1. Install the EBCM (2) onto BPMV (1).
  2. Notice: Use the correct fastener in the correct location. Replacement fasteners must be the correct part number for that application. Fasteners requiring replacement or fasteners requiring the use of thread locking compound or sealant are identified in the service procedure. Do not use paints, lubricants, or corrosion inhibitors on fasteners or fastener joint surfaces unless specified. These coatings affect fastener torque and joint clamping force and may damage the fastener. Use the correct tightening sequence and specifications when installing fasteners in order to avoid damage to parts and systems.

  3. Install the four EBCM bolts.
  4. Important: Do not reuse the old mounting bolts. Always install new EBCM bolts with the new BPMV.

    Tighten
    Tighten the 4 bolts to 5 N·m (39 lb in) in an X-pattern.

  5. Connect the 2 way ABS pump motor connector to the EBCM.
  6. Install the BPMV (1) to EHCU bracket (3).
  7. Install the BPMV (1) to bracket retaining bolts (4).
  8. Tighten
    Tighten the bolts to 9 N·m (7 lb ft).


    Object Number: 379478  Size: SH
  9. Install the EHCU to the vehicle frame (5).
  10. Tighten
    Tighten the three EHCU bracket bolts (4) to 25 N·m (18 lb ft).

  11. Connect the 2 electrical harness connectors to the EBCM (1).
  12. Important: The brake pipes are held in place by a plastic bracket mounted to the frame. Make sure that the brake pipes stay in the correct place for proper reassembly.

  13. Install the 5 brake pipes to the BPMV (6).
  14. Tighten
    Tighten the brake pipe fittings to 25 N·m (18 lb ft).

  15. Bleed the brake system. Refer to Hydraulic Brake System Bleeding .
  16. Bleed the brake system. Refer to Antilock Brake System Automated Bleed Procedure .