GM Service Manual Online
For 1990-2009 cars only
Table 1: Brake Fluid Level Switch
Table 2: Combination Yaw Rate Sensor/Lateral Accelerometer Sensor
Table 3: Electronic Brake Control Module (EBCM) - C1
Table 4: Electronic Brake Control Module (EBCM) - C1 - w/ VSES
Table 5: Electronic Brake Control Module (EBCM) - C2 - w/o VSES
Table 6: Electronic Brake Control Module (EBCM) - C2 - w/ VSES
Table 7: Electronic Brake Control Module (EBCM) - C3 - w/ VSES
Table 8: Electronic Brake Control Module (EBCM) - C4 - w/ VSES
Table 9: MPA Switch
Table 10: Pressure Transducer
Table 11: Traction Control Switch
Table 12: Inverting Driver Module
Table 13: Wheel Speed Sensor (WSS) - LF
Table 14: Wheel Speed Sensor (WSS) - RF

Brake Fluid Level Switch


Object Number: 237066  Size: CH

Connector Part Information

    • 12162194
    • 2-Way F Metri-Pack 150.2 Series Sealed (BLK)

Pin

Wire Color

Circuit No.

Function

A

BLK

550

Ground

B

PPL

333

Brake Fluid Level Sensor Signal

Combination Yaw Rate Sensor/Lateral Accelerometer Sensor


Object Number: 697024  Size: CH

Connector Part Information

    • 15383156
    • 6-Way F MQS Sealed (GRY)

Pin

Wire Color

Circuit No.

Function

1

DK GRN

2087

Yaw Rate Sensor 5V Reference

2

PPL/WHT

1699

Lateral Acceleration Signal

3

BRN/WHT

2086

Yaw Rate Signal

4-5

--

--

Not Used

6

LT BLU

2088

Yaw Rate Sensor Low Reference

Electronic Brake Control Module (EBCM) - C1


Object Number: 684792  Size: CH

Connector Part Information

    • 12052613
    • 2-Way F METRI PAC 480 Sealed (BLK)

Pin

Wire Color

Circuit No.

Function

A

BLK

2150

Ground

B

RED

442

Battery Positive Voltage

Electronic Brake Control Module (EBCM) - C1 - w/ VSES


Object Number: 684800  Size: CH

Connector Part Information

    • 12085030
    • 2-Way F METRI PAC 630 Series Sealed (BLK)

Pin

Wire Color

Circuit No.

Function

A

RED

442

Battery Positive Voltage

B

BLK

2150

Ground

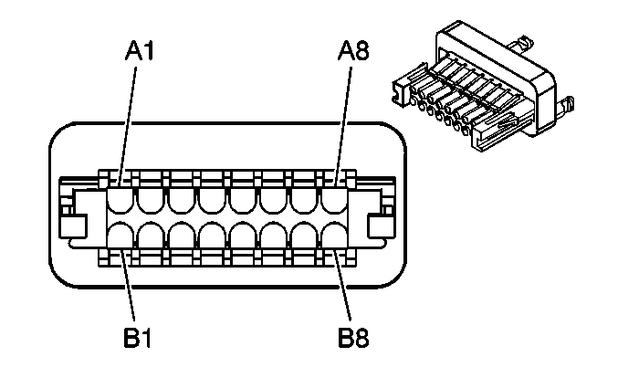
Electronic Brake Control Module (EBCM) - C2 - w/o VSES


Object Number: 365992  Size: CH

Connector Part Information

    • 12193519
    • 16-Way F Micro-Pack 100W (NAT)

Pin

Wire Color

Circuit No.

Function

A1

BRN

441

Ignition 3 Voltage

A2

YEL

873

Wheel Speed Sensor - Return - Left Front

A3

DK GRN

872

Wheel Speed Sensor - Signal - Right Front

A4

TAN/BLK

464

Delivered Torque Signal

A5

--

--

Not Used

A6

WHT

1808

Service Traction Control Signal

A7

--

--

Not Used

A8

BLK/WHT

1695

Axle Switch Signal (W/O ETC)

A8

BRN/WHT

1571

Traction Control Switch Signal - W/ Auto Traction Control

B1

YEL/BLK

1827

Vehicle Speed Signal

B2

LT BLU

830

Wheel Speed Sensor - Signal - Left Front

B3

TAN

833

Wheel Speed Sensor - Return - Right Front

B4

ORN/BLK

463

Requested Torque Signal

B5

PPL

420

TCC Brake Switch Signal

B6

LT BLU

1122

ABS/TCS Class 2 Serial Data

B7

LT BLU

832

Traction Control Active Signal

B8

PPL

333

Brake Fluid Level Sensor Signal

Electronic Brake Control Module (EBCM) - C2 - w/ VSES


Object Number: 39784  Size: CH

Connector Part Information

    • 12129225
    • 24-Way F Micro-Pack 100 series, sealed (NAT)

Pin

Wire Color

Circuit No.

Function

1

YEL

873

Left Front Wheel Speed Sensor Low Reference

2

LT BLU

830

Left Front Wheel Speed Sensor Signal

3

BRN/WHT

2086

YAW Rate Signal

4

GRY

791

PWM Serial Data

5

YEL/BLK

1827

Vehicle Speed Signal

6

ORN/BLK

463

Requested Torque Signal

7

PPL

420

TCC Brake Switch Signal

8

-

-

Not Used

9

DK GRN

2087

Yaw Rate Sensor 5 Volt Reference

10-11

--

--

Not Used

12

BRN

441

Ignition 3 Voltage

13

TAN

833

Right Front Vehicle Speed Sensor Low Reference

14

WHT

790

PWM Serial Data

15

PPL/WHT

1699

Lateral Acceleration Signal

16

DK GRN

872

Right Front Wheel Speed Sensor Signal

17

ORN

2554

LED Signal

18

TAN/BLK

464

Delivered TorqueSignal

19

PPL

333

Brake Fluid Level Sensor Signal

20

LT BLU

2206

VSES Mode

21

LT BLU

2088

Yaw Rate Sensor Low Reference

22-23

--

--

Not Used

24

LT BLU

1122

ABS/TCS CLass 2 Serial Data

Electronic Brake Control Module (EBCM) - C3 - w/ VSES


Object Number: 537107  Size: CH

Connector Part Information

    • 12052646
    • 2-Way F M/P 150 Series (WHT)

Pin

Wire Color

Circuit No.

Function

A

RED

2571

MPA Switch Supply

B

LT GRN

2572

MPA Switch Signal

Electronic Brake Control Module (EBCM) - C4 - w/ VSES


Object Number: 491634  Size: CH

Connector Part Information

    • 12110293
    • 3-Way M/P 150 Series Sealed (BLK)

Pin

Wire Color

Circuit No.

Function

A

BLK

2552

Low Reference

B

RED

2549

Pressure Transducer Supply Voltage

C

DK GRN

2548

Pressure Transducer Sensor Signall

MPA Switch


Object Number: 537107  Size: CH

Connector Part Information

    • 12052646
    • 2-Way F M/P 150 Series (WHT)

Pin

Wire Color

Circuit No.

Function

A

RED

2571

MPA Switch Supply

B

LT GRN

2572

MPA Switch Signal

Pressure Transducer


Object Number: 726824  Size: CH

Connector Part Information

    • 15344137
    • 3-Way F GT 150 Series Sealed (BLK)

Pin

Wire Color

Circuit No.

Function

1

BLK

2552

Low Reference

2

RED

2549

Pressure Transducer Supply Voltage

3

DK GRN

2548

Pressure Transducer Sensor Signall

Traction Control Switch


Object Number: 524811  Size: CH

Connector Part Information

    • 12186758
    • 8 Way F Metri-Pack 150 Series (GRY)

Pin

Wire Color

Circuit No.

Function

A

BLK

1850

Ground

B

LT BLU

832

Traction Control Active Signal

C

WHT

1808

Service Traction Control Signal

D

--

--

Not Used

E

PPL/WHT

1382

LED Dimming Signal

F

GRY

8

Instrument Panel Lamp Supply Voltage - 1

G

BRN/WHT

1571

Traction Control Switch Signal

H

PNK

39

Ignition 1 Voltage

Inverting Driver Module


Object Number: 40419  Size: CH

Connector Part Information

    • 12015410
    • 6-Way F P/C Edgeboard -Standard (GRN)

Pin

Wire Color

Circuit No.

Function

A

--

--

Not Used

B

PNK

39

Ignition 1 Voltage

C

WHT

1808

Service Traction Control Signal

D

BLK

1850

Ground

E

DK BLU

1660

Traction Control Indicator Control

F

--

--

Not Used

Wheel Speed Sensor (WSS) - LF


Object Number: 635009  Size: CH

Connector Part Information

    • 12052641
    • 2-Way F Metri-Pack 150 Series (BLK)

Pin

Wire Color

Circuit No.

Function

A

LT BLU

830

Left Front Wheel Speed Sensor Signal

B

YEL

873

Left Front Wheel Speed Sensor Low Reference

Wheel Speed Sensor (WSS) - RF


Object Number: 635009  Size: CH

Connector Part Information

    • 12052641
    • 2-Way F Metri-Pack 150 Series (BLK)

Pin

Wire Color

Circuit No.

Function

A

GRN DK

872

Right Front Wheel Speed Sensor Signal

B

TAN

833

Right Front Wheel Speed Sensor Low Reference