GM Service Manual Online
For 1990-2009 cars only
Figure 1:

RF Corner of the Vehicle -- Automatic HVAC Components


Object Number: 741098  Size: MF
(1)Radiator Support
(2)Forward Lamp Harness Connector
(3)Air Temperature Sensor-Outside -Auto A/C
(4)Front Bumper Filler
Figure 2:

Top Left of the I/P Components


Object Number: 667799  Size: MF
(1)Instrument Panel Upper Trim Panel
(2)Sun Load Sensor
(3)DRL/AHL Ambient Light Sensor
Figure 3:

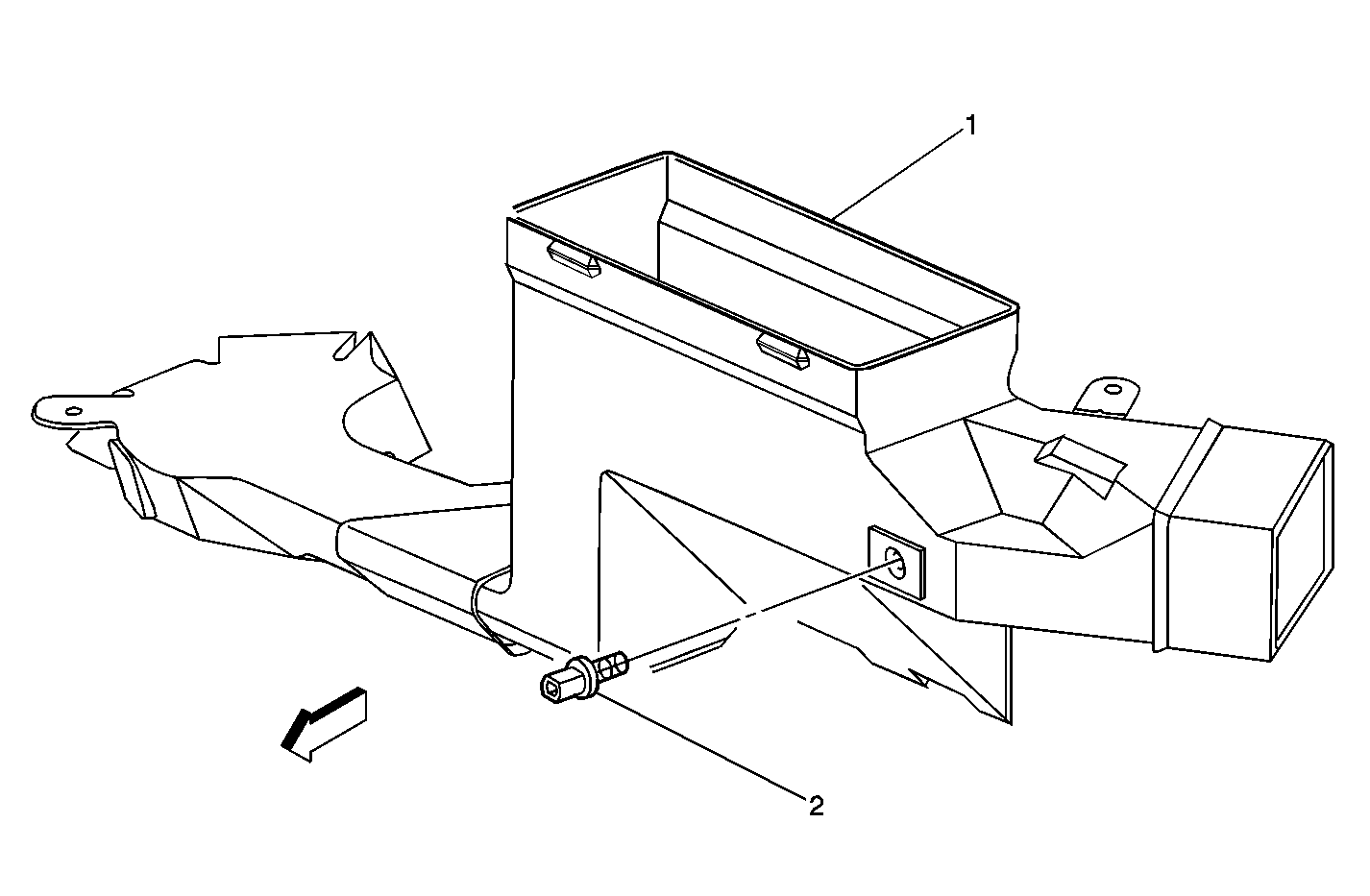
Front Floor Duct (Automatic HVAC)


Object Number: 618704  Size: MF
(1)Front Floor Duct Assembly
(2)Air Temperature Sensor-Lower
Figure 4:

Overhead Console (Utility w/Automatic HVAC w/Auxiliary A/C)


Object Number: 781389  Size: MF
(1)Front Overhead Console
(2)HVAC Control Module - Front Auxiliary
(3)HVAC Control Module - Front Auxiliary Connector
Figure 5:

Rear Overhead Console (Utility w/Automatic HVAC w/Auxiliary A/C)


Object Number: 781385  Size: MF
(1)HVAC Control Module Trim Cover
(2)HVAC Control Module - Rear Auxiliary
(3)HVAC Control Module - Rear Auxiliary Connector
Figure 6:

RR Side of the Passenger Compartment Components (Tahoe/Yukon w/Auxiliary HVAC)


Object Number: 781341  Size: MF
(1)Upper Duct Assembly
(2)Air Temperature Sensor - Upper Auxiliary
Figure 7:

RR Side of the Passenger Compartment Components (Suburban/Yukon XL w/Auxiliary HVAC -- 1 of 2)


Object Number: 781324  Size: MF
(1)Upper Air Duct Assembly
(2)Air Temperature Sensor - Upper Auxiliary Connector
Figure 8:

HVAC Module-Rear Auxiliary


Object Number: 618737  Size: MF
(1)Inner Side Body Panel
(2)Auxiliary Heater and A/C Module
(3)A/C and Heater Duct Assembly
Figure 9:

HVAC -Auxiliary Harness Routing View-Typical


Object Number: 573929  Size: LF
(1)Inner Body Side Panel
(2)Splice Pack 410 (SP410)
(3)Splice Pack 410A (SP410A)
(4)Blower Motor Connector
(5)Auxiliary HVAC Module
(6)Heater Temperature Sensor
(7)Mode Door Connector
(8)Inline Connector C350 or C312- Auxiliary HVAC Harness Side
(9)Inline Connector C350 or C312-Headliner Harness Side
(10)Inline Connector C397 -Auxiliary HVAC Harness Side
(11)Inline Connector C397 -RH Body Harness Side