GM Service Manual Online
For 1990-2009 cars only

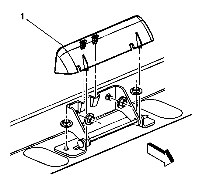
Removal Procedure


    Object Number: 741399  Size: SH
  1. Fold the rear seat back down.
  2. Ensure the rear mid gate is in the upright position, latched.
  3. Remove the hinge trim cover (1) from the mid-gate.
  4. Remove the retaining nuts from the hinge.
  5. Remove the hinge from the vehicle.

Installation Procedure


    Object Number: 741399  Size: SH
  1. Install the hinge to the vehicle.
  2. Notice: Use the correct fastener in the correct location. Replacement fasteners must be the correct part number for that application. Fasteners requiring replacement or fasteners requiring the use of thread locking compound or sealant are identified in the service procedure. Do not use paints, lubricants, or corrosion inhibitors on fasteners or fastener joint surfaces unless specified. These coatings affect fastener torque and joint clamping force and may damage the fastener. Use the correct tightening sequence and specifications when installing fasteners in order to avoid damage to parts and systems.

  3. Install the four retaining nuts.
  4. Tighten
    Tighten the nuts to 25 N·m (18 lb ft).

  5. Install the hinge trim cover (1) by pressing into place.
  6. Fold the rear seat back up.