GM Service Manual Online
For 1990-2009 cars only

Removal Procedure

  1. Disconnect the negative battery cable, as necessary on vehicles with power components. Refer to Battery Negative Cable Disconnection and Connection in Engine Electrical.
  2. Apply cloth-backed tape to the door and to the body pillar.
  3. Remove the taillamp(s). Refer to Tail/Turn Signal Lamp Replacement in Lighting Systems.

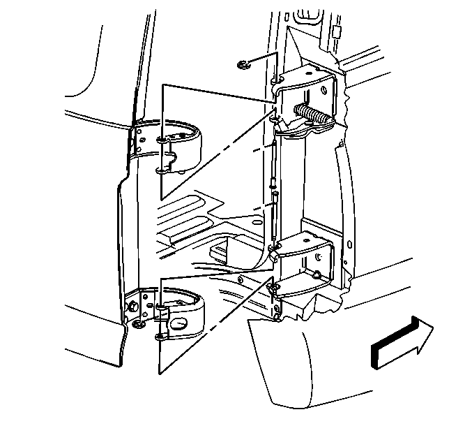
  4. Object Number: 572299  Size: SH
  5. Remove the bolts in roller assembly from upper door side hinge.

  6. Object Number: 572307  Size: SH
  7. Remove the upper and lower hinge pin retainer clips.
  8. Using a soft-faced hammer and locking pliers, remove the lower hinge pin.
  9. Install a temporary bolt through the lower hinges in order to hold the door in place during the removal of the upper hinge pin.
  10. Remove the upper hinge pin.
  11. Remove the bolt from the lower hinge pin hole.
  12. With an assistant, remove the door from the vehicle.

Installation Procedure

  1. Install the upper and lower hinge pin retainer clips to the hinge.

  2. Object Number: 572299  Size: SH
  3. Install the bolts on the roller assembly to the upper door side hinge.

  4. Object Number: 572307  Size: SH
  5. With an assistant, position the door to the vehicle.
  6. Install a bolt through the lower hinge pin holes.
  7. Using a soft-faced hammer and a pair of locking pliers, install the upper hinge pin with the pointed end of the pin pointing upward.
  8. Remove the temporary bolt from the lower hinge.
  9. Install the lower hinge pin with the pointed end of the pin pointing downward.
  10. Remove the cloth-backed tape from the door and the body pillar.
  11. Install the taillamps. Refer to Tail/Turn Signal Lamp Replacement in Lighting Systems.
  12. Install the check assembly hinge pin with the pointed end of the pin pointing downward.
  13. Connect the negative battery cable, as necessary on vehicles with power components. Refer to Battery Negative Cable Disconnection and Connection in Engine Electrical.