GM Service Manual Online
For 1990-2009 cars only

Removal Procedure

The Radio Control Module and the Radio Antenna Module cannot be replaced individually.

  1. Lower the rear of the headliner. Refer to Headlining Trim Panel Replacement in Interior Trim.
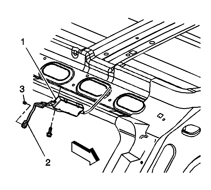
  2. Disconnect the wire harness (2) attached to the rear quarter glass panel.
  3. Remove the module (1) retaining bolt.

  4. Object Number: 741403  Size: SH
  5. Disconnect the antenna cable from the module.
  6. Remove the control module from the roof.
  7. Remove the radio antenna module. Refer to Radio Antenna Module Replacement .

Installation Procedure

  1. Install the radio antenna module. Refer to Radio Antenna Module Replacement .
  2. Install the control module to the roof.

  3. Object Number: 741403  Size: SH

    Notice: Use the correct fastener in the correct location. Replacement fasteners must be the correct part number for that application. Fasteners requiring replacement or fasteners requiring the use of thread locking compound or sealant are identified in the service procedure. Do not use paints, lubricants, or corrosion inhibitors on fasteners or fastener joint surfaces unless specified. These coatings affect fastener torque and joint clamping force and may damage the fastener. Use the correct tightening sequence and specifications when installing fasteners in order to avoid damage to parts and systems.

  4. Install the module retaining bolt.
  5. Tighten
    Tighten the retaining bolt to 9 N·m (80 lb in).

  6. Connect the antenna cable to the module.
  7. Connect the wire harness (2) to the rear quarter glass panel.
  8. Install the rear of the headliner. Refer to Headlining Trim Panel Replacement in Interior Trim.