GM Service Manual Online
For 1990-2009 cars only

Headlamp Assembly or Headlamp Bulb Replacement Avalanche

Removal Procedure

Caution: Halogen bulbs contain gas under pressure. Handling a bulb improperly could cause it to shatter into flying glass fragments. To help avoid personal injury:

   • Turn off the lamp switch and allow the bulb to cool before changing the bulb.
   • Leave the lamp switch OFF until the bulb change is complete.
   • Always wear eye protection when changing a halogen bulb.
   • Handle the bulb only by its base. Avoid touching the glass.
   • Keep dirt and moisture off the bulb.
   • Properly dispose of the used bulb.
   • Keep halogen bulbs out of the reach of children.

Notice: Avoid touching the bulb or letting the bulb come in contact with anything damp. Oil from your skin or moisture on the bulb can cause the bulb to explode when the bulb is turned on. If either comes in contact with the bulb, clean the bulb with alcohol or a suitable degreaser and wipe the bulb dry.

  1. Open the hood.
  2. Remove the park/turn signal lamp assembly. Refer to Parking and Turn Signal Lamp Replacement .

  3. Object Number: 741547  Size: SH
  4. Remove the headlamp retainer pins.
  5. Pull out the headlamp assembly in order to access the electrical connector.
  6. Disconnect the electrical connector.
  7. Remove the bulb from the headlamp assembly by twisting the bulb counterclockwise.

Installation Procedure


    Object Number: 741547  Size: SH

    Important: 

       • Replace a high beam bulb with another high beam bulb. The high beam bulb has a red gasket.
       • Replace a low beam bulb with another low beam bulb. The low beam bulb has a gray tip and a yellow gasket at the base.

  1. Install the new bulb to the headlamp assembly by twisting the bulb clockwise in order to lock in place.
  2. Connect the electrical connector to the bulb.
  3. Install the headlamp assembly.
  4. Install the headlamp retainer pins.
  5. Rotate and lock the pins in place.
  6. Install the park/turn signal lamp assembly. Refer to Parking and Turn Signal Lamp Replacement .
  7. Inspect the operation.

Headlamp Assembly or Headlamp Bulb Replacement Except Avalanche

Removal Procedure

Caution: Refer to Halogen Bulb Caution in the Preface section.

Notice: Refer to Avoid Touching the Bulb Notice in the Preface section.


    Object Number: 371087  Size: SH
  1. Open the hood.
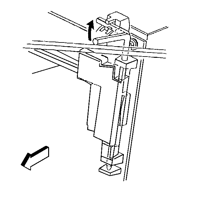
  2. Rotate the headlamp retainer pins outward.

  3. Object Number: 346881  Size: SH
  4. Remove the headlamp retainer pins.
  5. Pull out the headlamp assembly in order to access the electrical connector.
  6. Disconnect the electrical connector.

  7. Object Number: 378547  Size: SH
  8. Remove the bulb from the headlamp assembly by twisting the bulb counterclockwise.

Installation Procedure


    Object Number: 378547  Size: SH

    Important: 

       • Replace a high beam bulb with another high beam bulb. The high beam bulb has a red gasket.
       • Replace a low beam bulb with another low beam bulb. The low beam bulb has a gray tip and a yellow gasket at the base.

  1. Install the new bulb to the headlamp assembly by twisting the bulb clockwise in order to lock in place.
  2. Connect the electrical connector to the bulb.
  3. Install the headlamp assembly.

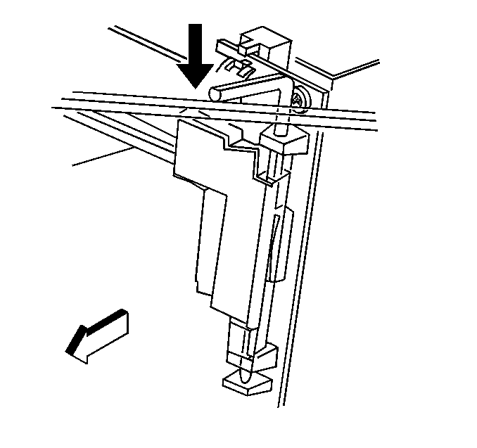
  4. Object Number: 346881  Size: SH
  5. Install the headlamp retainer pins.

  6. Object Number: 348711  Size: SH
  7. Rotate inward and lock the pins in place.
  8. Inspect the operation.

Headlamp Assembly or Headlamp Bulb Replacement Cadillac

Removal Procedure

Caution: Halogen bulbs contain gas under pressure. Handling a bulb improperly could cause it to shatter into flying glass fragments. To help avoid personal injury:

   • Turn off the lamp switch and allow the bulb to cool before changing the bulb.
   • Leave the lamp switch OFF until the bulb change is complete.
   • Always wear eye protection when changing a halogen bulb.
   • Handle the bulb only by its base. Avoid touching the glass.
   • Keep dirt and moisture off the bulb.
   • Properly dispose of the used bulb.
   • Keep halogen bulbs out of the reach of children.

Notice: Avoid touching the bulb or letting the bulb come in contact with anything damp. Oil from your skin or moisture on the bulb can cause the bulb to explode when the bulb is turned on. If either comes in contact with the bulb, clean the bulb with alcohol or a suitable degreaser and wipe the bulb dry.

  1. Remove the front grille. Refer to Grille Replacement in Exterior Trim.

  2. Object Number: 761763  Size: SH
  3. Remove the headlamp retainer pins.
  4. Pull out the headlamp assembly in order to access the electrical connector.

  5. Object Number: 761761  Size: SH
  6. Disconnect the electrical connector.
  7. Remove the rubber cup to gain access the headlamp bulbs.
  8. Remove the bulbs.

Installation Procedure

    Important: 

       • Replace a high beam bulb with another high beam bulb. The high beam bulb has a red gasket.
       • Replace a low beam bulb with another low beam bulb. The low beam bulb has a gray tip and a yellow gasket at the base.

  1. Install the bulbs.
  2. Install the rubber cup.

  3. Object Number: 761761  Size: SH
  4. Connect the electrical connector to the lamp assembly.

  5. Object Number: 761763  Size: SH
  6. Install the lamp assembly to the vehicle.
  7. Install the headlamp assembly retainer pins.
  8. Install the front grille. Refer to Grille Replacement in Exterior Trim.