GM Service Manual Online
For 1990-2009 cars only
Makes
🢒
Cadillac
🢒
2002
🢒
Escalade EXT
🢒 2002 Engine Cooling
2002 Engine Cooling
Master Electrical Component List
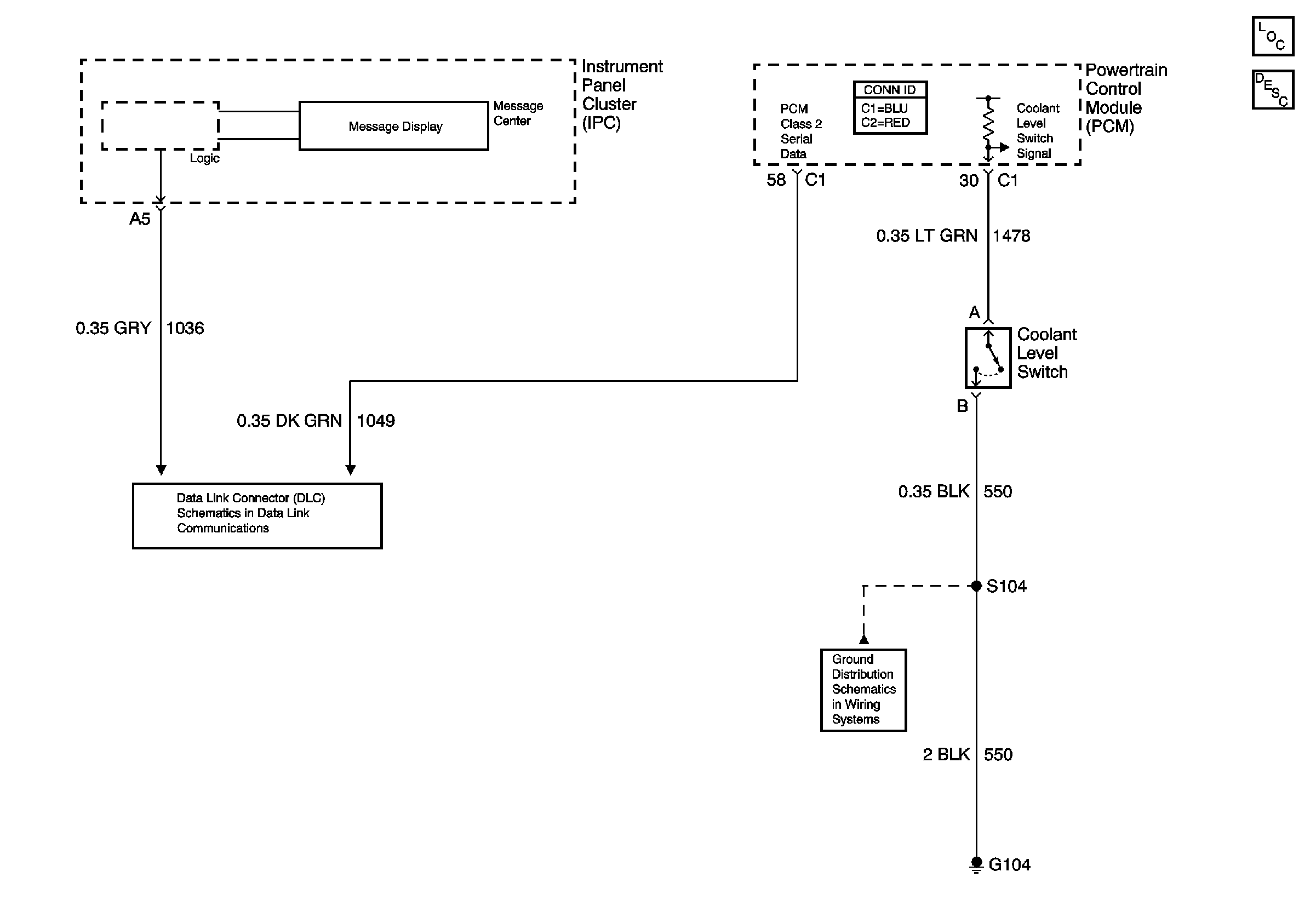
Cooling System Description and Operation
Splice Pack SP205
G104