GM Service Manual Online
For 1990-2009 cars only
Makes
🢒
Cadillac
🢒
2002
🢒
Escalade EXT
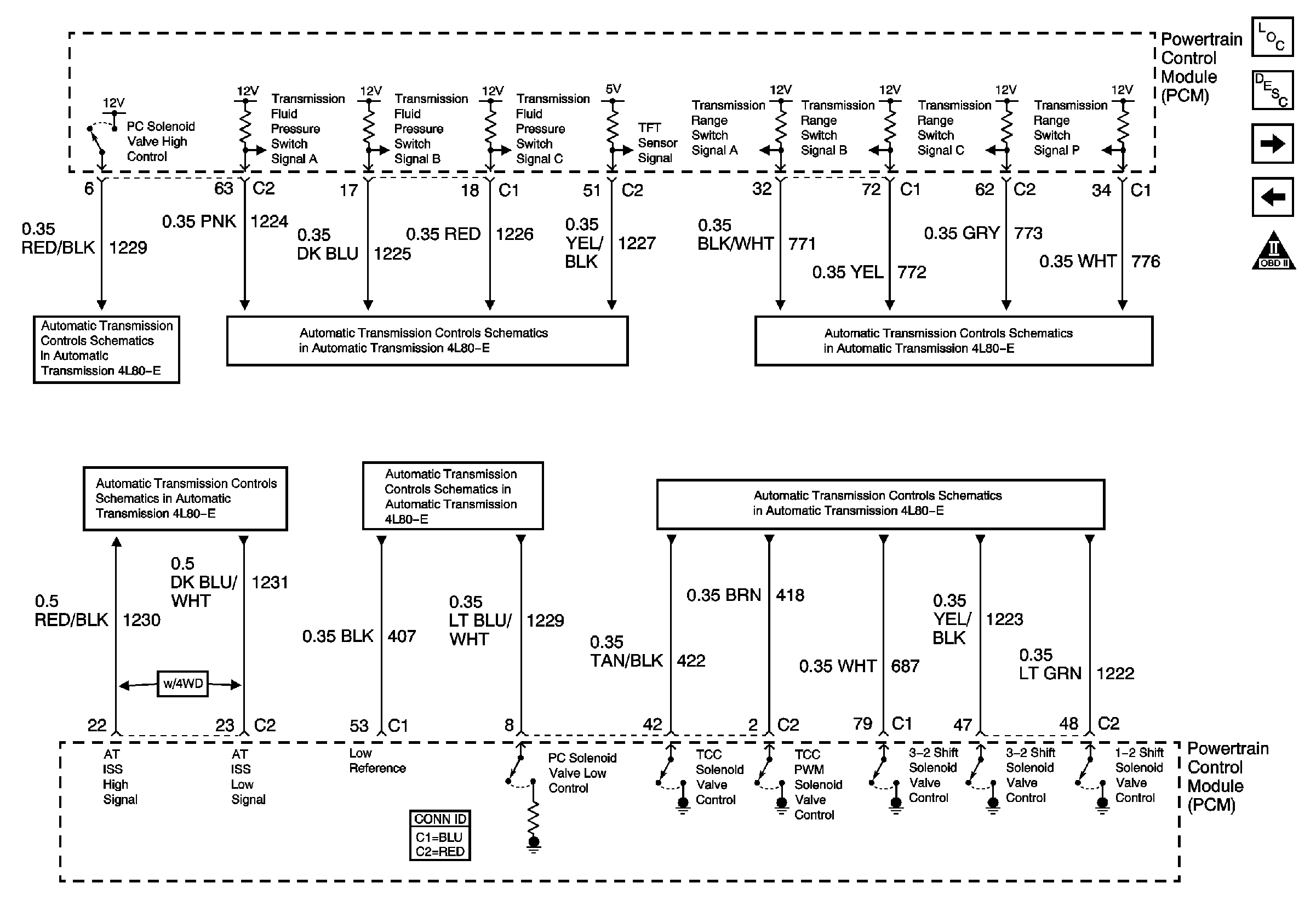
🢒 Transmission Controls A/T
Transmission Controls A/T
Transmission Controls A/T
Master Electrical Component List
Powertrain Control Module Description
Controlled/Monitored Subsystem References
OBD II Symbol Description Notice
Switch Inputs
Switch Inputs
Tow/Haul and PNP Switch Inputs
Switch Inputs
Switch Inputs
Valve Controls and Brake Switch