GM Service Manual Online
For 1990-2009 cars only
Makes
🢒
Cadillac
🢒
2002
🢒
Escalade EXT
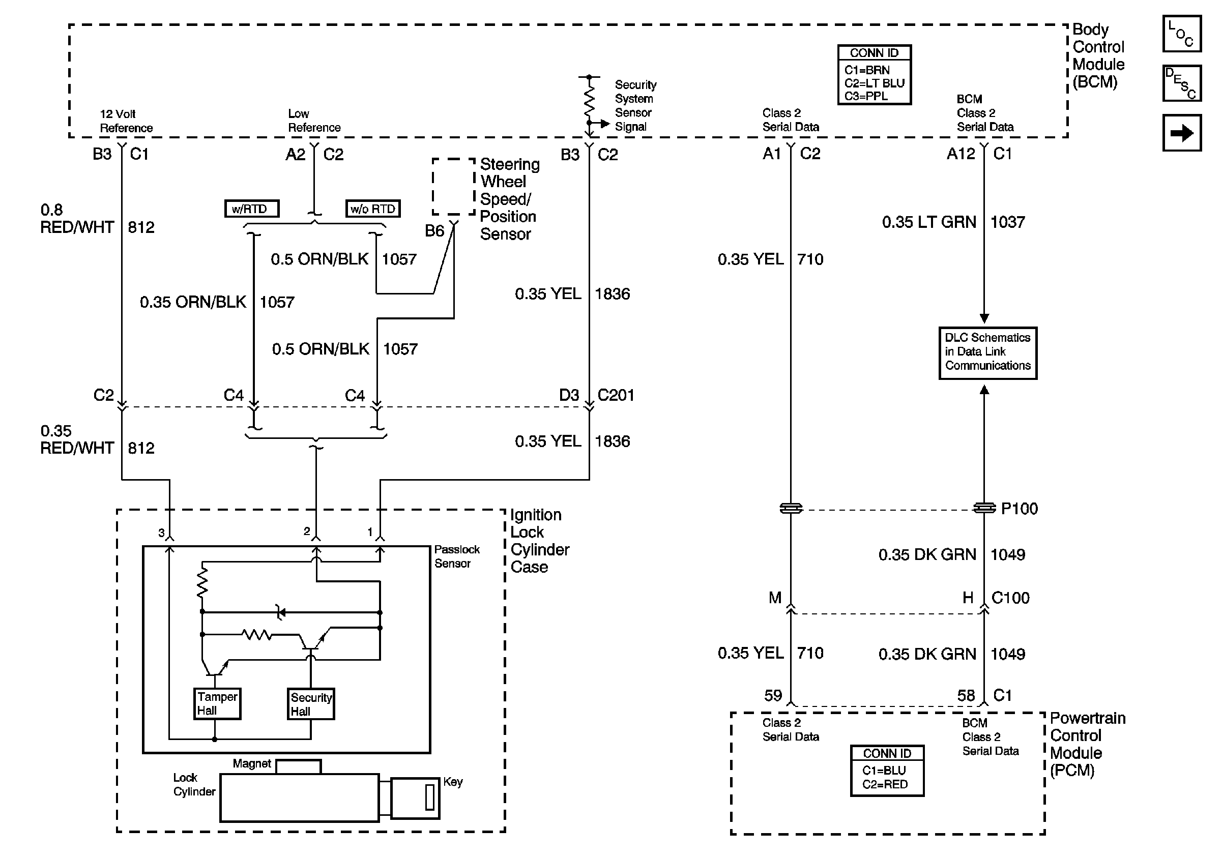
🢒 Steering Wheel Speed/Position Sensor, Passlock Sensor, DLC
Steering Wheel Speed/Position Sensor, Passlock Sensor, DLC
Steering Wheel Speed/Position Sensor, Passlock Sensor, DLC
Master Electrical Component List
Theft Systems Description and Operation
Door Jamb and Key Switches
Splice Pack SP205