GM Service Manual Online
For 1990-2009 cars only
Makes
🢒
Cadillac
🢒
2002
🢒
Escalade EXT
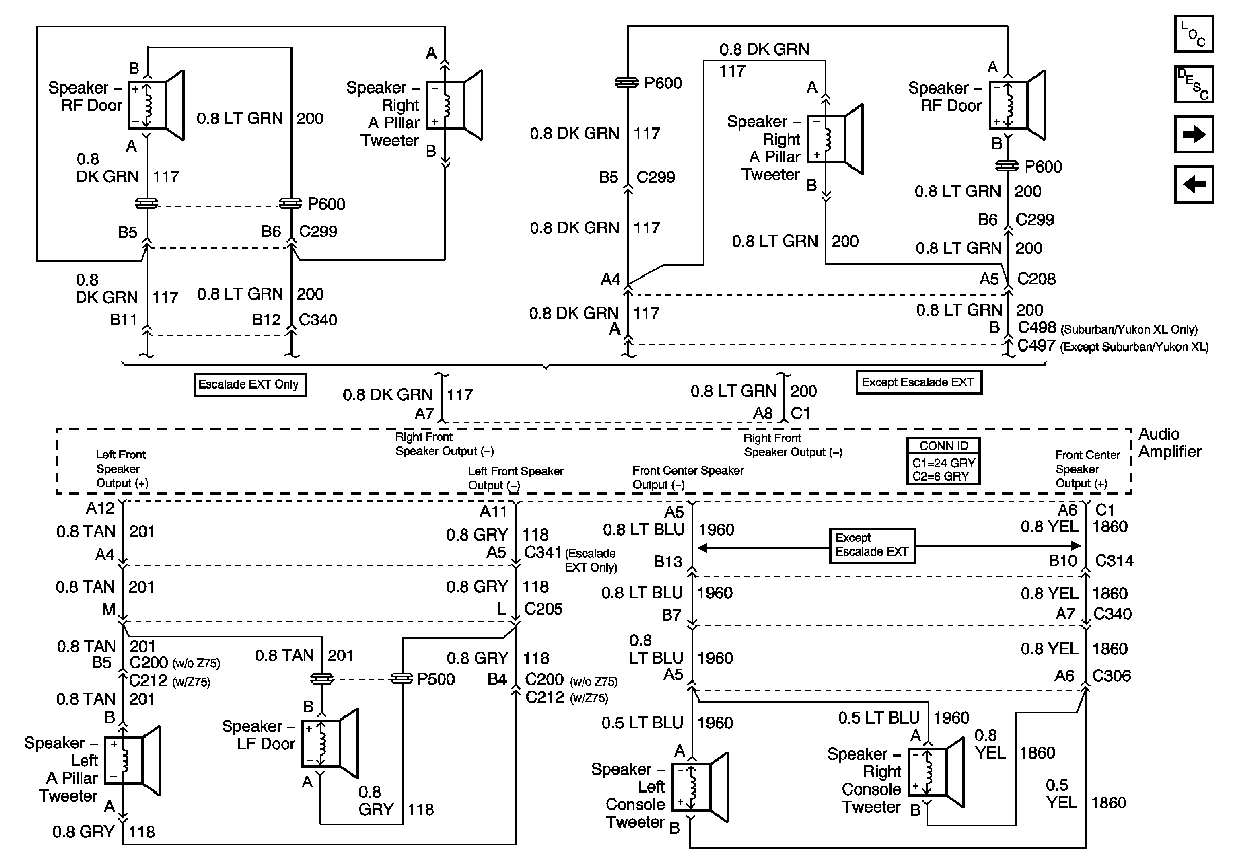
🢒 Front Speakers - Y91
Front Speakers - Y91
Front Speakers - Y91
Master Electrical Component List
Radio/Audio System Description and Operation
Rear Speakers - Y91
Remote Playback Device - CD Player - Y91