GM Service Manual Online
For 1990-2009 cars only
Makes
🢒
Cadillac
🢒
2002
🢒
Escalade EXT
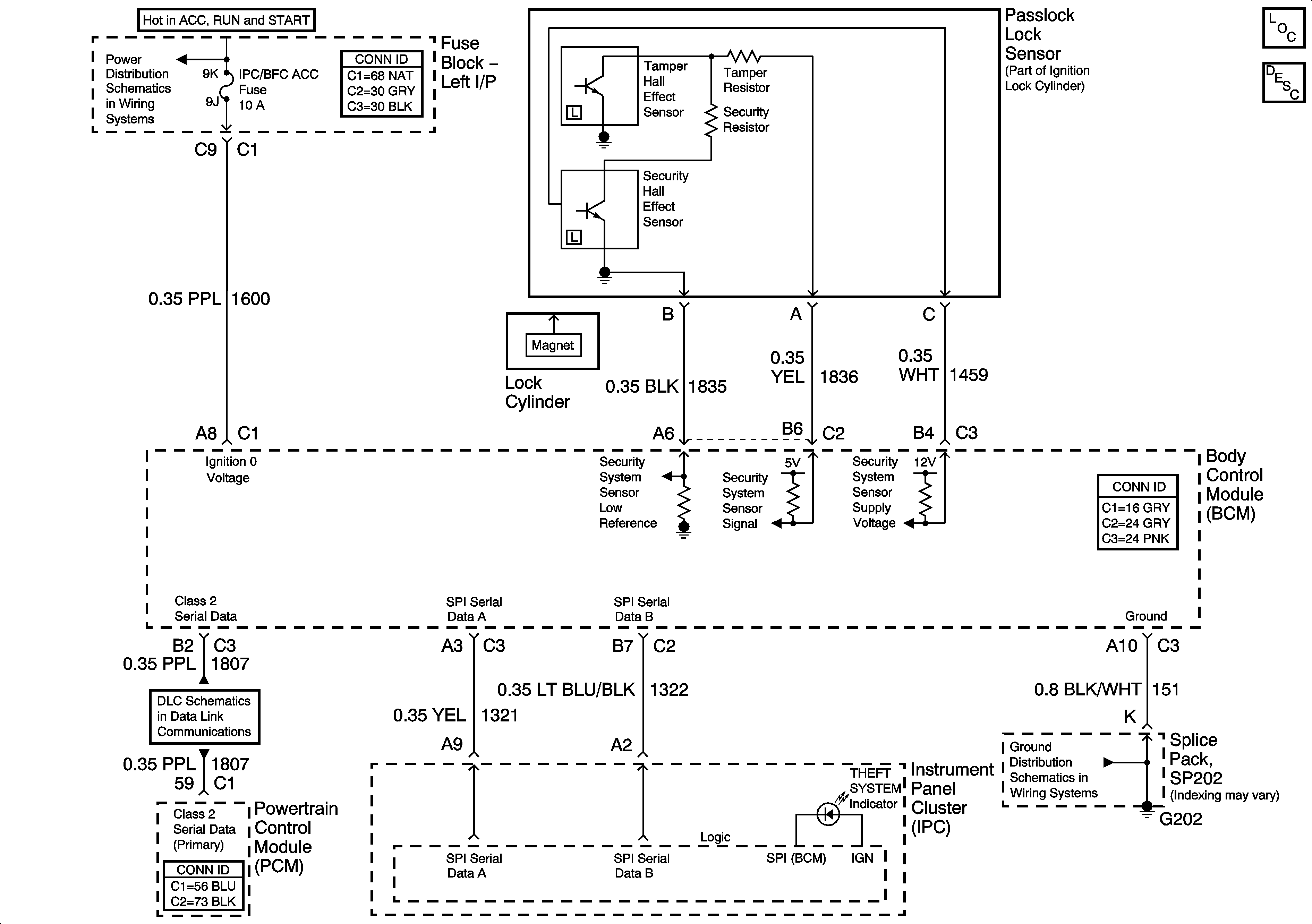
🢒 Theft Deterrent
Theft Deterrent
Master Electrical Component List
Theft Systems Description and Operation
SP202
Data Link Communication
IGN BATT 1, IGN SW BATT 2, Ignition Switch