GM Service Manual Online
For 1990-2009 cars only
Makes
🢒
Cadillac
🢒
2002
🢒
Escalade EXT
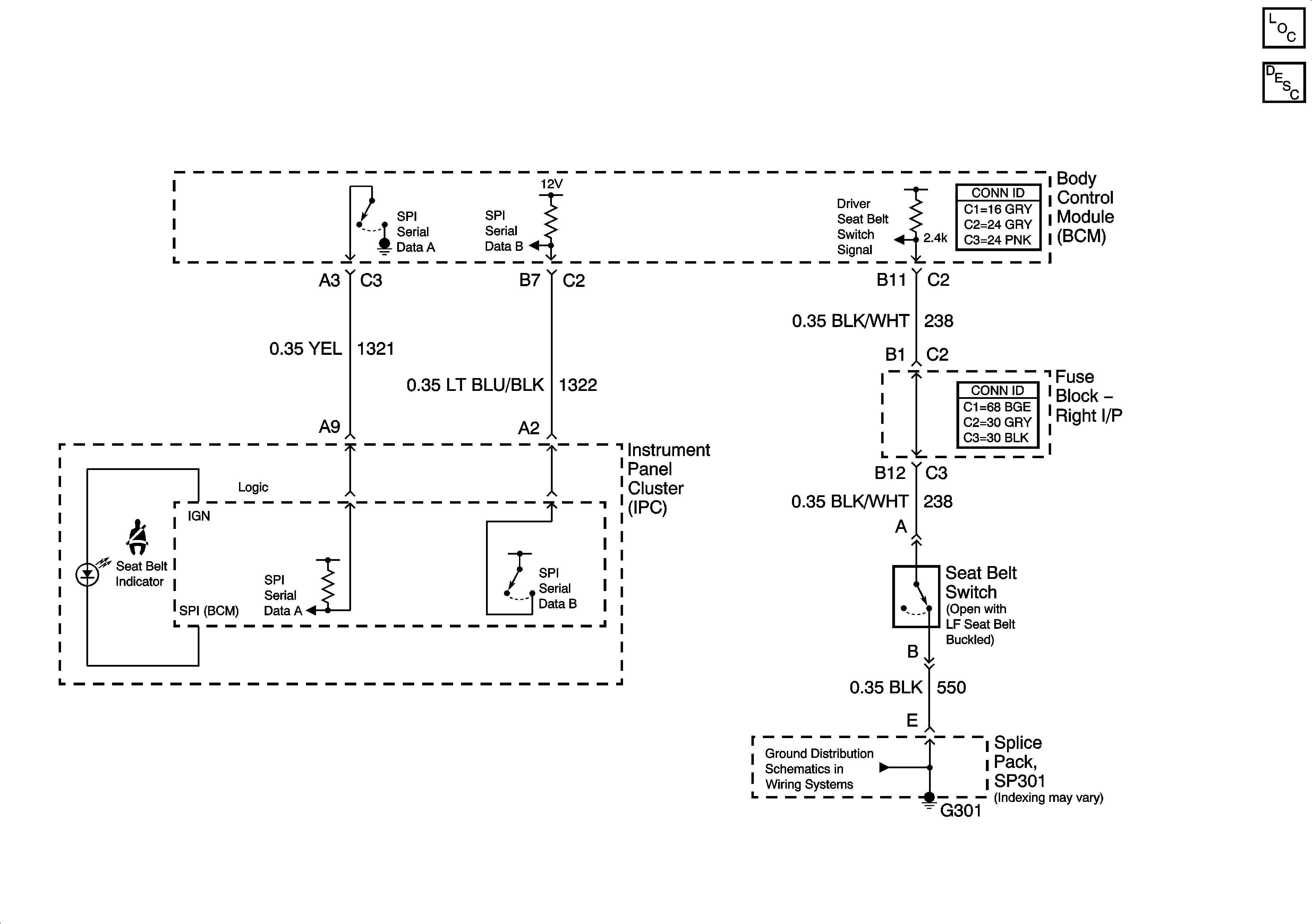
🢒 Seat Belt Indicator
Seat Belt Indicator
Master Electrical Component List
Seat Belt System Description and Operation
SP301