GM Service Manual Online
For 1990-2009 cars only
Makes
🢒
Cadillac
🢒
2002
🢒
Escalade EXT
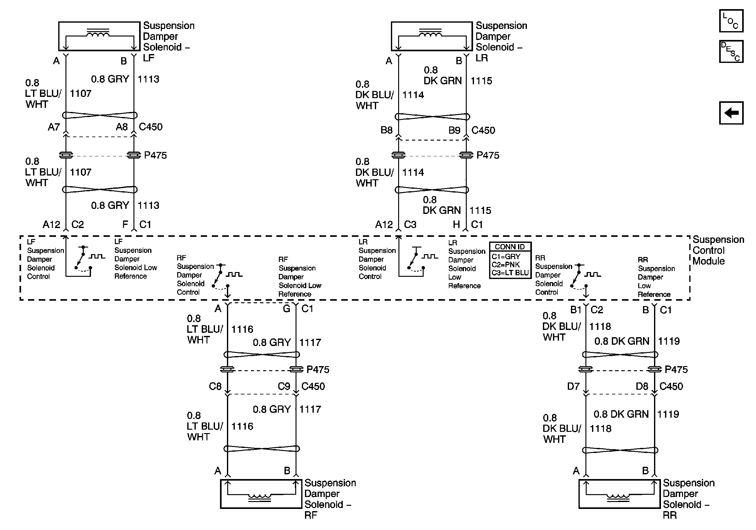
🢒 Suspension Damper Solenoids
Suspension Damper Solenoids
Suspension Damper Solenoids
Master Electrical Component List
Real Time Damping Description and Operation
Suspension Position Sensors