GM Service Manual Online
For 1990-2009 cars only
Makes
🢒
Cadillac
🢒
2002
🢒
Escalade EXT
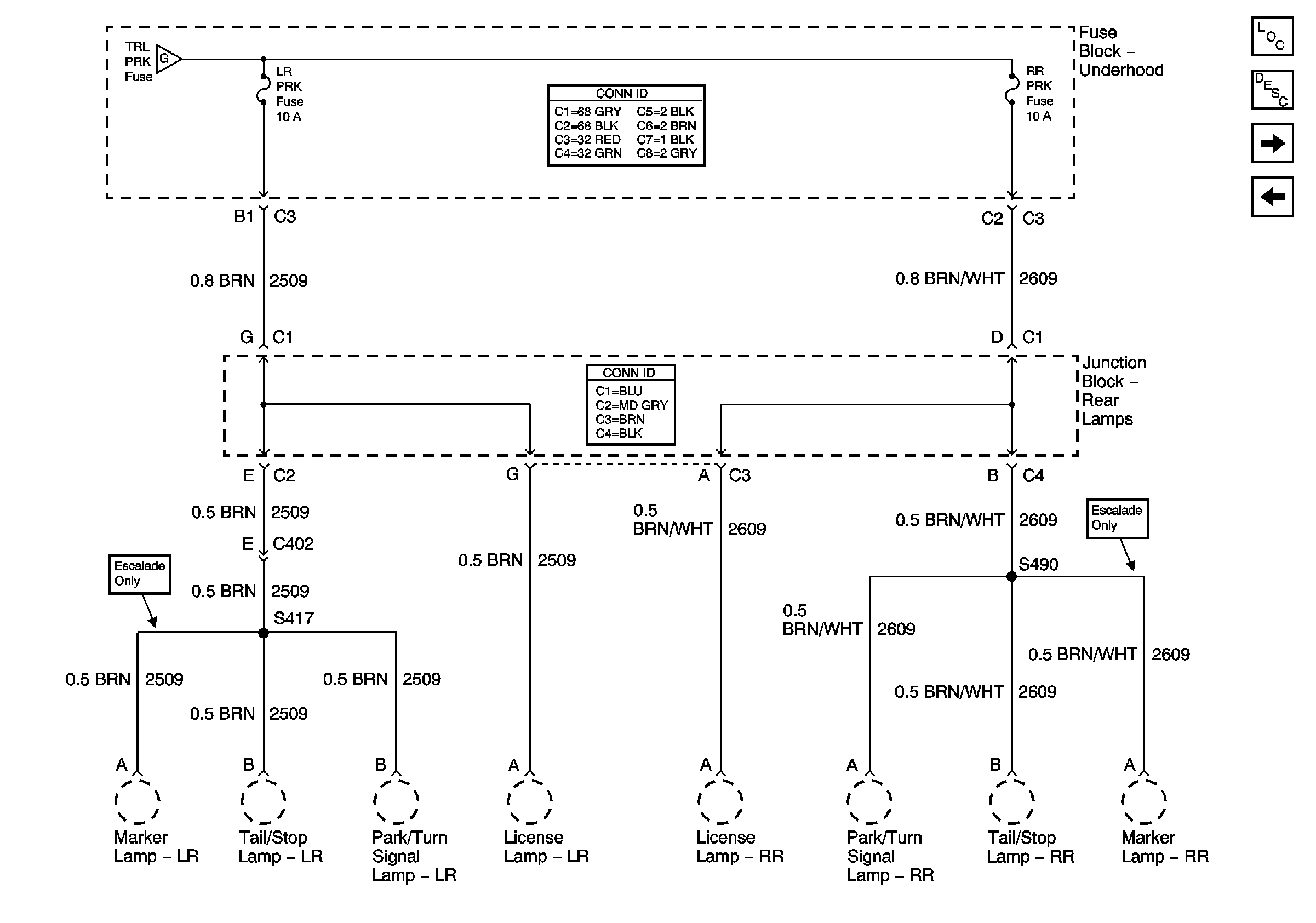
🢒 LR PRK and RR PRK Fuses - Escalade EXT and 2WD Escalade
LR PRK and RR PRK Fuses - Escalade EXT and 2WD Escalade
LR PRK and RR PRK Fuses - Escalade EXT and 2WD Escalade
Master Electrical Component List
IGN 1, SEO IGN, and AIR BAG Fuses
LR PRK and RR PRK Fuses - Avalanche and 4WD Escalade
FR PRK, TRL PRK, HORN Fuses, FOG LAMP and HORN Relays