GM Service Manual Online
For 1990-2009 cars only

Tools Required

J 42640 Steering Column Anti-Rotation Pin

Removal Procedure

    Caution: Refer to SIR Caution in the Preface section.

  1. Disable the supplemental inflatable restraint (SIR) system. Refer to SIR Disabling and Enabling in SIR.
  2. Remove the knee bolster. Refer to Knee Bolster Replacement in Instrument Panel, Gages and Console.

  3. Object Number: 333146  Size: SH

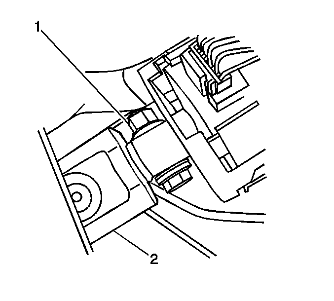
    Notice: The front wheels of the vehicle must be maintained in the straight ahead position and the steering column must be in the LOCK position before disconnecting the steering column or intermediate shaft. Failure to follow these procedures will cause improper alignment of some components during installation and result in damage to the SIR coil assembly.

  4. Lock the steering column through the access hole in the lower trim cover using J 42640 .
  5. Remove the body control module bracket. Do not disconnect the harness from the body control module. Refer to Body Control Module Replacement in Body Control System.

  6. Object Number: 748882  Size: SH
  7. Disconnect the transmission shift cable (1) from the column.

  8. Object Number: 401496  Size: SH
  9. Disconnect the steering column electrical connectors.

  10. Object Number: 748881  Size: SH

    Notice: During removal of the steering column the wire harness retaining clip must be removed and reinstalled after installing the steering column or damage may occur to the wire harness.

  11. Remove the wiring harness retaining pin (4) from the instrument panel.

  12. Object Number: 748880  Size: SH
  13. Remove the upper intermediate shaft pinch bolt (1) from the steering column, and remove the shaft from the steering column.

  14. Object Number: 748879  Size: SH
  15. Remove the nuts (1) from the knee bolster deflector.

  16. Object Number: 374713  Size: SH
  17. Remove the nuts from the upper support brackets.
  18. Remove the nuts from the lower support brackets.
  19. Notice: Once the steering column is removed from the vehicle, the column is extremely susceptible to damage. Dropping the column assembly on the end could collapse the steering shaft or loosen the plastic injections, which maintain column rigidity. Leaning on the column assembly could cause the jacket to bend or deform. Any of the above damage could impair the columns collapsible design. Do NOT hammer on the end of the shaft, because hammering could loosen the plastic injections, which maintain column rigidity. If you need to remove the steering wheel, refer to the Steering Wheel Replacement procedure in this section.

  20. Remove the steering column from the vehicle.

Installation Procedure


    Object Number: 374713  Size: SH

    Caution: In order to ensure the intended function of the steering column in a vehicle during a crash and in order to avoid personal injury to the driver, perform the following:

       • Tighten the steering column lower fasteners before you tighten the steering column upper fasteners. Failure to do this can damage the steering column.
       • Tighten the steering column fasteners to the specified torque. Overtightening the upper steering column fasteners could affect the steering column collapse.

  1. Install the steering column to the vehicle.
  2. Notice: Use the correct fastener in the correct location. Replacement fasteners must be the correct part number for that application. Fasteners requiring replacement or fasteners requiring the use of thread locking compound or sealant are identified in the service procedure. Do not use paints, lubricants, or corrosion inhibitors on fasteners or fastener joint surfaces unless specified. These coatings affect fastener torque and joint clamping force and may damage the fastener. Use the correct tightening sequence and specifications when installing fasteners in order to avoid damage to parts and systems.

  3. Install the lower column nuts.
  4. Tighten
    Tighten the nuts to 30 N·m (22 lb ft).

  5. Install the nuts to upper support brackets.
  6. Tighten
    Tighten the nuts to 30 N·m (22 lb ft).


    Object Number: 748879  Size: SH
  7. Install the nuts (1) which retain the knee bolster deflector to the instrument panel.
  8. Tighten
    Tighten the retaining nuts to 9 N·m (80 lb in).


    Object Number: 748881  Size: SH
  9. Install the wiring harness retaining (4) pin to the instrument panel.

  10. Object Number: 401496  Size: SH
  11. Connect the steering column electrical connectors to the vehicle wiring harness.
  12. Tighten
    Tighten the connector to 6 N·m (53 lb in).


    Object Number: 748882  Size: SH
  13. Connect the transmission shift cable (1) to the steering column.
  14. Install the body control module bracket. Refer to Body Control Module Replacement in Body Control System.
  15. Install the knee bolster. Refer to Knee Bolster Replacement in Instrument Panel, Gages, and Console.
  16. Enable the SIR system. Refer to SIR Disabling and Enabling in SIR.

  17. Object Number: 333146  Size: SH
  18. Remove J 42640 from the steering column.