GM Service Manual Online
For 1990-2009 cars only

Removal Procedure

Notice: The front shock absorbers of the vehicle are multifunctional. In addition to contributing to a smooth ride they also provide the only stop to the front suspension when fully extended. Therefore, when servicing the shock absorber, service replacement shock absorbers must be equivalent to original shock absorbers in both extended length and strength. Use of shocks not complying to original equipment or strength could result in suspension over-travel or shock breakage. Suspension over-travel may result in suspension component breakage.

  1. Raise and support the vehicle. Refer to Lifting and Jacking the Vehicle in General Information.

  2. Object Number: 160827  Size: SH
  3. Support the lower control arm with a jack stand.
  4. Disconnect the Electronic suspension Control (ESC) link rod from the sensor, if equipped. Refer to Electronic Suspension Front Position Sensor Link Assembly Replacement in Electronic Suspension Control.

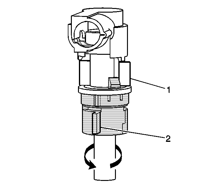
  5. Object Number: 395125  Size: SH
  6. Grasp the connector lock tabs (1, 2). Rotate the connector tabs counterclockwise until the connector is unlocked.
  7. Disengage the connector from the tennon by firmly pulling the connector up.
  8. Hold the tennon end with a wrench while removing the nut.
  9. Remove the nut.

  10. Object Number: 477707  Size: SH
  11. Remove the upper insulator (1). Do not discard the plastic pilot ring (2).

  12. Object Number: 348386  Size: SH
  13. Remove the shock absorber mounting bolt at the lower control arm, 15 Series.

  14. Object Number: 353965  Size: SH
  15. Remove the shock absorber mounting bolt (2) at the lower control arm, 25/35 Series.
  16. Remove the shock absorber.

Installation Procedure

  1. Install the shock absorber. Insert the stem through the hole in the shock bracket on the frame.

  2. Object Number: 348386  Size: SH
  3. Align the shock absorber with the mounting holes in the lower control arm, 15 Series.

  4. Object Number: 353965  Size: SH
  5. Align the shock absorber with the mounting holes in the lower control arm, 25/35 Series.
  6. Install the shock absorber bolt (2) to the lower control arm.
  7. Notice: Use the correct fastener in the correct location. Replacement fasteners must be the correct part number for that application. Fasteners requiring replacement or fasteners requiring the use of thread locking compound or sealant are identified in the service procedure. Do not use paints, lubricants, or corrosion inhibitors on fasteners or fastener joint surfaces unless specified. These coatings affect fastener torque and joint clamping force and may damage the fastener. Use the correct tightening sequence and specifications when installing fasteners in order to avoid damage to parts and systems.

  8. Install the shock absorber nut (3) to the bolt.
  9. Tighten
    Tighten the nut to 80 N·m (59 lb ft).


    Object Number: 477707  Size: SH

    Important: The upper insulators are substantially larger that the lower insulators. The upper insulator (1) must be installed above the shock mounting bracket on the frame. The plastic pilot ring (2) will assist the alignment of the isolators.

  10. Install the upper insulator to the shock absorber.
  11. Install the nut to the tennon end. Do not tighten the nut.
  12. Connect the ESC link rod to the sensor, if equipped. Refer to Electronic Suspension Front Position Sensor Link Assembly Replacement in Electronic Suspension Control.
  13. Remove the safety stands.
  14. Lower the vehicle.
  15. Hold the tennon end with a wrench while torquing the nut.
  16. Tighten
    Tighten the nut to 20 N·m (15 lb ft).

  17. Dispose of the shock absorber. Refer to Shock Absorber Disposal .