GM Service Manual Online
For 1990-2009 cars only

Tools Required

J 36202 Torsion Bar Unloading/Loading Tool

Removal Procedure

    Notice: Use care when handling the torsion bars in order to avoid chipping or scratching the coating. Damage to the coating will result in premature failure of the torsion bars.

  1. Raise and support the vehicle. Refer to Lifting and Jacking the Vehicle in General Information.

  2. Object Number: 360742  Size: SH
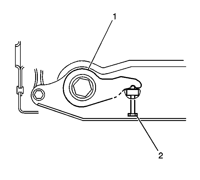
  3. Install the J 36202 to the adjustment arm and the crossmember .
  4. Increase the tension on the adjustment arm until the load is removed from the adjustment bolt and the adjuster nut.

  5. Object Number: 348349  Size: SH

    Important: Mark the adjustment bolt and count the number of times that is required to remove the adjustment bolt.

  6. Remove the adjustment bolt (3) and the adjuster nut (4).
  7. Remove the J 36202 , allowing the torsion bar to unload.

  8. Object Number: 165128  Size: SH
  9. Remove the adjustment arm by sliding the torsion bar forward until the torsion bar clears the adjustment arm. Use your hand to support the adjustment arm as the adjustment arm releases from the torsion bar.

  10. Object Number: 348347  Size: SH
  11. Remove the torsion bar crossmember bolts (4) from the weld nuts (1).
  12. Important: Note the position of the torsion bars as the left and right bars are different.


    Object Number: 165137  Size: SH
  13. Remove the torsion bars from the vehicle.

Installation Procedure


    Object Number: 165137  Size: SH
  1. Install the torsion bars to the lower control arm.
  2. Install the torsion bar crossmember.

  3. Object Number: 348347  Size: SH

    Notice: Use the correct fastener in the correct location. Replacement fasteners must be the correct part number for that application. Fasteners requiring replacement or fasteners requiring the use of thread locking compound or sealant are identified in the service procedure. Do not use paints, lubricants, or corrosion inhibitors on fasteners or fastener joint surfaces unless specified. These coatings affect fastener torque and joint clamping force and may damage the fastener. Use the correct tightening sequence and specifications when installing fasteners in order to avoid damage to parts and systems.

  4. Install the torsion bar crossmember bolts (1) to the weld nuts (4).
  5. Tighten
    Tighten the bolt to 95 N·m (70 lb ft).


    Object Number: 360742  Size: SH
  6. While supporting the adjustment arm, slide the torsion bar rearward until the torsion bar fully engages the adjustment arm.
  7. Install the J 36202 to the adjustment arm and the crossmember.
  8. Increase the tension on the adjustment arm in order to load the torsion bar.

  9. Object Number: 348349  Size: SH

    Important: Install the adjustment bolt the same amount of turns that were required to remove the bolt during removal.

  10. Install the adjustment bolt (3) and the adjuster nut (4).
  11. Remove the J 36202 releasing the tension on the torsion bar until the load is taken up by the adjustment bolt.
  12. Remove the safety stands.
  13. Lower the vehicle.
  14. Measure the Z height. Refer to Trim Height Inspection in Suspension General Diagnosis.

  15. Object Number: 516269  Size: SH
  16. Turn the adjustment bolt (2) clockwise to increase the Z height and counterclockwise to decrease the Z height.