GM Service Manual Online
For 1990-2009 cars only

Drive Pinion Bearings Replacement 9.75 Inch Axle

Tools Required

    • J 22536 Pinion Driver
    • J 22912-B Split-Plate Bearing Puller
    • J 42176 Universal Driver Handle - Non-Threaded
    • J 45703 Pinion Bearing Race Remover - Dana 248
    • J 45704 Pinion Bearing Race Installer - Dana 248
    • J 45705 Pinion Bearing Race Remover - Dana 248/267
    • J 7818 Inner Bearing Race Installer
    • J 8092 Universal Drive Handle - ¾ in - 10

Removal Procedure

  1. Raise the vehicle. Refer to Lifting and Jacking the Vehicle in General Information.
  2. Remove the differential assembly. Refer to Differential Replacement .
  3. Remove the pinion yoke and the pinion oil seal. Refer to Drive Pinion Flange/Yoke and/or Oil Seal Replacement .

  4. Object Number: 815631  Size: SH
  5. Remove the thrust washer.

  6. Object Number: 683960  Size: SH
  7. Install the J 22536 as shown.
  8. Ensure that the J 22536 is firmly seated on the pinion.

  9. Drive the pinion out using the J 22536 and a hammer.
  10. Strike the J 22536 slowly. Do not let the pinion fall out of the rear axle housing.

  11. Remove the pinion preload shims from the drive pinion and set aside.

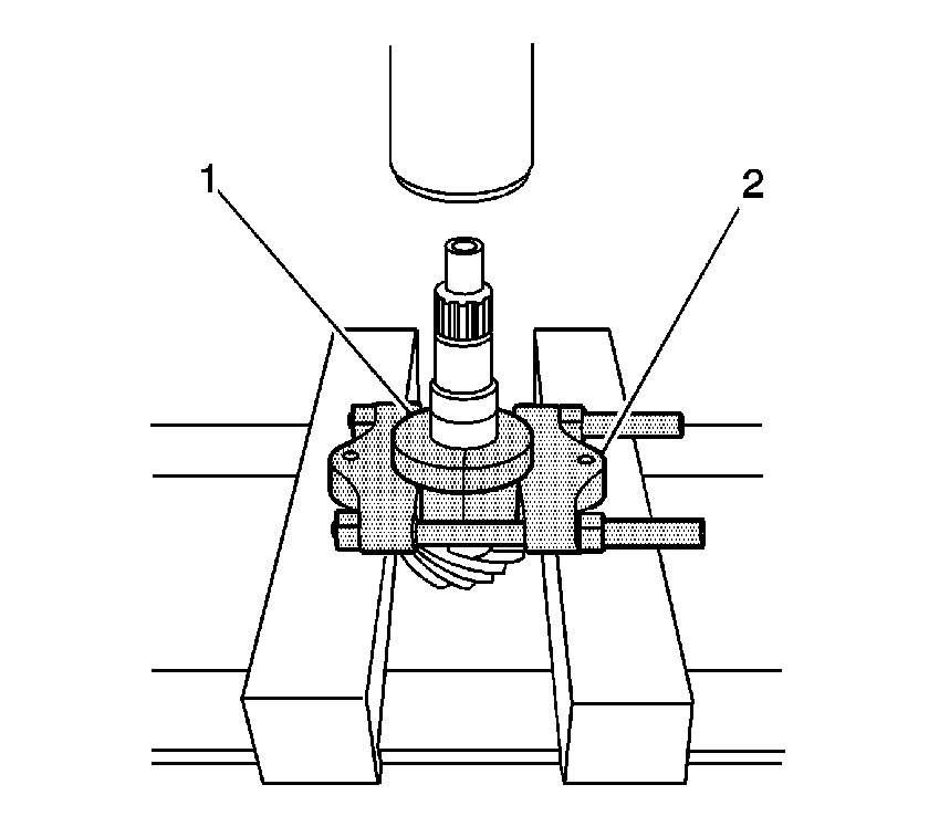
  12. Object Number: 815472  Size: SH
  13. Remove the inner pinion bearing cup and the oil deflector using the J 45703  (2) and the J 42176  (1).
  14. Remove the outer pinion bearing cup using the J 45705 and the J 42176 .

  15. Object Number: 680110  Size: SH
  16. Remove the inner pinion bearing using the J 22912-B and a hydraulic press.
  17. Remove the pinion position shim.

Installation Procedure


    Object Number: 815458  Size: SH
  1. Install the oil deflector into the inner pinion cup bore.

  2. Object Number: 815642  Size: SH
  3. Install the inner pinion bearing cup using the J 45704  (2) and the J 8092  (1).

  4. Object Number: 815636  Size: SH
  5. Install the outer pinion bearing cup using the J 7818  (2) and the J 8092  (1).
  6. Determine the pinion position shim thickness and the pinion preload shim thickness for the drive pinion. Refer to Pinion Depth Adjustment .
  7. Install the differential assembly. Refer to Differential Replacement .
  8. Fill the axle with lubricant. Use the proper fluid. Refer to Rear Axle Lubricant Replacement .
  9. Lower the vehicle.

Drive Pinion Bearings Replacement 10.5 Inch Axle

Tools Required

    • J 22761 Differential Side Bearing Installer
    • J 8614-01 Flange and Pulley Holding Tool
    • J 37624 Pinon Bearing Installer
    • J 24433 Pinion Cone and Side Bearing Installer
    • J 22912-B Split Plate Bearing Puller
    • J 44414 Rear Axle Pinion Oil Seal Installer
    • J 8608 Rear Pinion Bearing Installer
    • J 8092 Universal Driver Handle - ¾ in - 10

Removal Procedure

  1. Raise the vehicle. Refer to Lifting and Jacking the Vehicle.
  2. Remove the differential assembly. Refer to Differential Replacement.
  3. Remove the pinion gear bearing retainer. Refer to Drive Pinion Housing and/or Seal Replacement.
  4. Remove the pinion yoke and the oil seal. Refer to Drive Pinion Housing and/or Seal Replacement.
  5. Remove the outer pinion bearing.

  6. Object Number: 694822  Size: SH
  7. Remove the pinion.

  8. Object Number: 739955  Size: SH
  9. Remove the collapsible spacer.

  10. Object Number: 680110  Size: SH
  11. Remove the inner pinion bearing from the pinion using the J 22912-B and a hydraulic press.

  12. Object Number: 739944  Size: SH
  13. Remove the outer pinion bearing cup using a hammer and a brass drift in the slots provided.
  14. Move the drift back and forth between one side of the cup and the other in order to work the cups out of the retainer evenly.


    Object Number: 739945  Size: SH
  15. Remove the inner pinion bearing cup using a hammer and a brass drift in the slots provided.
  16. Move the drift back and forth between one side of the cup and the other in order to work the cups out of the retainer evenly.


    Object Number: 694509  Size: SH
  17. Remove the pinion gear pilot bearing using a brass drift and a hammer.

Installation Procedure

  1. Install the pinion gear pilot bearing using the J 22761 .

  2. Object Number: 739952  Size: SH
  3. Install the inner pinion bearing cup into the pinion gear bearing retainer using the J 37624  (2) and the J 8092  (1).

  4. Object Number: 739946  Size: SH
  5. Install the outer pinion bearing cup into the pinion gear bearing retainer using the J 8608  (2) and the J 8092  (1).

  6. Object Number: 739953  Size: SH
  7. Install the inner pinion bearing using the J 24433 .
  8. Press the bearing on until the cone seats on the pinion.

  9. Install a new collapsible spacer.
  10. Lubricate the pinion bearings with axle lubricant. Use the proper fluid. Refer to Fluid and Lubricant Recommendations.
  11. Install the outer pinion bearing into the pinion bearing retainer.
  12. Install a new pinion oil seal using the J 44414 .

  13. Object Number: 739961  Size: SH
  14. Install the pinion into the pinion gear bearing retainer.
  15. Apply sealant, GM  P/N 12346004 (Canadian P/N 10953480) or equivalent, to the splines of the pinion yoke.

  16. Object Number: 788905  Size: SH
  17. Install the pinion yoke.
  18. Align the marks made during removal.

    Notice: Refer to Pinion Flange/Yoke Installation Notice in the Preface section.

  19. Seat the pinion yoke onto the pinion shaft by tapping it with a soft-faced hammer until a few threads show through the yoke.
  20. Install the washer and a new pinion nut.

  21. Object Number: 694814  Size: SH
  22. Install the J 8614-01 onto the pinion yoke.
  23. Notice: Refer to Fastener Notice in the Preface section.

    Important: If the rotating torque is exceeded, the pinion will have to be removed and a new collapsible spacer installed.

  24. Tighten the pinion nut while holding the J 8614-01 .
  25. Tighten
    Tighten the pinion nut until the pinion end play is just taken up. Rotate the pinion while tightening the nut to seat the bearings.

  26. Remove the J 8614-01 .
  27. Important:  Do not apply sealant to the pinion gear bearing retainer at this time.

  28. Install the original shim to the pinion bearing retainer. If the original shim is not available, install a 0.41 mm (0.016 in) shim to build pinion depth.
  29. Install the pinion gear bearing retainer to the axle housing.
  30. Install the pinion bearing retainer bolts.
  31. Tighten
    Tighten the pinion gear retainer bolts to 88 N·m (65 lb ft).


    Object Number: 661077  Size: SH
  32. Measure the rotating torque of the pinion using an inch-pound torque wrench.
  33. Specification
    The rotating torque of the pinion should be between 1.0-2.3 N·m (10-20 lb in) for used bearings, or 1.7-3.4 N·m (15-30 lb in) for new bearings .

  34. If the rotating torque measurement is below 1.0 N·m (10 lb in) for used bearings, or 1.7 N·m (15 lb in) for new bearings, install the J 8614-01 and continue to tighten the pinion nut.
  35. Tighten
    Tighten the pinion nut, in small increments, as needed, until the torque required in order to rotate the pinion is between 1.0-2.3 N·m (10-20 lb in) for used bearings, or 1.7-3.4 N·m (15-30 lb in) for new bearings.

  36. Once the specified torque is obtained, rotate the pinion several times to ensure the bearings have seated.
  37. Recheck the rotating torque and adjust if necessary.

  38. Install the differential assembly. Refer to Differential Replacement.
  39. Adjust the differential side bearing preload. Refer to Differential Carrier Bearing Preload Adjustment.
  40. Determine the selective shim thickness for the drive pinion. Refer to Pinion Depth Adjustment.
  41. Adjust the backlash. Refer to Backlash Adjustment.
  42. Fill the axle with lubricant. Use the proper fluid. Refer to Rear Axle Lubricant Replacement.
  43. Lower the vehicle.

Drive Pinion Bearings Replacement 8.6, 9.5 Inch Axles

Tools Required

    • J 7818 Inner Bearing Race Installer
    • J 8092 Universal Driver Handle - ¾ in - 10
    • J 8611-01 Rear Pinion Bearing Race Installer
    • J 8614-01 Flange and Pulley Holding Tool
    • J 22306 Rear Pinion Cup Bearing Installer
    • J 22912-B Split Plate Bearing Puller
    • J 24433 Pinion Cone and Side Bearing Installer
    • J 36614 Inner Pinion Bearing Installer
    • J 45870 Pinion Bearing Cup Installer
    • J 45871 Pinion Bearing Remover

Removal Procedure

  1. Raise the vehicle. Refer to Lifting and Jacking the Vehicle in General Information.
  2. Remove the differential assembly. Refer to Differential Replacement .
  3. Remove the drive pinion from the axle. Refer to Drive Pinion and Ring Gear Replacement .

  4. Object Number: 911228  Size: SH
  5. For the 8.6 inch axle, install the J 45871  (1) around the pinion bearing and the J 22912-B  (2) in the inverted position around the J 45871 .
  6. Press the bearing off of the pinion using the J 45871 and the J 22912-B .

  7. Object Number: 680110  Size: SH
  8. For the 9.5 inch and 11.5 inch axles, press the bearing off of the drive pinion using the J 22912-B .
  9. Remove the shim.

  10. Object Number: 889100  Size: SH
  11. Remove the outer pinion bearing cup from the axle housing using a hammer and a brass drift in the slots provided. Move the drift back and forth between one side of the cup and the other in order to work the cups out of the housing evenly.

  12. Object Number: 889098  Size: SH
  13. Remove the inner pinion bearing cup from the axle housing using a hammer and a brass drift in the slots provided. Move the drift back and forth between one side of the cup and the other in order to work the cups out of the housing evenly.

Installation Procedure


    Object Number: 889101  Size: SH
  1. Install the outer pinion bearing cup using the J 8611-01 , 8.6 inch axle, or the J 7818 , 9.5 inch axle (1), and the J 8092  (2).

  2. Object Number: 651743  Size: SH
  3. Install the inner pinion bearing cup using the J 45870 , 8.6 inch axle, or the J 22306 , 9.5 inch axle (2), and the J 8092  (1).
  4. Determine the selective shim thickness for the drive pinion. Refer to Pinion Depth Adjustment .
  5. Install the selective shim between the inner pinion bearing and the shoulder on the gear.

  6. Object Number: 651742  Size: SH
  7. Install the inner pinion bearing using theJ 24433 or the J 36614 .
  8. Press the bearing on until the cone seats on the pinion shim.

  9. Install a new collapsible spacer.
  10. Lubricate the pinion bearings with axle lubricant. Use the proper fluid. Refer to Fluid and Lubricant Recommendations in Maintenance and Lubrication.
  11. Install the outer pinion bearing into the axle housing.

  12. Object Number: 889108  Size: SH
  13. Install a new pinion oil seal using theJ 22388 .
  14. Install the pinion into the axle housing.
  15. Apply sealant, GM P/N 12346004 (Canadian P/N 10953480) or equivalent, to the splines of the pinion yoke.

  16. Object Number: 788905  Size: SH
  17. Install the pinion yoke.
  18. Align the marks made during removal.

    Notice: Refer to Pinion Flange/Yoke Installation Notice in the Preface section.

  19. Seat the pinion yoke onto the pinion shaft by tapping it with a soft-faced hammer until a few threads show through the yoke.
  20. Install the washer and a new pinion nut.

  21. Object Number: 788482  Size: SH
  22. Install the J 8614-01 onto the pinion yoke as shown.
  23. Notice: Refer to Fastener Notice in the Preface section.

    Important: If the rotating torque is exceeded, the pinion will have to be removed and a new collapsible spacer installed.

  24. Tighten the pinion nut while holding the J 8614-01 .
  25. Tighten
    Tighten the pinion nut until the pinion end play is just taken up. Rotate the pinion while tightening the nut to seat the bearings.


    Object Number: 661077  Size: SH
  26. Measure the rotating torque of the pinion using an inch-pound torque wrench.
  27. Specification
    The rotating torque of the pinion should be between 1.0-2.3 N·m (10-20 lb in) for used bearings, or 1.7-3.4 N·m (15-30 lb in) for new bearings .

  28. If the rotating torque measurement is below 1.0 N·m (10 lb in) for used bearings, or 1.7 N·m (15 lb in) for new bearings, continue to tighten the pinion nut.
  29. Tighten
    Tighten the pinion nut, in small increments, as needed, until the torque required in order to rotate the pinion is between 1.0-2.3 N·m (10-20 lb in) for used bearings, or 1.7-3.4 N·m (15-30 lb in) for new bearings.

  30. Once the specified torque is obtained, rotate the pinion several times to ensure the bearings have seated.
  31. Recheck the rotating torque and adjust if necessary.

  32. Install the differential assembly. Refer to Differential Replacement .
  33. Fill the axle with lubricant. Use the proper fluid. Refer to Rear Axle Lubricant Replacement .
  34. Lower the vehicle.