GM Service Manual Online
For 1990-2009 cars only

General Operation


Object Number: 857330  Size: SH

The New Venture Gear model NVG 246 RPO NP8 transfer case is a two speed automatic, active, transfer case. The NVG 246 transfer case has many changes from prior years. The NVG 246 is now classified as an Electronic Architect Upgrade (EAU). The upgrades to the NVG 246 EAU include some of the following internal changes:

    • A new encoder motor for faster operation in the AWD mode.
    • The control actuator lever (3) is a new design with different cam angles.
    • The shift detent plunger and spring is no longer used.
    • The clutch assembly (1) uses a new style return spring and clutch washer.
    • A new rear output shaft (2) no longer uses a retaining ring by the oil pump.
    • The range shift fork (4) is a newer design.

The NVG 246 EAU provides 5 modes, Auto 4WD, 4HI, 4LO, 2HI and Neutral. The Auto 4WD position allows the capability of an active transfer case, which provides the benefits of on-demand torque biasing wet clutch and easy vehicle tuning through software calibrations. The software calibrations allow more features such as flexible adapt ready position and clutch preload torque levels. The technology allows for vehicle speed dependent clutch torque levels to enhance the performance of the system. For example, the system is calibrated to provide 0-5 ft lb of clutch torque during low speed, low engine torque operation, and predetermined higher torque for 40 km/h (25 mph) and greater. This prevents crow-hop and binding at low speeds and provides higher torque biases at higher vehicle speeds, in order to enhance stability.

Transfer Case Shift Control Switch


Object Number: 1385648  Size: SH

The NVG 246 EAU transfer case features a 4 button shift control switch located on the instrument panel. When the ignition key is in the RUN position, the transfer case shift control module monitors the transfer case shift control switch to determine if the driver desires a new mode/range position. At a single press of the transfer case shift control switch, the lamp of the new desired position will begin flashing to inform the driver that the transfer case shift control module has received the request for a new mode/range position. The lamp will continue to flash until all shifting criteria has been met and the new mode/range position has been reached, or has been engaged. Once the new mode/range position is fully active, the switch indicator lamp for the new position will remain ON constantly.

During normal driving situations, the transfer case can operate in the Auto 4WD mode. In the Auto 4WD mode, the transfer case shift control module monitors rear wheel slip speed, based on the inputs from both the front and rear propshaft speed sensors. When the vehicle experiences a rear wheel slip condition, the transfer case shift control module sends a pulse width modulated (PWM) signal to an electronic motor, which is the transfer case encoder motor. This motor rotates the transfer case control actuator lever shaft, applying a clutch pack. This clutch pack is designed to deliver a variable amount of torque, normally delivered to the rear wheels, and transfers it to the front wheels. Torque is ramped up to the front wheels until the front propshaft speed sensor matches that of the rear propshaft speed sensor. Torque is ramped down to the front wheels. The process would repeat if rear wheel slip is detected again.

The NVG 246 EAU transfer case has the added feature of also providing the driver with 3 manual mode/range positions:

    • 4HI - 4 Wheel Drive high range
    • 2HI - 2 Wheel Drive high range
    • 4LO - 4 Wheel Drive low range

The driver may choose to select any of these mode/range positions while driving the vehicle. However, the transfer case will not allow a shift into or out of 4LO unless the following criteria has been met:

    • The engine is running.
    • The automatic transmission is in Neutral.
    • The vehicle speed is below 5 km/h (3 mph).

This transfer case also has a Neutral position. A shift to the Neutral position allows the vehicle to be towed without rotating the transmission output shaft. Neutral position may be obtained only if the following criteria has been met:

    • The engine is running.
    • The automatic transmission is in Neutral.
    • The vehicle speed is below 5 km/h (3 mph).
    • The transfer case is in 2HI mode.

Once these conditions have been met, press and hold both the 2HI and 4LO buttons for 10 seconds. When the system completes the shift to neutral, the red neutral lamp will illuminate.

The NVG 246 EAU case halves are high-pressure die-cast magnesium. Ball bearings support the input shaft, the front output shaft, and the rear output shaft. A thrust bearing is located inside of the input shaft gear to support the front of the rear output shaft. The transfer case requires Auto Trac® II Fluid GM P/N 12378508 (Canadian P/N 10953626) which is blue in color. The fluid is designed for smooth clutch application. An oil pump, driven by the rear output shaft, pumps the fluid through the rear output shaft oil gallery to the clutch and bearings.

There are two versions of the NVG 246 EAU, which depend on the transmission applications and vehicle applications. If the vehicle is equipped with a transmission RPO M30, the transmission splines in the input gear will have 27 teeth. With this application the planetary carrier assembly will have 4 pinion gears. If the vehicle is equipped with transmission RPO MT1 or MN8, the transmission splines in the input gear will have 32 teeth. The planetary carrier assembly on this application will have 6 pinion gears.

2WD Power Flow


Object Number: 857332  Size: LF

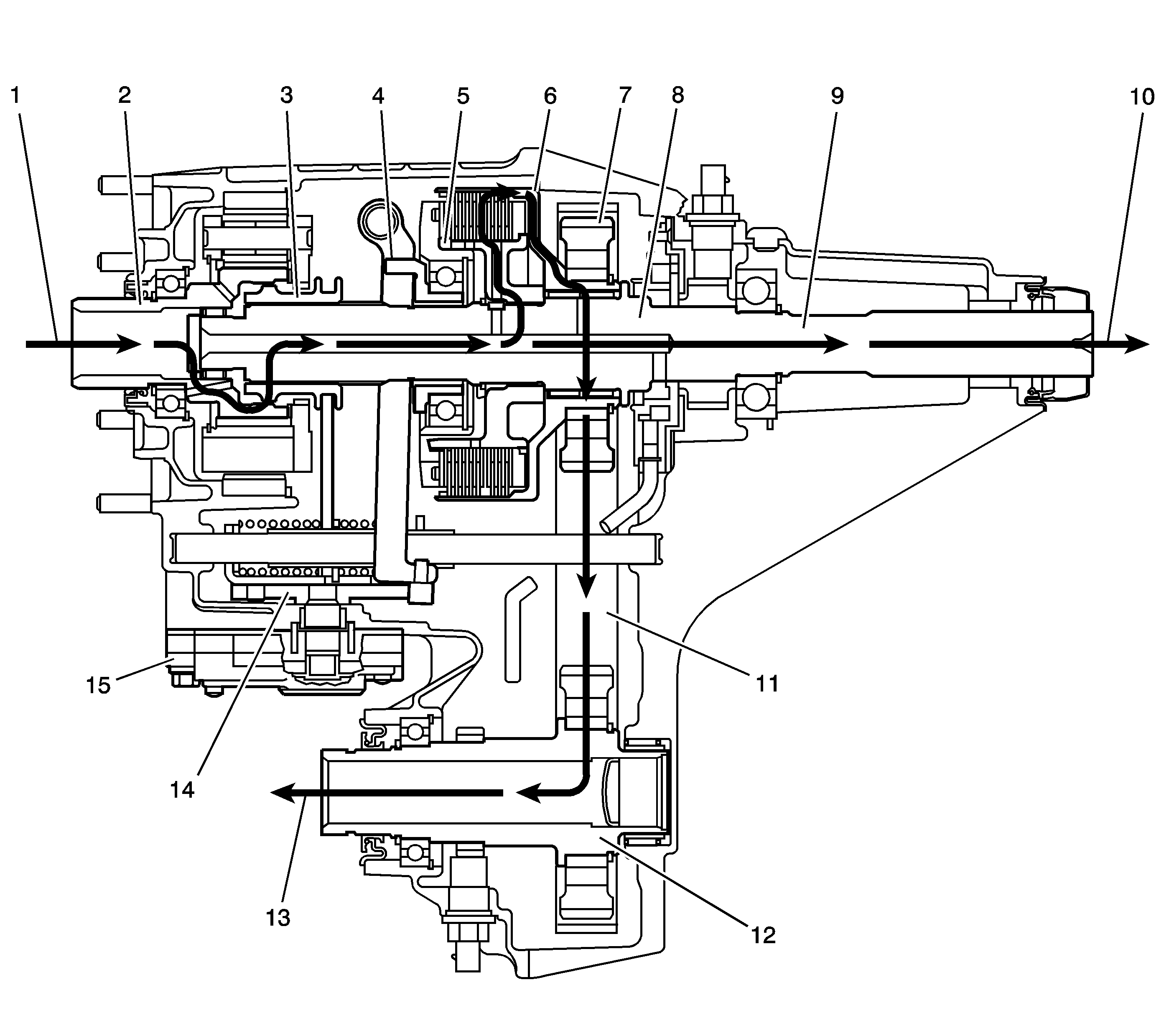
When the NVG 246 EAU is in the 2HI mode, the power flows from the transmission (1) to the input shaft gear (2). The input shaft gear (2) is connected to the rear output shaft (4) by the high/low range collar (3). The range collar (3) outer teeth are engaged with the input shaft gear (2) inner, high-speed position teeth. At the same time the range collar is slip splined to the rear output shaft (4). The rear output shaft (4) delivers the power flow to the rear propshaft (5). The position of the control actuator lever shaft (7) allows no clutch (6) engagement. The high/low range shift fork (8), is in the high-speed position on the control actuator lever shaft (7).

4HI and AWD Power Flow


Object Number: 857333  Size: LF

In the 4HI mode, the power flow to the rear propshaft (10) is the same as it is in the 2HI mode. To deliver power flow to the front propshaft (13) during the 4HI position, the transfer control module commands the encoder motor (15) to apply the clutch to a calibrated torque. The encoder motor (15) turns the control actuator lever shaft (14). A brake in the encoder motor (15) holds the control actuator lever shaft (14) in the full clutch position. The control actuator lever shaft (14) is cam designed and the cam action moves the clutch lever (4). The clutch lever (4) pivots on the clutch lever pivot studs and moves toward the clutch apply plate, to engage the clutch. As more pressure is applied to the clutch apply plate, the clutch discs are compressed. Using inner clutch discs, which are engaged with the clutch hub (5), and the outer clutch discs, which are engaged with the clutch housing (6), the power flow is delivered to the clutch housing (6). The clutch hub (5) is splined to the rear output shaft (9), and the clutch housing (6) rotates on a needle bearing on the rear output shaft (9). The chain drive sprocket (7) is splined to the clutch housing (6). The power flows from the drive sprocket (7), through the chain (11), to the chain driven sprocket. The driven sprocket is splined to the front output shaft (12). The power flow is delivered to the front propshaft (13) through the front output shaft (12).

During the Auto 4WD mode, the power flow is the same as it is in the 4HI mode. Except, during the Auto 4WD mode, the encoder motor (15) rotates the control actuator shaft lever (14) to the correct torque level positions. Rotating the control actuator (14) to the various positions changes the clutch torque level. When a difference of front propshaft (13) to rear propshaft (10) speed is recognized, the transfer case control modules command for more, or less clutch torque.

4LO Power Flow


Object Number: 857335  Size: LF

When shifting the transfer case to the 4LO mode, it commands the encoder motor (9) to turn the control actuator lever shaft (8), to move the high/low range shift fork (10). The shift fork (10) moves the high/low range collar (6), which is slip splined on the rear output shaft (7) toward the rear of the transfer case. The range collar (6) outer teeth disengage from the input shaft gear (2) inner teeth. The range collar (6) outer teeth then engage in the planetary carrier (5) teeth. The power flow is now from the input shaft gear (2) planetary teeth to the planetary gears (3) in the carrier. Rotating the planetary gears (3), which are engaged in the annulus gear (4), the planetary carrier (5) rotates. The planetary carrier (5) engaged to the range collar (6), drives the rear output shaft (7), providing a 2.72:1 reduction to the speed of the rear output shaft (7). The power flow to the front propshaft is the same as it is in the 4HI.

A neutral position is obtained when the range collar (6) is not engaged to the input shaft gear (2) or the planetary carrier (5). Neutral position is used for towing the vehicle.

Service 4WD Indicator

The Service 4WD indicator is an integral part of the cluster and cannot be serviced separately. This lamp is used to inform the driver of the vehicle that a transfer case system malfunctioned. The Service 4WD indicator is controlled by the transfer case shift control module via Class 2.

Transfer Case Encoder

The encoder is mounted to the transfer case motor/encoder assembly and is replaced as an assembly. The encoder converts the shift detent lever shaft position, representing a mode or range, into an electrical signal input to the transfer case shift control module. The module detects what position the transfer case is in by monitoring the voltage returned on the encoder signal circuit. This voltage translates into AUTO 4WD, 2HI, 4HI, NEUTRAL, and 4LO or in transition between gears.

Transfer Case Motor/Encoder


Object Number: 1385731  Size: SH

The transfer case motor/encoder consists of a permanent magnet (PM) DC motor and gear reduction assembly. It is located on the left hand side, driver's side, of the transfer case. When activated, it turns the shift detent lever shaft of the transfer case, clockwise or counterclockwise, to shift the transfer case. The motor/encoder is controlled with a pulse width modulated (PWM) signal by the transfer case shift control module. This circuit consists of a driver on both the Motor A and Motor B circuits. The encoder motor is bi-directional in order to allow the motor to shift the transfer case from 2HI or 4HI to NEUTRAL and 4LO positions.

Transfer Case Motor Lock

The transfer case motor lock is used to provide a 2HI, 4HI, and 4LO lock-up feature. When the lock circuit is energized, the transfer case encoder motor is allowed to turn. When the transfer case is placed 2HI, 4HI, or 4LO the motor lock circuit is de-energized and the lock is applied. This assures that the transfer case remains in the current gear position until a new gear position is requested. When AUTO is selected, the motor lock remains applied until an adaptive mode, torque being applied to the front propshaft, is required. During an adaptive mode the motor lock circuit is energized and the motor lock is released, enabling the encoder motor to turn and apply or release torque at the front propshaft.

Transfer Case Shift Control Module


Object Number: 1385655  Size: SH

The transfer case shift control module uses the VIN information for calculations that are required for the different calibrations used based on axle ratio, transmission, tire size, and engine. The system does not know which calibration to use without this information. When the vehicle is in the AWD mode, the transfer case shift control module monitors the speed of the front and rear propshaft, in order to detect wheel slippage. When wheel slippage is detected, the module applies a clutch pack contained inside the transfer case. This clutch pack is used to lock-in and apply the front propshaft, transferring torque to the front wheels. The clutch pack is applied by a motor/encoder assembly. When slip is no longer detected by the transfer case shift control module, the clutch is no longer applied.

Transfer Case Speed Sensors

There are three speed sensors on the automatic transfer case (ATC), two on the rear output shaft and one on the front output shaft. Each speed sensor is a permanent magnet (PM) generator. The PM generator produces a pulsing AC voltage. The AC voltage level and number of pulses increases as speed increases.

Vehicle Speed Sensor - One of the two speed sensors on the rear output shaft is the vehicle speed sensor (VSS) input to the powertrain control module (PCM). The PCM sends this information to the transfer case shift control module via the Class 2 serial data bus.

Rear Propshaft Speed Sensor - The transfer case shift control module converts the pulsating AC voltage from the rear transfer case speed sensor to a rear propshaft speed in RPM to be used for calculations. The rear propshaft speed can be displayed with a scan tool.

Front Propshaft Speed Sensor - The transfer case shift control module converts the pulsating AC voltage from the front transfer case speed sensor to front propshaft speed in RPM to be used for calculations, and to monitor the difference between the front and rear sensor speed. It is also used in the AUTO, Adapt, mode to determine the amount of slip and the percent of torque to apply to the front axle. The front propshaft speed can be displayed with a scan tool.