GM Service Manual Online
For 1990-2009 cars only

Rear Brake Caliper Bracket Replacement W/NYS

Caution: Refer to Brake Dust Caution in the Preface section.

Removal Procedure

  1. Raise and suitably support the vehicle. Refer to Lifting and Jacking the Vehicle in General Information.
  2. Remove the tire and wheel assembly. Refer to Tire and Wheel Removal and Installation in Tires and Wheels.

  3. Object Number: 791619  Size: SH
  4. Remove the nut and the bolt from the quarter shaft shield.
  5. Remove the shield.

  6. Object Number: 789159  Size: SH
  7. Remove the 2 brake caliper mounting bolts.
  8. Notice: Support the brake caliper with heavy mechanic wire, or equivalent, whenever it is separated from its mount and the hydraulic flexible brake hose is still connected. Failure to support the caliper in this manner will cause the flexible brake hose to bear the weight of the caliper, which may cause damage to the brake hose and in turn may cause a brake fluid leak.

  9. Remove the brake caliper and support with heavy mechanic's wire or equivalent. DO NOT disconnect the hydraulic brake hose from the brake caliper.

  10. Object Number: 789156  Size: SH
  11. Remove the 2 brake caliper mounting bracket bolts.

  12. Object Number: 369668  Size: SH
  13. Remove the disc brake pads from the brake caliper mounting bracket.
  14. Remove the anti-rattle clips from the brake caliper mounting bracket.

Installation Procedure


    Object Number: 369668  Size: SH
  1. Install the anti-rattle clips to the brake caliper mounting bracket.
  2. Install the disc brake pads to the brake caliper mounting bracket.

  3. Object Number: 789156  Size: SH
  4. Perform the following procedure before installing the 2 brake caliper mounting bracket bolts.
  5. • Remove all traces of the original adhesive patch.
    • Clean the threads of the bolts with brake parts cleaner or the equivalent and allow to dry.
    • Apply Threadlocker GM P/N 12345493 (Canadian P/N 10953488) to the threads of the bolts.

    Notice: Use the correct fastener in the correct location. Replacement fasteners must be the correct part number for that application. Fasteners requiring replacement or fasteners requiring the use of thread locking compound or sealant are identified in the service procedure. Do not use paints, lubricants, or corrosion inhibitors on fasteners or fastener joint surfaces unless specified. These coatings affect fastener torque and joint clamping force and may damage the fastener. Use the correct tightening sequence and specifications when installing fasteners in order to avoid damage to parts and systems.

  6. Install the brake caliper mounting bracket and the 2 brake caliper mounting bracket bolts.
  7. Tighten
    Tighten the 2 brake caliper mounting bracket bolts to 200 N·m (148 lb ft).


    Object Number: 789159  Size: SH
  8. Perform the following procedure before installing the 2 brake caliper mounting bolts.
  9. • Remove all traces of the original adhesive patch.
    • Clean the threads of the bolts with brake parts cleaner or the equivalent and allow to dry.
    • Apply Threadlocker GM P/N 12345493 (Canadian P/N 10953488) to the threads of the bolts.
  10. Install the brake caliper to the brake caliper mounting bracket.
  11. Notice: Use the correct fastener in the correct location. Replacement fasteners must be the correct part number for that application. Fasteners requiring replacement or fasteners requiring the use of thread locking compound or sealant are identified in the service procedure. Do not use paints, lubricants, or corrosion inhibitors on fasteners or fastener joint surfaces unless specified. These coatings affect fastener torque and joint clamping force and may damage the fastener. Use the correct tightening sequence and specifications when installing fasteners in order to avoid damage to parts and systems.

  12. Install the 2 brake caliper mounting bolts.
  13. Tighten
    Tighten the 2 brake caliper mounting bolts to 42 N·m (31 lb ft).


    Object Number: 791619  Size: SH
  14. Install the quarter shaft shield.
  15. Install the quarter shaft shield nut and the bolt.
  16. Tighten
    Tighten the quarter shaft shield nut and the bolt to 25 N·m (18 lb ft).

  17. Install the tire and wheel assembly. Refer to Tire and Wheel Removal and Installation in Tires and Wheels.
  18. Lower the vehicle.
  19. With the engine OFF gradually apply the brake pedal to approximately 2/3 of it's travel distance.
  20. Slowly release the brake pedal.
  21. Wait 15 seconds then repeat steps 13, 14 and 15 until a firm pedal is obtained. This will properly seat the brake caliper pistons and brake pads.

Rear Brake Caliper Bracket Replacement W/O NYS

Removal Procedure

Caution: Refer to Brake Dust Caution in the Preface section.

    Notice: Support the brake caliper with heavy mechanic wire, or equivalent, whenever it is separated from its mount and the hydraulic flexible brake hose is still connected. Failure to support the caliper in this manner will cause the flexible brake hose to bear the weight of the caliper, which may cause damage to the brake hose and in turn may cause a brake fluid leak.

  1. Remove the caliper from the mounting bracket and support the caliper with heavy mechanic's wire or equivalent. DO NOT disconnect the hydraulic brake flexible hose from the caliper. Refer to Front Brake Caliper Replacement .

  2. Object Number: 369668  Size: SH
  3. Remove the brake pads.
  4. Remove the anti-rattle clips from the brake caliper bracket.

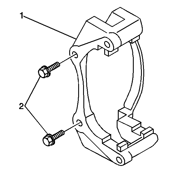
  5. Object Number: 794150  Size: SH
  6. Remove the brake caliper bracket mounting bolts (2).
  7. Remove the brake caliper bracket (1).
  8. Remove any contaminants or foreign material from the inside ends of the brake caliper bracket.
  9. Clean the mounting surface and threads of the brake caliper bracket.

Installation Procedure


    Object Number: 794150  Size: SH
  1. Install the brake caliper bracket (1).
  2. Perform the following procedure before installing the brake caliper bracket mounting bolts.
  3. • Remove all traces of the original adhesive patch.
    • Clean the threads of the bolt with denatured alcohol or equivalent and allow to dry.
    • Apply Threadlocker GM P/N 12345493 (Canadian P/N 10953488) to the threads of the bolt.

    Notice: Use the correct fastener in the correct location. Replacement fasteners must be the correct part number for that application. Fasteners requiring replacement or fasteners requiring the use of thread locking compound or sealant are identified in the service procedure. Do not use paints, lubricants, or corrosion inhibitors on fasteners or fastener joint surfaces unless specified. These coatings affect fastener torque and joint clamping force and may damage the fastener. Use the correct tightening sequence and specifications when installing fasteners in order to avoid damage to parts and systems.

  4. Install the caliper bracket mounting bolts (2).
  5. Tighten

        • For vehicles equipped with JC5/JH5 brake systems, tighten the caliper bracket mounting bolts to 200 N·m (148 lb ft).
        • For vehicles equipped with JH6 brake systems, tighten the caliper bracket mounting bolts to 165 N·m (122 lb ft).

    Object Number: 369668  Size: SH
  6. Install the anti-rattle clips to the brake caliper bracket.
  7. Install the brake pads to the brake caliper bracket.
  8. Slide the brake pads in until they contact the rotor.
  9. Install the brake caliper. Refer to Front Brake Caliper Replacement .
  10. Install the tire and wheel assembly. Refer to Tire and Wheel Removal and Installation in Tires and Wheels.
  11. Lower the vehicle.
  12. With the engine OFF, gradually apply the brake pedal to approximately 2/3 of its travel distance.
  13. Slowly release the brake pedal.
  14. Wait 15 seconds, then repeat steps 7-8 until a firm pedal is obtained. This will properly seat the brake caliper pistons and brake pads.