GM Service Manual Online
For 1990-2009 cars only
Figure 1:

Speaker-RF Door


Object Number: 851249  Size: LF
(1)Door-RF
(2)Speaker-RF Door
(3)Speaker-RF Door Connector
Figure 2:

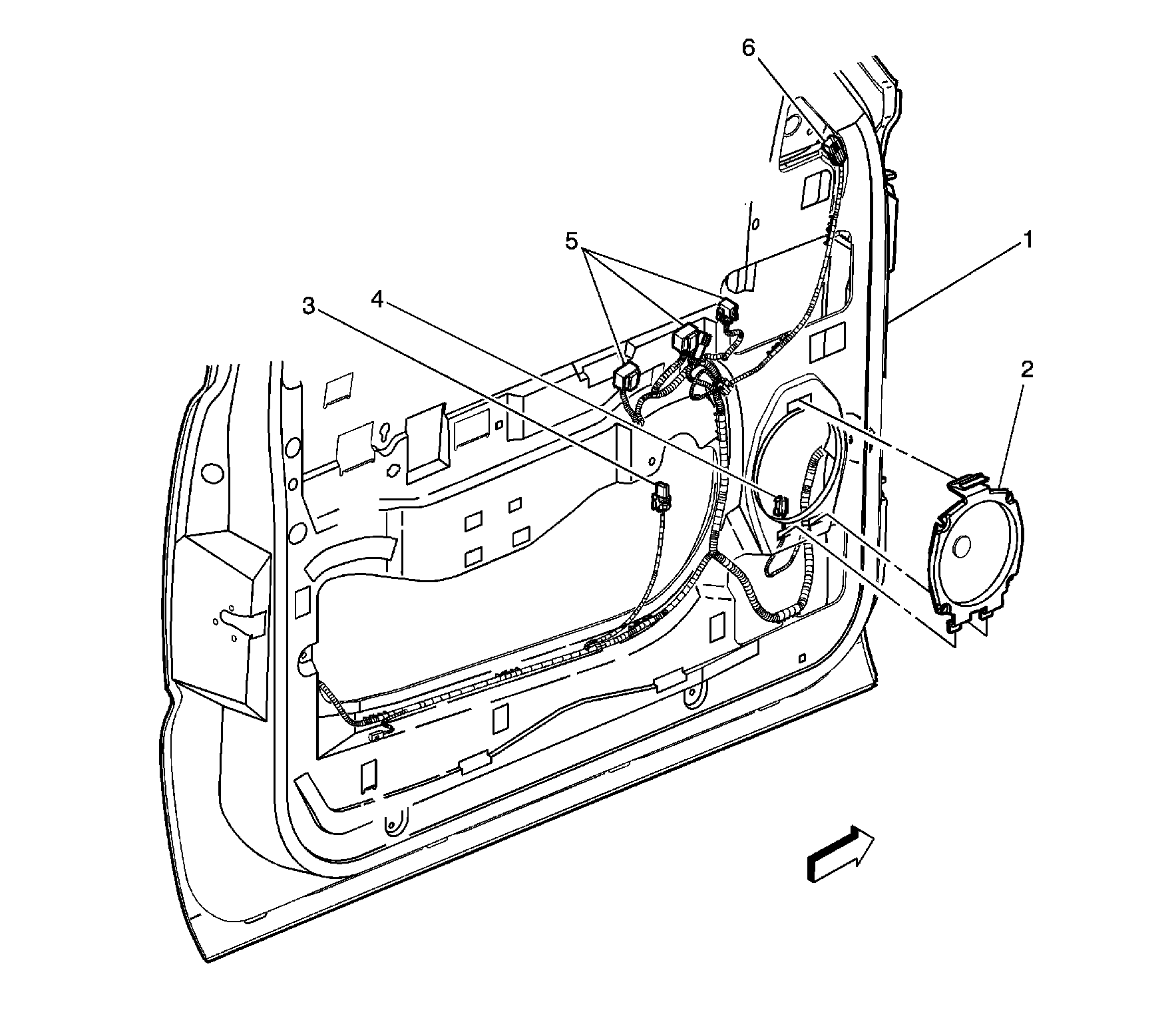
Speaker-LF Door


Object Number: 851251  Size: LF
(1)Door-LF
(2)Speaker-LF Door
(3)Window Motor-Driver Connector
(4)Speaker-LF Door Connector
(5)Driver Door Module (DDM) Connectors
(6)Outside Rearview Mirror-Left Connector
Figure 3:

Speaker-LF Tweeter (RF Similar)


Object Number: 851254  Size: LF
(1)Left A-Pillar Trim Panel
(2)Speaker-LF Tweeter
(3)Speaker-LF Tweeter Connector
Figure 4:

Speaker-LR Door (RR Similar)


Object Number: 851258  Size: LF
(1)Door-LR
(2)Window Motor-LR
(3)Speaker-LR
Figure 5:

Speaker-Left D-Pillar (Right Similar)


Object Number: 851263  Size: LF
(1)Left D-Pillar
(2)Speaker-Left D-Pillar
Figure 6:

Radio (UB7 w/Y91 Shown, Others Similar)


Object Number: 851267  Size: LF
(1)Radio Connectors
(2)Radio Antenna
(3)Instrument Panel
(4)HVAC Control Module
(5)Radio
(6)HVAC Control Module Connectors
Figure 7:

Splice Pack SP250 (UQ7)


Object Number: 1170964  Size: LF
(1)Instrument Panel
(2)C202
(3)SP250
Figure 8:

Rear of Center Console


Object Number: 851270  Size: LF
(1)Center Console
(2)Rear Seat Audio (RSA)/Rear HVAC Controller
(3)Auxiliary Power Outlet-Console
Figure 9:

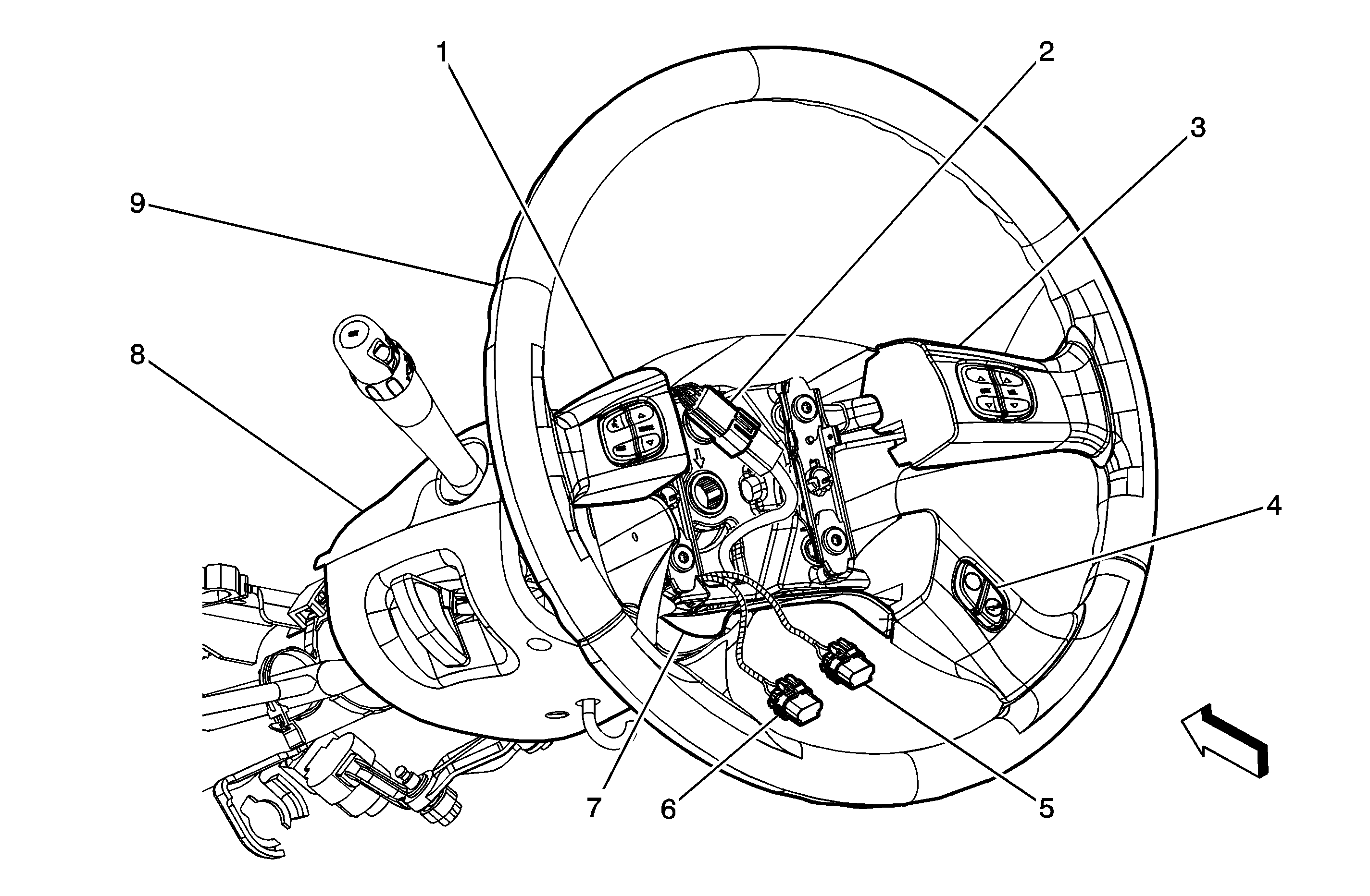
Steering Wheel


Object Number: 851273  Size: LF
(1)Steering Wheel Audio Controls-Left
(2)Inflatable Restraint Steering Wheel Module - C4
(3)Steering Wheel Audio Controls-Right
(4)Steering Wheel Driver Information Center (DIC) Controls-Right
(5)Inflatable Restraint Steering Wheel Module - C3
(6)Inflatable Restraint Steering Wheel Module - C2
(7)Steering Wheel Driver Information Center (DIC) Controls-Left
(8)Steering Column
(9)Steering Wheel
Figure 10:

Remote Playback Device-CD Player


Object Number: 851274  Size: MF
(1)Lower I/P Bezel
(2)Remote Playback Device-CD Player
Figure 11:

Digital Radio Receiver


Object Number: 851276  Size: LF
(1)Right Side of Instrument Panel
(2)Digital Radio Receiver
(3)Digital Radio Receiver Connector
Figure 12:

Rear Seat Entertainment (RSE) Assembly


Object Number: 851278  Size: LF
(1)Headliner
(2)Rear Seat Entertainment (RSE) Assembly
(3)Rear Seat Entertainment (RSE) Display
(4)Intermediate Bracket
(5)Fir Tree Retainer
Figure 13:

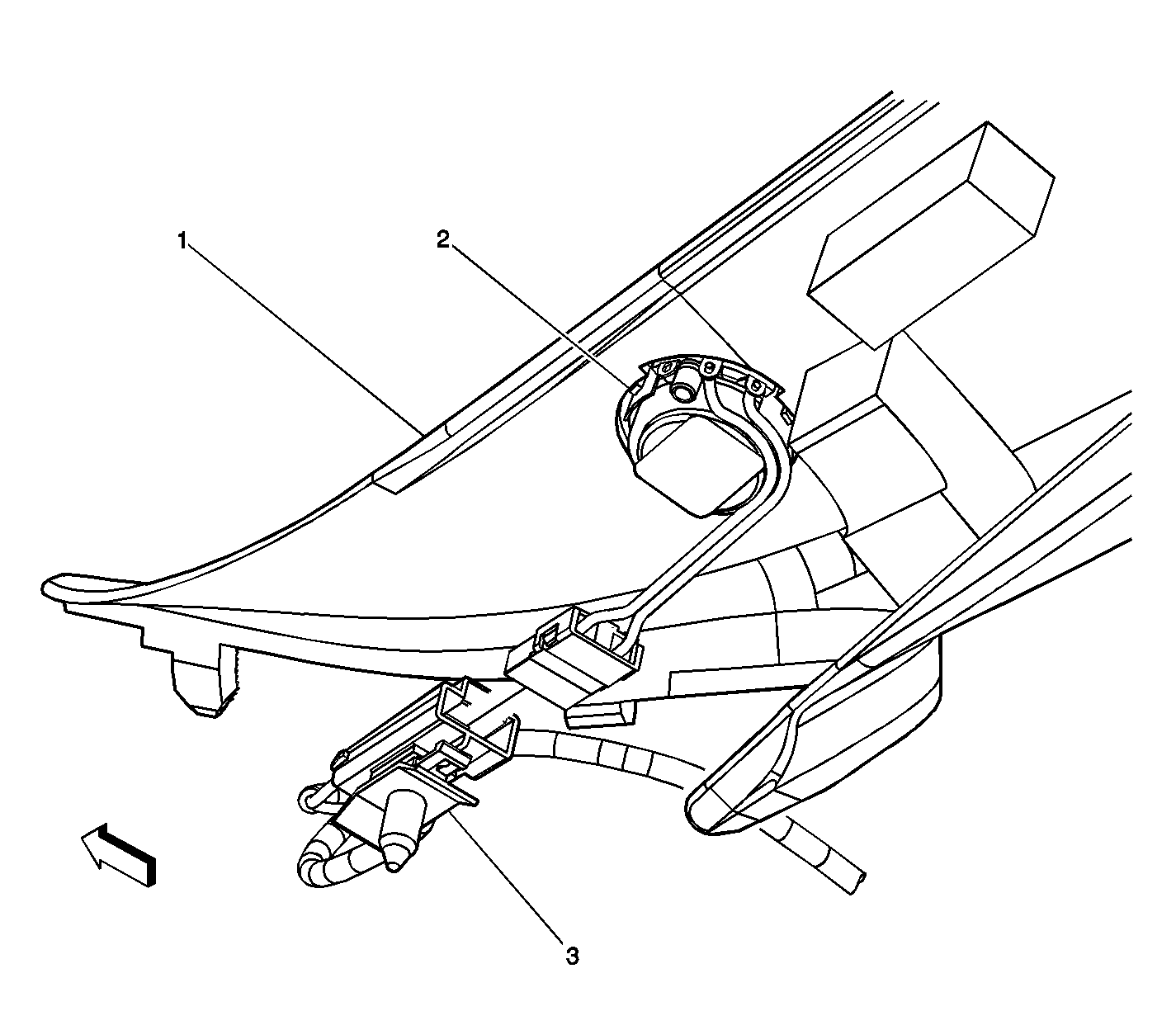
Instrument Panel-RH Rear


Object Number: 851281  Size: LF
(1)Right Top of Instrument Panel
(2)Windshield Defogger Duct
(3)C230
(4)Radio Antenna Module Connector
(5)Speaker-RF Tweeter Connector
(6)Antenna Coax Connector