GM Service Manual Online
For 1990-2009 cars only
Figure 1:

Cargo Lamps (Avalanche/Escalade EXT)


Object Number: 781680  Size: MF
(1)Cargo Lamp Harness
(2)Cargo Lamp Harness Connector
(3)Cargo Box/Stowage Box
(4)Cargo Lamp
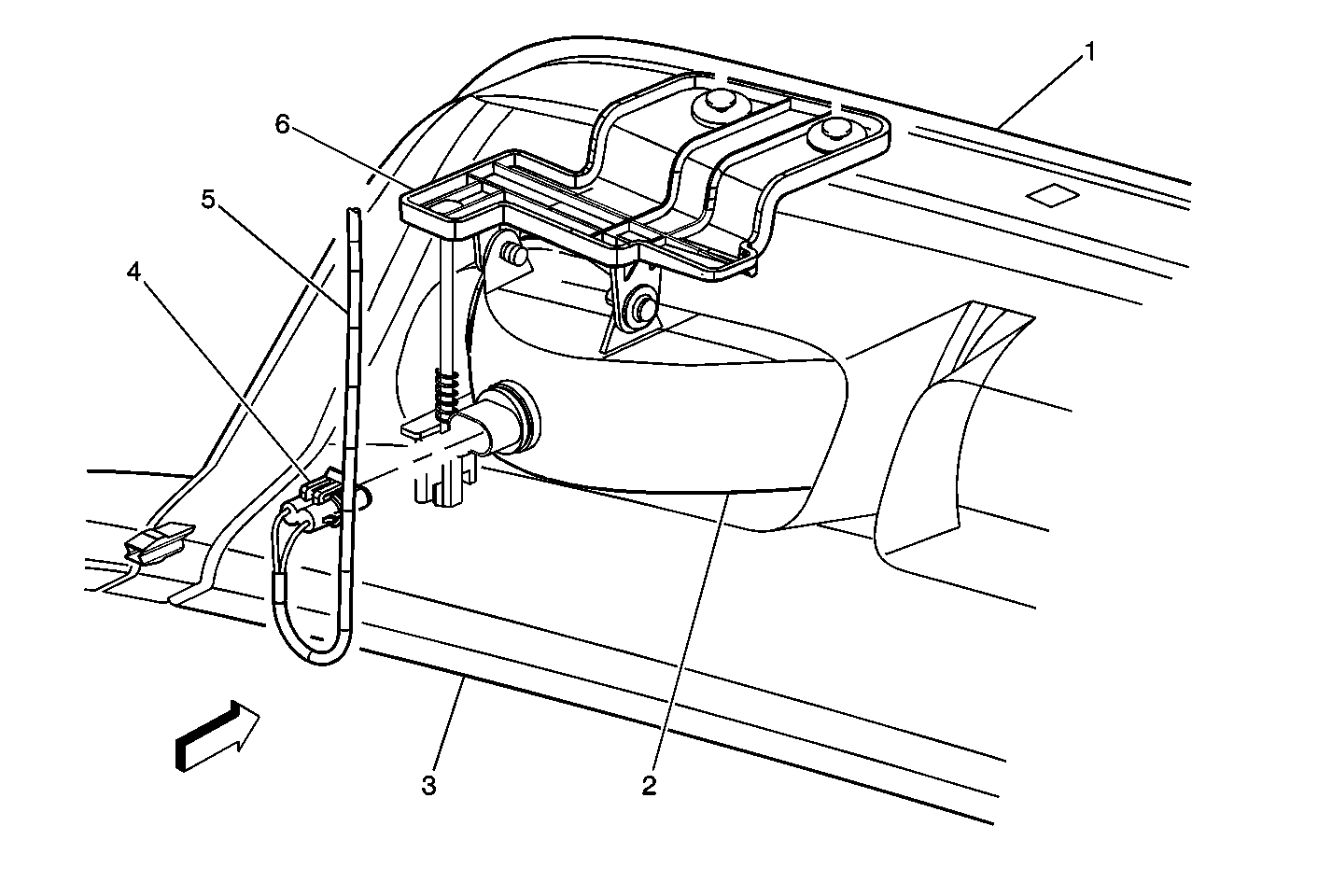
Figure 2:

Hood


Object Number: 310026  Size: MF
(1)Hood
(2)Hood Reinforcement
(3)Underhood Lamp Assembly Electrical Connector
(4)Underhood Lamp Assembly
(4)Underhood Lamp Assembly
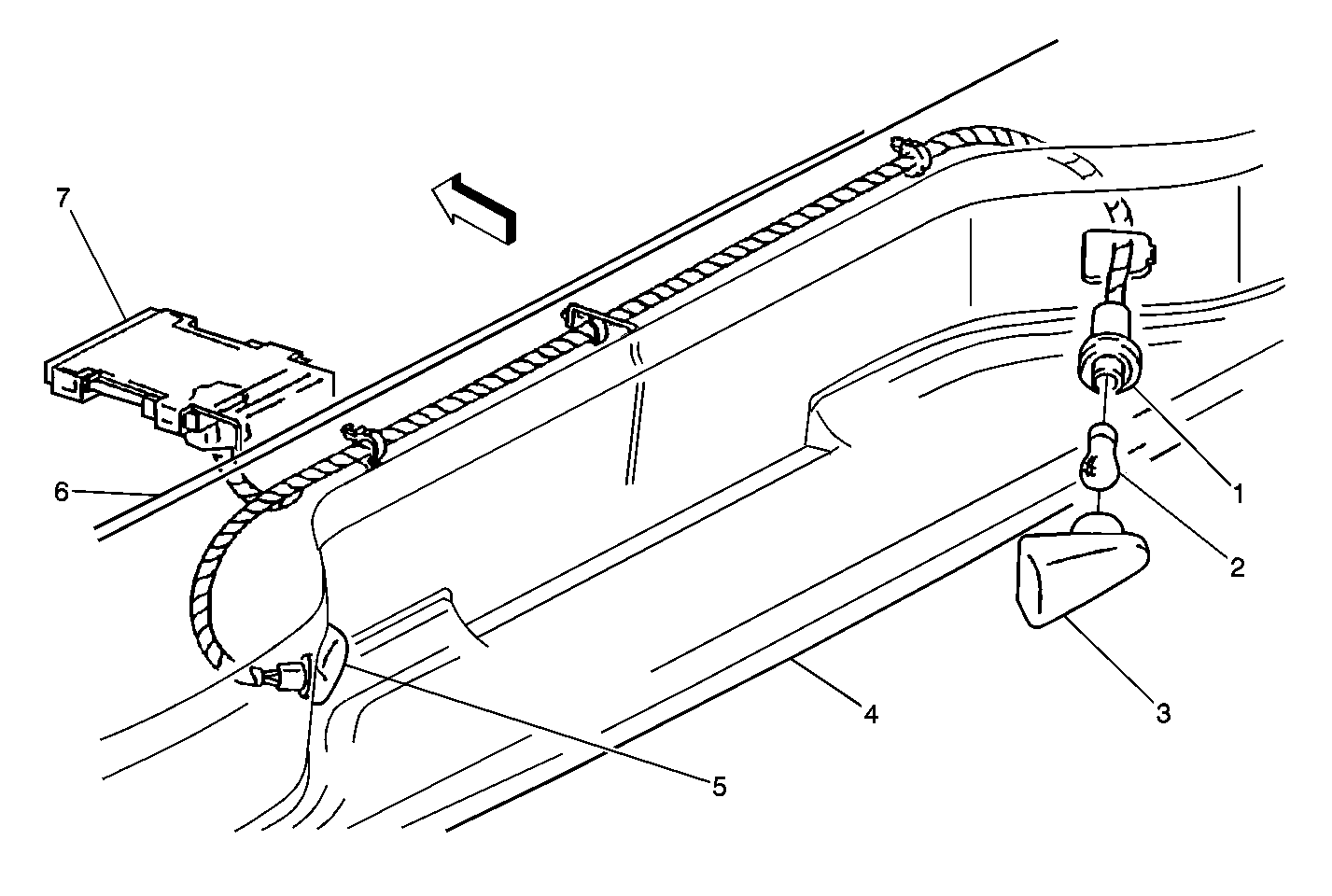
Figure 3:

Roof Marker and Clearance Lamps


Object Number: 762107  Size: MF
(1)Roof Marker Lamp and Harness - Right
(2)Roof Marker Lamp and Harness - Left
(3)Clearance Lamps and Harness
Figure 4:

Junction Block -- Rear Lamps


Object Number: 764894  Size: MF
(1)Frame
(2)Junction Block - Rear Lamps
(3)Junction Block Mounting Bracket
Figure 5:

LF Corner of the Bumper


Object Number: 350006  Size: MF
(1)Bumper
(2)Fog Lamp - LF
(3)Air Deflector
(4)Fog Lamp - LF Connector
(5)Fog Lamp Harness
(6)Fog Lamp Bracket (Part of Fog Lamp)
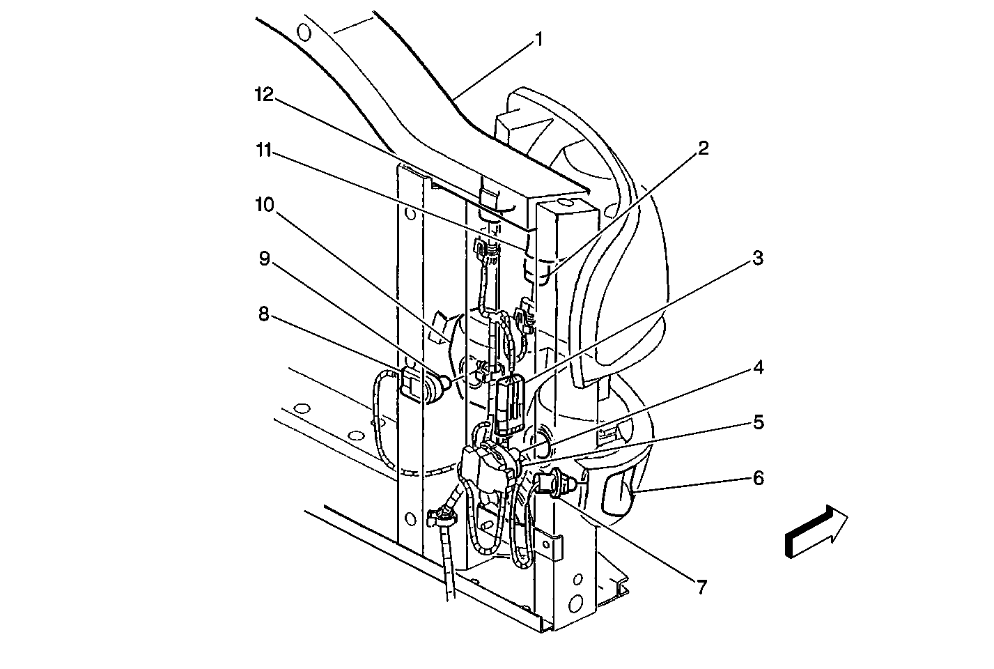
Figure 6:

RF Corner of the Vehicle -- Lighting Components


Object Number: 310805  Size: MF
(1)Upper Radiator Support - Tie Bar
(2)Headlamp-Low Beam - Right
(3)Snowplow - Option - Connector C127
(4)Park/Turn Signal Lamp - RF
(5)Park/Turn Signal Socket - RF
(6)Park/Turn Signal Lens - RF
(7)Marker Lamp Socket - RH
(8)Daytime Running Lamp (DRL) Socket - RH
(9)DRL Lamp - RH
(10)DRL Lens - RH
(11)Headlamp Assembly - Right
(12)Headlamp-High Beam - Right
Figure 7:

LF Corner of the Vehicle -- Lighting Components


Object Number: 310802  Size: MF
(1)Upper Radiator Support - Tie Bar
(2)Headlamp Assembly-LF
(3)Headlamp-High Beam Connector-LF
(4)Daytime Running Lamp (DRL)-LF
(5)DRL Socket-LF
(6)Windshield Washer Reservoir
(7)Park/Turn Signal Lamp Socket-LF
(8)Marker Socket-LF
(9)Marker Lamp-LF
(10)Park/Turn Signal Lamp-LF
(11)Snowplow - Option - Connector C125
(12)Headlamp-Low Beam Connector-LF
(13)Marker Lens-LF
Figure 8:

Sunload Sensor Assembly


Object Number: 310130  Size: MF
(1)Instrument Panel Bracket
(2)Sunload Sensor Harness
(3)Sunload Sensor Connector
(4)Sunload Sensor Assembly
(5)Instrument Panel
Figure 9:

Center Rear of the Roof (Pickup)


Object Number: 350025  Size: MF
(1)Center High Mounted Stop Lamp (CHMSL)
(2)CHMSL Connector
(3)Roof
Figure 10:

Steering Column Components


Object Number: 349986  Size: LF
(1)Hazard Button
(2)High Beams/Cruise/Wiper/Washer
(3)Cruise Control Switches
(4)Tilt Steering Actuator
(5)Inflatable Restraint Harness
(6)C201 Inline Connector
Figure 11:

Left Side of the I/P -- Switches


Object Number: 310113  Size: MF
(1)Automatic Transfer Case (ATC) Electrical Connector
(2)Automatic Transfer Case (ATC) Electrical Connector
(3)Automatic Transfer Case (ATC) Select Switch
(4)Cargo/Fog Lamp Switch
(5)Headlamp and Panel Dimmer Switch
(6)Instrument Panel
(7)Headlamp and Panel Dimmer Switch Electrical Connector
(8)Cargo/Fog Lamp Switch Electrical Connector
Figure 12:

Lower Left Side of the I/P Components


Object Number: 310145  Size: MF
(1)Fuse Block-Left I/P Connector
(2)Body Control Module (BCM) Connectors
(3)Splice Pack SP205
(4)Fuse Block-Left I/P
(5)Data Link Connector (DLC)
(6)Courtesy Lamp-Left
(7)Courtesy Lamp Socket-Left
(8)Support to Dash-Left
(9)Right Windshield Pillar Trim Panel
Figure 13:

Center of the I/P -- Accessory Switches


Object Number: 350001  Size: LF
(1)Fog Lamp Switch
(2)Roof Beacon Switch
(2)Roof Beacon Switch
(3)Accessory Switch Housing
(3)Accessory Switch Housing
(4)Instrument Panel
Figure 14:

Lower Center of the I/P Components


Object Number: 310152  Size: MF
(1)Ashtray Lamp Socket
(2)Bulb
(3)Ashtray Lamp Shield
(4)Instrument Panel
(5)Accessory Power Outlet
(6)Cigar Lighter Assembly
Figure 15:

Instrument Panel Compartment Lamp


Object Number: 350014  Size: MF
(1)Instrument Panel
(2)Instrument Panel Compartment Lamp and Switch
Figure 16:

Driver Door Panel Components -- Courtesy Lamp


Object Number: 350018  Size: MF
(1)Door Courtesy Lamp Electrical Connector
(2)Door Courtesy Lamp
(3)Left Door
Figure 17:

Overhead Console


Object Number: 350007  Size: MF
(1)Headliner
(2)Overhead Console
(3)Overhead Console Electrical Connector
(4)Headliner Harness Electrical Connector
Figure 18:

Rear Bumper (Utility)


Object Number: 623140  Size: MF
(1)Rear Bumper
(2)Tail Lamp Jumper Harness
(3)Junction Block Connector C3
(4)License Plate Lamp-RH (LH similar)
Figure 19:

License Lamps


Object Number: 309881  Size: MF
(1)Lamp Socket
(2)Bulb
(3)RH License Lamp
(4)Bumper
(5)LH License Lamp
(6)Rear Cross Sill
(7)Rear Lamps Bussing Block
Figure 20:

Trailer Wiring Harness


Object Number: 349960  Size: MF
(1)Trailer Wiring Connector
(2)Trailer Wiring Receptacle
(3)Frame
(4)Trailer Hitch Receiver